124198 (689908), страница 3
Текст из файла (страница 3)
(2.31)
где α - коэффициент, учитывающий дополнительный нагрев двигателей при выполнении маневров (α=1,3 - для контактных электровозов).
(2.32)
Длительный ток электровоза определяем по его технической характеристике Iдл=122А, т.к. Iэф < Iдл, следовательно, оставляем в составе 7 вагонеток.
Длина разминовки
(2.33)
Вывод: в результате расчетов принимаем наименьшее значение массы груженого поезда исходя из условии четырех проверок
2.3.2 Эксплуатационный расчет
Число рейсов одного электровоза в смену
(2.34)
где kэ - коэффициент, учитывающий время подготовки электровоза к эксплуатации (kэ=0,8 - для контактных электровозов)[1,стр181].
Число рейсов в смену необходимое для вывоза горной массы при суммарной сменной производительности
, (2.35)
где kн - коэффициент неравномерности работы поступления груза (kн=1,25 - при наличии аккумулирующей емкости)[1,стр181]; nл, nм - число рейсов на одно крыло соответственно с людьми и вспомогательными материалами, (nл=2, nм=2).
рейсов
Число электровозов необходимых для работы
электровозов (2.36)
Инвентарное число электровозов
Nи=Nр+Nрез,
где Nрез - число резервных электровозов, (Nрез=2 при Nр=5).
Nи=7+2=9 электровозов (2.37)
Сменная производительность одного электровоза
1313,5 (т·км) (2.38)
Необходимое число вагонеток
zв.п.=1,25·z·Np+zв.м., (2.39)
где zв.м - число вагонеток, транспортирующих вспомогательные материалы, (zв.м=4).
zв.п.=1,25·7·7+4 = 66 вагонеток
Расход энергии на электровозный транспорт
Расход энергии за один рейс, отнесенный к колесам электровоза
, МДж (2.40)
Расход электровозом энергии за 1 рейс, отнесенный к шинам подстанции
(2.41)
где ηэ - КПД электровоза (ηэ=0,6); ηс - КПД тяговой сети (ηс=0,95); ηп - КПД подстанции (ηп=0,93)[1,стр181].
Удельный расход энергии на шинах подстанции за смену, отнесенный к 1 т·км транспортируемого груза
(2.42)
Общий расход энергии за смену
(2.43)
Коэффициент одновременности
(2.44)
Средний ток
(2.45)
Потребная мощность подстанции
(2.46)
где U - напряжение сети, В.
Максимально допустимую длину участка по одну сторону от тяговой подстанции определяют по условиям падения напряжения
(2.47)
где ΔU - допустимое падение напряжения в контактной сети, которое при наибольшей нагрузке не должно превышать 15-20%, В (ΔU = 0,2·220=44В);
- среднее сопротивление контактного провода и рельсовых путей , Ом/м (Rср = 0,105+0,028=0,133 Ом/м).
Т.к. Lу < Lг, следовательно, необходимо проложить усиливающий кабель от тяговой подстанции на 1/2 длины(1,8 км) откаточного участка. Усиливающий кабель присоединяется к контактной сети через каждые 200-300 м.[1,стр182]
2.3.3 График организации движения
Приведем организацию движения электровозов на первом участке рудника. Где число рабочих электровозов примем, Np = 2. Применим организацию движения с закреплением электровоза за определенным составом, электровоз протягивает состав в процессе погрузки и разгрузки. При такой организации движения упрощается диспетчерское управление.
График организации движения электровозов приведена на рис. 2.5
Рис.2.6. График организации движения электровозной откатки
2.4 Ленточный конвейер
Часовая производительность конвейера
(2.48)
где tсм - продолжительность смены, ч; kи - коэффициент использования конвейера, (kи=0,9).
Необходимая ширина ленты конвейера[1,стр 272 ]
(2.49)
где kп - коэффициент производительности, (kп =550 при δ = 200, φд=200);[1,таб.15.4]kв - коэффициент снижения площади поперечного сечения горной массы на ленте в зависимости от угла наклона конвейера, (kв=1 - при 0 угле наклона конвейера)[1,стр271]; k1 - коэффициент, учитывающий условия эксплуатации, (k1=1 - для стационарных установок); V - скорость движения ленты, м/с (V=2,5м/с)[1,стр271]; γ - насыпная плотность, т/м3.
Проверяем ширину ленты по кусковатости руды
(2.50)
где аmax - наибольший размер куска, мм (аmax=300 мм).
Принимаем ленту шириной 800 мм, которая удовлетворяет требования по кусковатости транспортируемой руды. В=800 мм.[1,стр249,табл15.2]
Масса груза на 1 м конвейера
(2.51)
На конвейере на верхней ветви установлены трехроликовые опоры, при расстоянии между опорами lв=1м, масса вращающихся частей верней роликоопор Gв=22 кг. На нижней ветви установлены однороликовые опоры, lн=2 м, Gн=7,7 кг.
Масса вращающихся частей роликоопор соответственно в верхней и нижней ветви.
(2.52)
Линейная масса резинотросовой ленты 2РТЛО-500 шириной 800 мм, прочность 500H/мм. и массой 20,5 кг/м
qл = В · mл =800·20,5=16,4 кг/м (2.53)
Для определения натяжения и запаса прочности ленты выполним тяговый расчет ленточного конвейера методом обхода контура по точкам с учетом конфигурации трассы и схемы обводки лентой барабана.
5
Р
ис.2.7. Схема ленточного конвейера и его привода.
Сопротивление перемещению груженой ленты на верхней ветви
(2.54)
где Lконв - длина конвейерной ленты, м; g - ускорение свободного падения, м/с2; β - угол наклона конвейерной ленты, (β=0); ω - коэффициент сопротивления движению ленты по роликовому ставу, (ω=0,04).
Сопротивление перемещению порожней ленты на нижней ветви
(2.55)
Составим систему уравнения
(2.56)
Минимальное натяжение ленты у привода на сбегающей ветви по условию её пробуксовки
(2.56)
где kт - коэффициент запаса тяговой способности привода, (kт=1,5); kд - коэффициент, учитывающий перегрузку ленты при пуске и торможении конвейера, (kд = 1); eμα - тяговый фактор привода конвейера (eμα =3,52 - при α=1800 - угол обхвата, футерованный резиной при сухих условиях работы конвейера).
Обычно для горизонтальных конвейеров натяжение у привода S’min=S1=Sсб, а S’max=Sнаб=S4, следовательно,
Решая уравнения получим
S1=1881 Н; S4=4415 Н.
Запас прочности ленты
(2.57)
Мощность привода конвейера
(2.58)
где kзап - коэффициент запаса, (kзап=1,2); η - коэффициент использования электропривода во времени, (η=0,85).
3. Эксплуатационный расчет водоотливной установки
3.1 Технологическая схема водоотлива
Опытом эксплуатации и технико-экономическим сравнением установлено, что одноступенчатая схема является наиболее экономичной. Откачка воды из водосборника на поверхность обеспечивается одним насосным агрегатом.
Рис. 3.1. Схема одноступенчатого водоотлива
3.2 Определение водопритока в шахте
Нормальный суточный водоприток
(3.1)
где kв - коэффициент водообильности; Dк - количество календарных дней в году.
Максимальный суточный приток
(3.2)
где kкр - коэффициент кратности водопритока.
3.3 Производительность насоса
При откачке нормального водопритока
, (3.3)
где Т - нормативное время откачки суточного притока воды в соответствии с правилами безопасности, ч (Т=20 ч - для рудных шахт).
При откачке максимального притока воды
(3.4)
3.4 Определение напора насоса
Расчетный напор насоса
(3.5)
где Нг - геодезическая высота насосной установки, м; Нвс - высота всасывания насоса, м (Нвс = 8м); Нн - высота нагнетания, м (Нн=Нш=480- м); Нсл - высота слива на поверхности, м (Нсл=2м).
Нр=3+480+2=485 м
3.5 Выбор типа и количества насосов
Выбираем центробежный насос по графику зон промышленного использования насосов (Рис.3.2). Насос принимаем по расчетным значениям подачи Qp и напора Нр. Необходимо учитывать, что главные водоотливные установки оборудуются обычно однотипными насосными агрегатами. Это связано с заменами запасных частей насоса. При этом стремятся выбрать насосы таким образом, чтобы расчетные значения обеспечивались одним насосным агрегатом.
При Qp = 347 м3/ч и Нр =485 м, выбираем насос ЦНС- 300-600
Рис. 3.2. Зоны промышленного использования насосов типа ЦНС
Расчетные параметры для дальнейшего расчета выбираются по индивидуальной характеристике насоса при максимальном КПД. Индивидуальная характеристика представлена на рис.3.5. При ηmax=71
%, Qн=380 м3/с; Нр.к.=110 м; Нвс=18м.
Количество колес для обеспечения подачи напора на глубине шахты определяем по выражению
колес (3.6)
Количество насосов для откачки суточного водопритока по нормальному водопритоку
(3.7)
где Qн - производительность насоса, м3/с.
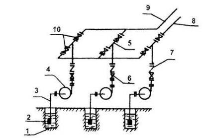
3.6 Обоснование количества нагнетательных ставов и составление гидравлической схемы
Главная водоотливная установка должна быть оборудована не менее чем двумя нагнетательными трубопроводами, один из которых является резервным.
Принимаем кольцевую схему соединения с параллельным включением коммутационных задвижек. В этом случае нагнетательные трубопроводы 8 и 9 соединяются между собой перемычками 5. На каждой перемычке устанавливаются две коммутационные задвижки 10, между которыми через тройники подключаются насосы 4.
Рис. 3.3. Гидравлическая кольцевая схема
3.7 Расчет характеристики внешней сети















