124145 (689861), страница 3
Текст из файла (страница 3)
Выбираем фильтр марки
.
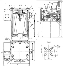
Фильтры сливные типа ФС устанавливаются в расточке крышки гидробака и крепятся четырьмя болтами. В корпусе 2 фильтра, закрытом крышкой 6, установлен фильтроэлемент 3, который пружиной 5 поджимается к седлам 7 и 9 через уплотнительные кольца 8. На седле 7 смонтирован перепускной клапан 4. В корпусе / установлено индикаторное устройство, содержащее нагруженный усилием пружины 15 плунжер 12 с вмонтированным в него магнитом 11, геркон 13 и штепсельный разъем 14. Полость 10 соединена с внутренней полостью / фильтра, а полость 16 — с атмосферой через отверстие 17, поэтому по мере загрязнения фильтроэлемента возрастает усилие, стремящееся сдвинуть плунжер 12 вправо. Когда степень загрязненности фильтроэлемента достигает предельного уровня, плунжер 12 резко смещается вправо, так как после его отхода от конусного седла значительно увеличивается площадь торцовой поверхности, на которую действует входное давление. Одновременно в результате взаимодействия магнита // с герконом 13 в систему управления выдается сигнал о необходимости замены фильтроэлемента. Если нижний торец выходного отверстия // фильтра располагается выше уровня масла в резервуаре, в это отверстие устанавливается сливной трубопровод.
Рис.2 Конструкция сливных фильтров типа ФС Приложение 1
Список используемой литературы
-
Анурьев В.И. Справочник конструктора-машиностроителя: В3-х т. 5-е изд., перераб. и доп.- М.: Машиностроение, 1978.- Т. 3.- 557 с.
-
Гидравлические приводы технологического оборудования машиностроительных производств. Методические указания к расчетно-графической курсовой работе. Симанин Н.А. –Пенз. политехн. ин-т, 1992.
-
Свешников В.К., Усов А.А. Станочные гидроприводы: Справочник.- М.: Машиностроение, 1988.-512 с.
-
Симанин Н.А. Основы расчета и проектирования станочных гидроприводов и систем цикловой гидроавтоматики: Учеб. Пособие. –Пенз. политехн. ин-т, 1992.-88с.
Приложение 1
Перечень элементов принципиальной гидросхемы
| Позиционное обозначение | Наименование | Количество | Примеча ние |
| Б | Гидробак | 1 | V=180 дм3 |
| Р1 | Гидрораспределитель ВЕ16.574Д.41/.В220-50 ГОСТ 24679-81 | 1 | |
| МН | Манометр МПТ-100/1-ВУ-100-2,5 ГОСТ 8625-77 | 1 | |
| Ф1 | Фильтр напорный | 1 | |
| Ф2 | Фильтр сливной | 1 | |
| КД | Клапан давления с обратным клапаном ПБГ 66-34М-УХЛ4 ТУ2-053-1627-83Е | 1 | |
| КП | Клапан предохранительный 20-10-1-132 ТУ2-053-1748-85 | 1 | |
| Н | Насос Г12-54АМ ГОСТ 13167-82 | 1 | |
ЭД | Двигатель трехфазный асинхронный короткозамкнутый 4А132S4УЗ ГОСТ 19523-74 | 1 |
Приложение 2
Переключения управляющих электромагнитов
| Элементы цикла работы гидропривода | ЭМ1 | ЭМ2 | ЭМ3 |
| Исходное положение «Стоп» | + | – | – |
| Рабочая подача | + | – | + |
| Реверс | – | + | + |
| Рабочая подача | – | + | + |
| Реверс | + | – | + |















