124077 (689804), страница 3
Текст из файла (страница 3)
Для контроля посадочных шеек применяется микрометр МК ГОСТ 6507 - 90 и калибр-скоба.
Для контроля отверстий
используется калибр-пробка.
Весь режущий и измерительный инструмент указан в маршрутных и операционных картах механической обработки корпуса.
1.5 Расчет режимов резания
1.5.1 Расчет режимов резания аналитическим методом
Черновое точение
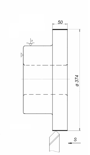
На токарно-винторезном станке модели 16К40П обтачивается поверхность
до
на длину
мм.
Исходный размер заготовки
мм, шероховатость
мкм.
1) Выбираем режущий инструмент.
Резец прямой проходной сечением 32x40мм с пластинкой твердого сплава Т5К10 ГОСТ 18878-90. Геометрические параметры режущей части резца:
;
;
;
;
мм ([5], с. 188).
2) Назначаем режимы резания
Глубина резания
в миллиметрах определяется по формуле
, (2.5)
Рисунок 2.2 – Эскиз обработки
где
– диаметр заготовки, мм;
– диаметр детали, мм
мм.
Обработку производим за два прохода, следовательно,
мм.
Подача
в миллиметрах на оборот.
Для принятых условий обработки рекомендуется ([5], с. 266)
мм/об.
Корректируя по паспортным данным станка, принимаем
мм/об.
Период стойкости резца
в минутах ([5], с. 264)
мин.
Скорость резания
в метрах в минуту определяется
, (2.6)
Для принятых условий обработки ([5], с. 269):
;
;
;
.
Поправочные коэффициенты на измененные условия работы в зависимости от:
-
обрабатываемого материала – сталь
, (2.7)
;
-
состояния поверхности – поковка, обработка по корке ([5], с. 263)
;
-
марки материала пластинки резца – Т5К10 ([5], с. 263)
.
, (2.8)
.
м/мин.
Частота вращения детали
в миллиметрах на оборот определяется по формуле
, (2.9)
мин-1
Корректируя по паспортным данным станка, принимаем
мин-1
Фактическая скорость резания
в метрах в минуту определяется по формуле
, (2.10)
м/мин
Мощность, затрачиваемая на резание
в киловаттах, определяется по формуле
, (2.11)
Сила резания
в ньютонах определяется по формуле
, (2.12)
Для принятых условий обработки ([5], с. 273):
;
;
;
.
Поправочный коэффициент на измененные условий обработки
, (2.14)
.
Н
кВт
Проверяем достаточность мощности привода станка.
Необходимо выполнить условие
, (2.15)
, (2.16)
где
– к.п.д. станка
кВт.
Следовательно, резание возможно, так как
кВт
Основное время
в минутах определяется по формуле
, (2.17)
где
, (2.18)
мм (по чертежу)
мм ;
мм, принимаем
мм.
мин.
1.5.2 Расчет режимов резания по нормативам
При определении режимов резания табличным методом используют нормативные таблицы в зависимости от выбранного типа производства и установленного вида обработки заготовки.
Определение режимов резания статистическим методом ведут следующим образом:
-
устанавливают глубину резания на обрабатываемую поверхность;
-
устанавливают подачи станка, исходя из прочности державки и пластинки из твердого сплава, жесткости станка и характера установки заготовки;
-
определяют скорость резания.
-
определяют частоту вращения шпинделя станка и уточняют ее по паспорту станка;
-
определяют фактическую скорость резания;
-
проверяют режимы резания по мощности станка;
-
определяют технические нормы времени.
Операция 035 Сверлильная с ЧПУ
На сверлильном станке ЧПУ модели 2Р135Ф2-1 сверлят 6 отверстий
мм
мм, шероховатость
мкм. Охлаждение эмульсией.
1 Выбираем режущий инструмент.
Выбираем сверло из быстрорежущей стали с коническим хвостовиком
, Р6М5. Форму заточки принимаем нормальную с подточкой перемычки НП.
Геометрические параметры сверла ([5], с. 250):
;
мм – длина подточной кромки;
мм – вся длина подточки;
;
;
2 Назначаем режим резания
2.1 Устанавливаем глубину резания
в миллиметрах по формуле
, (2.19)
мм
2.2 Подача
в миллиметрах на оборот ([5], с. 277):
мм/об.
Корректируя по паспортным данным станка, принимаем
мм/об.
2.3 Период стойкости сверла
в минутах ([5], с. 279)
мин.
2.4 Скорость резания
в метрах в минуту, допускаемая режущими свойствами сверла
, (2.20)
Для принятых условий обработки ([5], с. 278):
;
;
;
.
Поправочные коэффициенты:
, (2.21)
где
;
([5], с. 280)
;
по [5], c.280.
м/мин.
2.5 Частота вращения шпинделя
в оборотах в минуту определяется по формуле
, (2.22)
мин-1
Корректируя по паспортным данным станка, принимаем
мин-1
2.6 Фактическая скорость резания
в метрах в минуту определяется по формуле
, (2.23)
м/мин.
2.7 Мощность, затрачиваемая на резание
в киловаттах, определяется по формуле
, (2.24)
Определяем величину крутящего момента
в ньютонах на метр по формуле
, (2.25)
;
;
согласно [5], c.280.
Н·м
кВт
Проверяем достаточность мощности привода станка.
Необходимо выполнить условие
, (2.26)
, (2.27)
кВт.
Следовательно, резание возможно, так как
кВт.
3. Основное время
в минутах определяется по формуле
, (2.28)
где
, (2.29)
мм (по чертежу)
мм ;
мм, принимаем
мм.
мин.
Остальные режимы резания указаны в маршрутных и операционных картах механической обработки корпуса.
1.6 Разработка управляющей программы
1.6.1 Разработка расчетно-технологической карты
Операция 025 – Сверлильная с ЧПУ
Обработка ведется на сверлильном станке с ЧПУ модели 2Р135Ф2-1 с УЧПУ 2П32.
Схема операционного технологического процесса представлена на рисунке 2.3.
В качестве режущего инструмента используем:
-
сверло спиральное
Р6М5;
мм;
мм; ГОСТ 10903-87; -
зенкер
Р6М5;
мм;
мм; ГОСТ 12489-81; -
развертка
Р6М5;
мм;
мм ГОСТ 1672- 0
Определяем пути прохода для каждого инструмента:
а) для сверла
мм
мм;
б) для зенкера и развертки
мм
Назначаем режимы резания и сводим в таблицу 2.2
Таблица 2.2 – Режимы резания
| Переход | | | | | |
| 1 | 7,5 | 0,28 | 16,8 | 355 | 100 |
| 2 | 0,35 | 0,8 | 13,3 | 250 | 100 |
| 3 | 0,15 | 1,4 | 4,8 | 90 | 125 |
Сводим в таблицу 2.3 основные технологические данные
Таблица 2.3 – Таблица технологических данных
| Переход | Инструмент | мм | S, мм/мин | Код F | мин-1 | Код | Позиция |
| 1 | Сверло | 23,5 | 100 | F11 | 355 | S8 | 1 |
| 2 | Зенкер 15,7 | 24 | 100 | F11 | 250 | S7 | 3 |
| 3 | Развертка 16 | 24 | 125 | F12 | 90 | S4 | 5 |
Перерабатываем чертеж детали, проставляя размеры от одной базы (рисунок 2.3)
Таблица 2.4 – Таблица координат опорных точек
| Номер опорной точки | 1 | 2 | 3 | 4 | 5 | 6 | 7 | 8 |
| X, мм | 0 | - 69,29 | - 98 | - 69,29 | 0 | 69,29 | 98 | 69,29 |
| X, имп | 0 | - 69,29 | - 9800 | - 69,29 | 0 | 69,29 | 9800 | 69,29 |
| У, мм | - 98 | - 69,29 | 0 | 69,29 | 98 | 69,29 | 0 | - 69,29 |
| У, имп | - 9800 | - 69,29 | 0 | 69,29 | 9800 | 69,29 | 0 | - 69,29 |
Составляем рукопись управляющей программы для станка модели 2Р135Ф2-1 с УЧПУ 2П32.
Рукопись УП сведена в таблицу 5.4
Таблица 2.5 Рукопись УП для УЧПУ 2Г32
| № кадра | Содержание | Примечание |
| % | Начало УП | |
| №1 | G81 Tl S8 МЗ F11 R0 Z2350 Х0 Y9800 L1 | Сверление т. 1 |
| N2 | Х-6929 Y- 6929 | Т.2 |
| N3 | Х-9800 Y0 | Т.З |
| N4 | Х- 6929 Y6929 | Т.4 |
| N5 | Х0 Y9800 | Т.5 |
| N6 | Х6929 Y6929 | Т.6 |
| N7 | Х9800 Y0 | Т.7 |
| N8 | G91 X6929Y-6929 | Т.8 |
| :9 | G81 ТЗ S7 МЗ F11 R0 Z2400 Х0 Y9800 L3 | Зенкерование т. 1 |
| N10 | Х- 6929 Y- 6929 | Т.2 |
| N11 | Х- 9800 Y0 | Т.З |
| N 12 | Х-6929 Y6929 | Т.4 |
| N13 | Х0 Y9800 | Т.5 |
| N14 | Х6929 Y6929 | Т.6 |
| N15 | Х9800 Y0 | Т.7 |
| N16 | G91X6929Y-6929 | Т.8 |
| :17 | G81 Т5 S4 МЗ F12 R0 Z2400 Х0 Y9800 L5 | Развертывание т. 1 |
| N18 | Х- 6929 Y-6929 | Т.2 |
| N 19 | Х-9800 Y0 | Т.З |
| N20 | Х- 6929 Y6929 | Т.4 |
| N21 | Х0 Y9800 | Т.5 |
| N22 | Х6929 Y6929 | Т.6 |
| N23 | Х9800 Y0 | Т.7 |
| N24 | G91 X6929Y-6929 | Т.8 |
| N25 | М2 | Конец УП |
1.7 Техническое нормирование операций технологического процесса
мм;
мм; ГОСТ 10903-87;
Р6М5;
мм;
мм; ГОСТ 12489-81;
мм; 















