124065 (689792), страница 5
Текст из файла (страница 5)
Минимальная подача sMAX=0,05 мм/об.
Расчетный диапазон регулирования подач станка
(5.4.8)
Подача станка
(5.4.9)
Таб.33. Расчет стандартной величины подачи.
| Обрабатываемая поверхность | sРАСЧ | j Прасч | j Птаб | j | SСТ |
| Æ31,9 | 0,2 | 4 | 4 | 1,26 | 0,2 |
По паспортным данным на станок 16К20 подача на один оборот шпинделя на девятой ступени – 0,2 мм/мин . [14 стр.163]
Определим правильность выбранных режимов резания путем проверки на жесткость.
Под действием силы резания – деталь прогибается. Вычислим прогиб детали. Деталь в станке имеет закрепление в центрах. Максимально возможный прогиб можно получить , если рассмотреть как консольное закрепление относительно большего расстояния до одного из центров , в нашем случае – это плавающий центр.
Формула для определения прогиба в этом случае имеет вид:
(5.4.10)
Здесь Py –сила резания в поперечном направлении, которая вызывает прогиб детали.
a– расстояние от плавающего центра до точки приложения силы.
b– расстояние от центра до точки приложения силы.
l- длина детали.
Е – модуль упругости при растяжении для стали.
J – момент инерции детали относительно оси, перпендикулярной оси детали и направлению приложения силы. ( Находится как сумма произведений элементарных площадок на квадрат расстояния до соответствующей оси).
Силу резания примем равной Pz (максимальное значение) – случай максимального затупления резца.
l= 0,152 м
Модуль Юнга Е = 2,1 х 1011 Па.
Чтобы упростить расчеты, момент инерции можно взять как минимальный через самую маленькую поперечную площадь. Относительно плавающего центра
(5.4.11)
где D=0,0319 м (обрабатываемая поверхность).
Результирующая величина прогиба составила f=0,0028 х 10-6 м. Т.е. величина прогиба в значительной степени меньше допуска на операцию (25 мкм=25 х 10-6 м), что означает правильность выбора режимов резания.
Для двух других операций – токарной чистовой (7) и сверлильной (11) режимы резания возьмем из табличных данных на основе требуемой точности и шероховатости (Таб. 14-20 (стр 268-272) [3].)
Таблица 34. Параметры режимов резания на токарную чистовую операцию (7).
| Наименование перехода | Величина подачи s, мм/об | Скорость резания V, мм/мин |
| Обработать Æ35 | 0,4 | 101 |
По паспортным данным на станок 16К20 частота вращения шпинделя на 18 - й ступени – 800 об/мин, подача на один оборот шпинделя на 13 - й ступени – 0,4 мм/мин. [14 Горбацевич стр.163]
Режимы резания берем исходя из аналогичных условий, из таблиц 25-27 (стр. 277-278) [3] и Таб. 23 (стр. 255) [2].
Таблица 35. Параметры режимов резания на сверлильную операцию (11).
| Наименование перехода | Величина подачи s, мм/об | Скорость резания V, мм/мин |
| Сверлить отверстие Æ4,2 | 0,15 | 22 |
По паспортным данным на станок 2М112 частота вращения шпинделя на последней ступени – 1600 об/мин, подача на один оборот шпинделя - 0,15 мм/мин. [14 стр.163]
Затем рассчитаем нормы времени на указанные операции.
Техническую норму времени определяют на основе технических возможностей технологической оснастки, режущего инструмента, станочного оборудования и правильной организации рабочего места. Норма времени является одним из основных факторов для оценки совершенства технологического процесса и выбора наиболее прогрессивного варианта обработки заготовки.
В серийном производстве общая норма времени (мин) на механическую обработку одной заготовки: [7]
Тшт=То+Тв+Тто+Топ (5.4.12)
Где То – технологическое (основное) время, мин.
Тв – вспомогательное время, мин
Тто – время на обслуживание рабочего времени, мин
Топ – время на отдых и естественные потребности, мин
Основное время То определяется в общем виде
(5.4.13)
где l1, l2 и l3 – соответственно – длина пути подвода, длина обработки по чертежу и длина пути врезания и перебега инструмента или детали, мм.
n, s – число об./мин, и подача мм/ход.
Вспомогательное время возьмем из справочных данных [14]. Данные сведем в таблицу
Таблица 36. Расчет вспомогательного времени.
| Наименование операции | Затраты времени, мин |
| Токарная чистовая операция | |
| Вспомогательное время на контрольные измерения | 0,11 |
| Вспомогательное время на установку, снятие и крепление детали | 0,07 |
| Сверлильная операция | |
| Вспомогательное время на контрольные измерения | 0,11 |
| Вспомогательное время на установку, снятие и крепление детали в кондукторе | 0,67 |
| Вспомогательное время на установку и снятие кондуктора | 0,14 |
Расчет основного времени на операции сведем в таблицу.
Таблица 37. Расчет основного времени.
| Наименование перехода | l1 | l2 | l3 | n | S | To | |
| Токарная чистовая (5) | |||||||
| Обточить поверхность Æ 31,9 | 2 | 10 | ≈0 | 1250 | 0,2 | 0,048 | |
| Токарная чистовая (7) | |||||||
| Обточить поверхность Æ 35 | 2 | 1,5 | ≈0 | 800 | 0,4 | 0,011 | |
| Сверлильная (12) | |||||||
| Сверлить отверстие Æ 4,2 | 3 | 34 | - | 1600 | 0,15 | 0,154 | |
Тто и Топ берется в количестве 1,5% от оперативного и 3 % от основного времени соответственно для токарных, и 1% и 1% для сверлильной.
Таким образом, штучное время для каждой операции составило
Токарная чистовая операция (5) Тшт=0,24 мин.
Токарная чистовая операция (7) Тшт=0,20 мин.
Сверлильная (12) Тшт=1,074 мин.
Штучно - калькуляционное время :
Тш-к=Тпз/n+Тшт
где Тпз – подготовительно – заключительное время ( 9 мин. )[14]
n – количество деталей в настроечной партии (зададимся n=100).
Токарная чистовая операция (5) Тш-к=0,25 мин.
Токарная чистовая операция (7) Тш-к=0,21 мин.
Сверлильная (12) Тш-к=1,164 мин.
5. Расчет точности обработки
Технологическая система СПИД представляет собой упругую систему, деформации которой в процессе обработки обуславливают возникновение систематических и случайных погрешностей размеров и геометрической формы обрабатываемых заготовок. Вместе с тем эта технологическая система является замкнутой динамической, способной к возбуждению и поддержанию вибраций, порождающих погрешности формы обрабатываемых поверхностей и увеличивающих их шероховатость.
При механической обработке в условиях автоматического получения размеров, их погрешность является функцией погрешностей заготовки, статической настройки, упругих деформаций системы СПИД и т.д.
Оценить поле рассеивания погрешности выдерживания размера можно с помощью следующего выражения
( 6.1)
где
С =Сp Sy Vn Kmp (6.2)
Подставляя в формулу значения из пункта по расчету режимов резания, получаем
С=200х 0,20,75 х 1340=59,8 кг/мм
Куст, Кзаг, Кст, Кj – коэффициенты относительного рассеивания. Для распределения Гаусса принимаем их равными 1.
K{Азаг,Ауст} – корреляционный момент случайных величин Азаг и Ауст (принимаем равным 0,8).
Еуст – принимается равной погрешности базирования (100 мкм – см. расчет погрешности базирования)
Dзаг – величина допуска на заготовку. Диаметр 31,9 обрабатывается после токарно-револьверной операции, допуск на которую составляет 300 мкм.
Dст – погрешность статической настройки станка (из предыдущего пункта принимаем 4 мкм)
Dj – колебания радиальной жесткости. По таблице из [1] принимаем 300
j – радиальная жесткость. По таблице из [1] принимаем 1000 кг/мм.
tзад – глубина резания (берем из предыдущего пункта 0,3)
=0,056
=0,056
=0,944
=-0,000016
Подставляя эти данные в формулу (6.1), получаем
=21,8 мкм
Сравнивая полученную величину с допуском на размер 31,9 (25 мкм), видим, что необходимая точность при обработке диаметра 31,9 обеспечивается.
6. Описание конструкции приспособлений
Станочные приспособления расширяют технологические возможности металлорежущего оборудования, повышают производительность обработки заготовок, облегчают условия труда.
В задании к курсовому проекту было задано выбрать установочно-зажимное приспособление типа кондуктор для сверления двух отверстий диаметром 8 мм. Отверстия расположены друг против друга. Так же желательно, чтобы погрешность базирования была минимальна.
С учетом этих и некоторых других соображений, был спроектирован кондуктор.
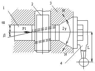
В данном кондукторе применен замок конусного типа, который отличается достаточной надежностью и простотой конструкции. Силовое замыкание в таком замке осуществляется в результате сил трения, возникающих на конусной поверхности зубчатого валика1, затягиваемого в конусное отверстие корпуса 3 приспособления и приводящего в движение реечные скалки 2 с кондукторной плитой.
Для создания затягивающей силы, на оси валика при поворачивании его рукояткой 4, зубцы на валике и на рейке выполнены под углом bВеличина силы затягивания зависит от величины силы Р, приложенной к рукоятке, и от угла b, а величина силы трения на сопряженных конусных поверхностях – от степени точности и шероховатости этих поверхностей. Угол g , равный половине угла при вершине конусов, обычно не превышает 10о. Поэтому при сравнительно небольшой осевой силе на валике возникает большая сила трения на конических поверхностях, надежно удерживающей валик от проворачивания под действием силы W , возникающей на скалках при снятии силы Р с рукоятки и равной силе зажима обрабатываемой детали.
Рис.3. Схема конического замка.
Примечание. Количество зубьев и модуль валика выбраны таким образом, чтобы зажим происходил при повороте рукоятки на 35-40о.
Для того чтобы погрешность базирования равнялась нулю, базой примем торцевую поверхность диаметра 42. Ее упрем с помощью винтового зажима в край призмы, на которой лежит деталь.
Расчет зажимающего усилия конусного замка
Требуемое зажимающее усилие
(7.1)
где l – расстояние от оси колонки до зажима (l=33 мм)
l1 – длина направляющей части колонки (l1=60 мм)
f – 0.1 – коэффициент трения .
Q1 – фактическое осевое усилие на колонке кондуктора.
(7.2)
Qp – усилие, прикладываемое к рукоятке.
F – сила трения, противодействующая опусканию колонки.
(7.3)
a- угол наклона зубьев колонки. (45о)
j- угол трения на конусе (15о).
Рассчитаем зажимное усилие при следующих данных
Qp=140 Н, g=8o.
















