124025 (689761), страница 2
Текст из файла (страница 2)
Причем для однородной структуры материала (в данном случае объемная закалка) коэффициент
ограничивают в пределах 1
2,6. В случае, когда расчетная
<1, будем принимать
=1.
Допускаемые изгибные напряжения могут быть определены по формуле
,
где
– базовый предел выносливости материала колеса по изгибным напряжениям для пульсирующего цикла определится следующим образом
, при HB
350;
, при HB>350.
;
. Коэффициент долговечности
определится как
, при HB
350;
, при HB>350,
где базовое число
. Число циклов нагрузки
,
Где
, при HB
350;
, при HB>350.
Укажем на некоторые ограничения на величину
: 1
2 при HB
350; 1
1,6 при HB>350. В случае, когда расчетная
<1, примем
=1.
Все расчетные данные занесем в табл. 5
Таблица 5
| Быстроходная шестерня | Быстроходное колесо | Тихоходная шестерня | Тихоходное колесо | |
| n | 231,25 | 51,62 | 51,62 | 14,92 |
| HB | 350 | 335 | 492 | 417 |
| HRC | 39 | 38 | 51 | 46 |
|
| 5,17·107 | 1,154·107 | 1,154·107 | 3,336·106 |
|
| 3,827·107 | 3,445·107 | 8,666·107 | 5,827·107 |
|
| 0,951 | 1,2 | 1,399 | 1,611 |
|
| 852 | 834 | 1068 | 978 |
|
| 774,545 | 909,793 | 1358,677 | 1432,167 |
|
| 4,489·107 | 1,002·107 | 9,541·106 | 2,758·107 |
|
| 0,668 | 0,858 | 0,908 | 1,042 |
|
| 630 | 603 | 600 | 600 |
|
| 370,588 | 354,706 | 352,941 | 367,829 |
4. Расчет закрытых цилиндрических зубчатых передач
-
Быстроходная передача.
Для определения межосевого расстояния прямозубых передач используется формула вида
мм.
Здесь коэффициент динамической нагрузки для предварительных расчетов примем
; относительная ширина передачи из нормального ряда чисел
; допускаемые контактные напряжение шестерни
, т.к. оно меньше
колеса.
Зададим число зубьев шестерни
. Определим
следующим образом
. Округлим
до ближайшего целого
.
Определим модуль зацепления
.
Уточним межосевое расстояние
мм.
Рассчитаем диаметры а) шестерни и б) колеса
а)
мм – делительный диаметр
мм – диаметр вершин
мм – диаметр впадин
б)
мм – делительный диаметр
мм – диаметр вершин
мм – диаметр впадин.
Определим ширину колеса
мм,
округляем b2 до ближайшего целого
мм.
Ширина шестерни для компенсации неточностей сборки определится
мм.
Окружная скорость в зацеплении
м/c.
По данной скорости в соответствии с табличными данными уточним коэффициент
. По значению
в соответствии с рис. 5 определим
, тогда
.
В соответствии с уточненными данными произведем проверку контактных напряжений
Н/мм2,
,
недогрузка на 12% за счет увеличения модуля до ближайшего стандартного.
Проверим прочность зуба на изгиб
,
где
– коэффициент, учитывающий форму зуба;
,
, тогда
.
-
Тихоходная передача.
Определим межосевое расстояние косозубых передач
мм.
Здесь допускаемые контактные напряжение шестерни
.
Зададим число зубьев шестерни
. Определим
следующим образом
. Округлим
до ближайшего целого
.
Определим модуль зацепления
,
где
.
Уточним межосевое расстояние
мм.
Вследствие того, что быстроходное колесо зацепляет тихоходный вал на расстояние
, где
– диаметр вершин быстроходного колеса,
– диаметр тихоходного вала (см. ниже раздел “Ориентировочный расчет вала”) требуется увеличить межосевое расстояния за счет увеличения модуля до
. Тогда межосевое расстояние определится как
мм.
Рассчитаем диаметры а) шестерни и б) колеса
а)
мм – делительный диаметр
мм – диаметр вершин
мм – диаметр впадин
б)
мм – делительный диаметр
мм – диаметр вершин
мм – диаметр впадин.
Определим ширину колеса
мм.
Ширина шестерни для компенсации неточностей сворки определится как
мм.
Окружная скорость в зацеплении
м/c.
По данной скорости в соответствии с табличными данными уточним коэффициент
. По значению
в соответствии с рис. 5 определим
, тогда
.
В соответствии с уточненными данными произведем проверку контактных напряжений
Н/мм2,
,
недогрузка на 37% за счет увеличения модуля до ближайшего стандартного.
Проверим прочность зуба на изгиб
,
где
,
– коэффициент, учитывающий форму зуба; коэффициент, учитывающий участие в зацеплении косозубой передачи
,
;
коэффициент, учитывающий наклон зубьев
;
,
, тогда
.
5. Ориентировочный расчет вала
Ориентировочный диаметр вала определяется по формуле
,
– крутящий момент, передаваемый валом, Н/мм;
– условное допускаемое напряжение на валу.
Быстроходный вал
,
т.к. диаметр вала двигателя dэ=24 мм, диаметр быстроходного вала dбыстр=24,462, а для ременной передачи dбыстр=1,2·dэ=1,2·24=28,8 мм, значит
d
=30 мм.
Промежуточный вал
=40 мм.
Тихоходный вал
=55 мм.
Расчетные значения занесем в табл. 6.
Таблица 6
| Вал электродвигателя | Быстроходный вал | Промежуточный вал | Тихоходный вал | |
| T | 15486 | 58553 | 255786 | 862983 |
|
| 20 | 25 | 25 | |
|
| 24,462 | 37,122 | 54,677 | |
|
| 24 | 30 | 40 | 55 |
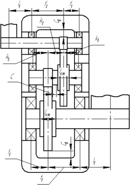
Эскизная компоновка редуктора
Определим основные параметры ступицы
для быстроходного колеса:
длинна – lст=(0,8…1,5) ·dпром=0,8 ·40=32 мм
диаметр – lст=(1,6…1,8) ·dпром =1,8 ·40=72 мм
для тихоходного колеса:
длинна – lст=(0,8…1,5) ·dтих=0,8 ·55=44 мм
диаметр – lст=(1,6…1,8) ·dтих=1,8 ·55=99 мм
Проведем обвод внутренней стенки на расстояние C0=20 мм от боковой и торцевой поверхности колес. Расстояние между торцевой поверхностью колес двухступенчатого редуктора определим по формуле: C=0,5·C0=0,5·20=10 мм.
Рис.3
Ширина фланца (Bфл) равна ширине наибольшего подшипника (B
) + (10…15) мм, т.е.
Bфл=B
+ (10…15) =29 + (10…15) =40 мм
По диаметрам валов подбираем в первом приближении подшипники (рис. 3), основные параметры которых занесем в табл. 7
Таблица 7
| серия | d | D | B | ||
| Быстр. вал | ШПРО | легкая | 30 | 62 | 16 |
| Пром. вал | РПК | легкая | 40 | 80 | 20 |
| Тихох. вал | РПК | средняя | 55 | 120 | 29 |
На входном участке быстроходного вала установлен шкив ременной передачи, где расстояние от середины подшипника до середины ступицы шкива принимается l1=2,1·dбыстр=2,1·30=63 мм.
На тихоходном валу установлена муфта. Расстояние от середины подшипника до конца вала определяется как l2*=2,5· dтих=2,5·55= 137,5 мм. Причем l2 - расстояние от середины подшипника до середины муфты.
С учетом эскизной компоновки редуктора (рис. 4) внесем в табл. 8 следующие неизвестные параметры: li, fi, ki, ti
Таблица 8
| i= | 1 | 2 | 3 |
| li | 63 | 85 | |
| fi | 44 | 89 | |
| ki | 41 | 43 | 43 |
| ti | 88,5 | 47,5 |
Рис. 4
6. Проектировочный расчет валов на совместное действие изгиба и кручения
Для цилиндрической передачи силы взаимодействия рассчитываются следующим образом:
-
– окружные составляющие (индекс “1” для шестерни; “2” для колеса) -
– радиальные составляющие (
– угол зацепления; для передач без смещения
;
– угол наклона линии зуба) -
– осевые составляющие
Изгибающие моменты рассчитываются как
,
,
где d1 и d2 – диаметры делительной окружности.
Усилие, действующее на вал от ременной передачи Fрем=765,868 Н
Радиальная сила, действующая на вал со стороны муфты
FМ=
=
=1468,829 Н
Полученные величины параметров занесем в табл. 9
Таблица 9
| Быстроходная шестерня | Быстроходное колесо | Тихоходная шестерня | Тихоходное колесо | |
| d | 35 | 157,5 | 50,771 | 177,77 |
|
| 20 | 20 | 20 | 20 |
|
| 0 | 0 | 10 | 10 |
| Ft | 3248,076 | 3248,076 | 9712,808 | 9712,808 |
| Fr | 1182,203 | 1182,203 | 3589,709 | 3589,709 |
| Fa | 0 | 0 | 1712,63 | 1712,63 |
| Ma | 0 | 0 | 43475,972 | 152167,187 |
Рис. 5
-
Быстроходный вал:
Вертикальная плоскость:
Эпюра M(xi), Нмм
Рис. 6
MA=Ft1·f2+RBв·(f1+f2)=0
RBв=-2173,525
MB=–Ft1·f1–RAв·(f1+f2)=0
RAв=-1074,552
Проверка:
Y=Ft1+RAв+RBв =0
Участок l1=63
mx1=M(x1)=0
Участок f2=89
mx2= M(x2) – RAв· x2=0
Участок f3=44
mx3= –M(x3)+ RBв·x3 =0
Таблица 10
| xi | 0 | 63 | 0 | 89 | 0 | 44 |
| M(xi) | 0 | 0 | 0 | -95635,085 | 0 | -95635,085 |
Горизонтальная плоскость:
Эпюра M(xi), Нмм
Рис. 7
MA=Fr1·f2+RBг·(f1+f2)+ Fr·l1=0
RBг=-1153,878
MB=– Fr1·f1–RAг·(f1+f2)+ Fr·(l1+f1+f2)=0
RAг=737,543
Проверка:
Y=– Fr+Fr1+RAг+RBг =0
Участок l1=63
mx1=M(x1)+ Fr· x1=0
Участок f2=89
mx2= M(x2) – RAг· x2+ Fr·( x2+f1)=0
Участок f3=44
mx3= –M(x3)+ RBг·x3 =0
Таблица 11
| xi | 0 | 63 | 0 | 89 | 0 | 44 |
| M(xi) | 0 | -48249,684 | -48249,684 | -50770,626 | 0 | -50770,626 |
Опасное сечение под шестерней:
Суммарный изгибающий момент в опасном сечении
.
Приведенный момент определится как
,
где
– коэффициент приведения.
Из условий прочности на изгиб с кручением определяется расчетный диаметр вала в опасном сечении
мм.
Здесь
Н/мм2, где
Н/мм2 (сталь 45).
Эпюра T, Нмм
Рис. 8
Промежуточный вал:
Вертикальная плоскость:
Эпюра M(xi), Нмм
Рис. 9
MA= – Ft3·k3+RBв·(k1+k2+ k3) – Ft2·( k2+k3)=0
RBв=5488,073
MB=Ft2·k1 – RAв·(k1+k2+ k3)+ Ft3·( k2+k1)=0
RAв=7472,811
Проверка:
Y= – Ft2 – Ft3+RAв+RBв =0
Участок k3=43
mx1=M(x1) – RAв· x1=0
Участок k2=43
mx2= M(x2) – RAв·( x2+ k3)+ Ft3·x2=0
Участок k1=41
mx3= –M(x3)+ RBв·x3 =0
Таблица 12
| xi | 0 | 43 | 0 | 53 | 0 | 41 |
| M(xi) | 0 | 321330,876 | 321330,876 | 225011,003 | 0 | 225011,003 |
Горизонтальная плоскость:
Эпюра M(xi), Нмм
Рис. 10
MA= Fr3·k3+RBг·(k1+k2+ k3) – Fr2·( k2+k3) – Ma3=0
RBг=-72,536
MB=Fr2·k1 – RAг·(k1+k2+ k3) – Fr3·( k2+k1) – Ma3=0
RAг=-2334,97
Проверка:
Y= – Fr2 + Fr3+RAг+RBг =0
Участок k3=43
mx1=M(x1) – RAг· x1=0
Участок k2=43
mx2= M(x2) – RAг·( x2+ k3) – Fr3·x2 – Ma3=0
Участок k3=41
mx3= –M(x3)+ RBг·x3 =0
Таблица 13
| xi | 0 | 43 | 0 | 43 | 0 | 41 |
| M(xi) | 0 | -100403,708 | - 56927,736 | -2973,967 | 0 | -2973,967 |
Опасное сечение под шестерней:
Суммарный изгибающий момент в опасном сечении
.
Приведенный момент определится как
,
где
– коэффициент приведения.
Из условий прочности на изгиб с кручением определяется расчетный диаметр вала в опасном сечении
мм.
Здесь
Н/мм2, где
Н/мм2 (сталь 45).
Эпюра T, Нмм
Рис. 11
-
Тихоходный вал:
Вертикальная плоскость:
Эпюра M(xi), Нмм
Рис. 12
MA=Ft4·t2+RBв·(t1+t2)=0
RBв=-3392,341
MB=–Ft1·t1–RAв·(t1+t2)=0
RAв=-6320,467
Проверка:
Y=Ft4+RAв+RBв =0
Участок t1=47,5
mx1= M(x1) – RAв· x1=0
Участок t2=88,5
mx2= –M(x2)+ RBв·x2 =0
Участок t3=85
mx2= –M(x3)=0
Таблица 14
| xi | 0 | 47,5 | 0 | 88,5 | 0 | 85 |
| M(xi) | 0 | -300222,184 | 0 | -300222,184 | 0 | 0 |
Горизонтальная плоскость:
Эпюра M(xi), Нмм
Рис. 13
MA= – Fr4·t2+RBг·(t1+t2)+Ma4 – FМ ·(t1+t2+l2)=0
RBг=2521,729
MB=Fr4·t1–RAг·(t1+t2)+ Ma4 – FМ ·l2=0
RAг=2536,808
Проверка:
Y=– Fr4 +RAг+RBг =0
Участок t1=63
mx1= M(x1) – RAг· x1=0
Участок t2=122,5
mx2= –M(x2)+ RBг·x2 =0
Таблица 15
| xi | 0 | 47,5 | 0 | 88,5 | 0 | 85 |
| M(xi) | 0 | 120498,401 | 0 | -31668,785 | 0 | -124850,465 |
Опасное сечение под колесом:
Суммарный изгибающий момент в опасном сечении
.
Приведенный момент определится как
,
где
– коэффициент приведения.
Из условий прочности на изгиб с кручением определяется расчетный диаметр вала в опасном сечении
мм.
Здесь
Н/мм2, где
Н/мм2 (сталь 45).
Эпюра T, Нмм
Рис. 14
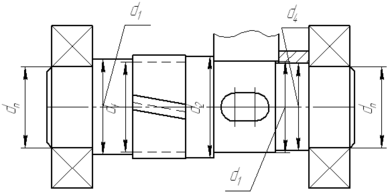
7. Разработка конструкции вала
Быстроходный вал:
Расчетный диаметр dвр=
мм.
Рис. 15
Примем d3=1,1· dвр=1,1·
= 28,674, что меньше d
=30 мм следовательно
= d
=30 мм. Диаметр
по Ra40
мм. На диаметре d4 расположена распорная втулка, который определится как
мм. Диаметр
выбирается как ближайшее меньше стандартное значение
, т.е.
мм.
мм.
мм.
мм. Проверка полученного диаметра d6 на кручения по условию
,
где
;
тогда
, условие выполняется.
,
следовательно шестерня нарезается прямо на валу.
Подбор шлица
Выбираем шлиц средней серии
. lp=45
Проверочный расчет шлица на смятие
Н/мм2,
где
– средний диаметр;
; z=8 – коэффициент учитывающий неравномерность распределения нагрузки между зубьями;
– высота зуба.
Промежуточный вал:
Расчетный диаметр dвр=
мм.
Рис. 16
Примем d3=1,1· dвр=1,1·
=43,262, что округлим до ближайшего стандартного значения по Ra40
мм.
, следовательно шестерня нарезается прямо на валу. Диаметр
по Ra40
мм. На диаметре d4 расположена распорная втулка, который определится как
мм. Диаметр
выбирается как ближайшее меньшее стандартное значение
, т.е.
мм.
можно принять как
мм.
Подборка шпонки
По d=45 подбираем шпонку с параметрами b=14, h=9, t=5,5.
lp=lст-(8…10)=24 мм.
Проверка шпоночного соединения на смятие
Н/мм2.
Тихоходный вал:
Расчетный диаметр dвр=
мм.
Рис. 15
Примем d3=1,1·dвр=1,1·
=56,093, что округлим до ближайшего стандартного значения по Ra40
мм. Диаметр
по Ra40
мм. На диаметре d4 расположена распорная втулка, который определится как
мм. Диаметр
выбирается как ближайшее меньшее стандартное значение
, т.е.
мм.
можно принять как
мм.
мм. Выходной диаметр
мм.
Проверка полученного диаметра d6 на кручения по условию
,
где
;
тогда
, условие выполняется.
Подборка шпонки под колесо
По d=56 подбираем шпонку с параметрами b=16, h=10, t=6.
lp=lст-(8…10)=36 мм.
Проверка шпоночного соединения на смятие
Н/мм2
Подборка шпонки под муфту
По d=45 подбираем шпонку с параметрами b=14, h=9, t=5,5.
lp=lМ -(8…10)=76 мм.
Проверка шпоночного соединения на смятие
Н/мм2
Расчет валов на статическую прочность
;
, где соответственно
и
– напряжения изгиба и кручения от действия
и T.
;
, причем
– осевой момент;
– полярный момент.
Расчетные параметры занесем в табл. 16.
Таблица 16
| Быстроходный вал | Промежуточный вал | Тихоходный вал | |
| T | 58553 | 255786 | 862983 |
| d | 30 | 45 | 56 |
|
| 650 | 650 | 650 |
| Mи | 123094,191 | 422801,27 | 921625,131 |
| Wи | 2650,719 | 8946,176 | 17241,06 |
| Wк | 5301,438 | 17892,352 | 34482,121 |
|
| 46,438 | 47,261 | 53,455 |
|
| 11,045 | 14,296 | 25,027 |
|
| 50,224 | 53,354 | 68,822 |
|
| 12,942>1,5…1,8 | 12,183>1,5…1,8 | 9,445>1,5…1,8 |
8. Расчет валов на усталостную прочность
Расчет ведется в опасных сечениях:
,
где
– коэффициент запаса усталостной прочности по напряжениям изгиба;
– коэффициент запаса усталостной прочности по напряжениям кручения.
,
– пределы выносливости материала при симметричном цикле изменения напряжений по нормальным и касательным напряжениям
=380 МПа,
=230 МПа.
k
и k
– эффективные коэффициенты концентрации напряжений при изгибе и кручении.
kd и kF – масштабны фактор и фактор качества поверхности
,
– коэффициенты, характеризующие чувствительность материала вала к асимметрии цикла.
,
– амплитуда и среднее значение цикла изменения нормальных напряжений изгиба. Для валов
.
Для быстроходного вала:
Для поперечных сечений валов, ослабленных шпоночными пазами, осевой момент сопротивления изгибу
.
Для промежуточного вала:
Для тихоходного вала:
.
,
–
амплитуда и среднее значение цикла изменения касательных напряжений от кручений. Для валов
.
Для быстроходного вала:
Для поперечных сечений валов, ослабленных шпоночными пазами, полярный момент сопротивления изгибу
.
Для промежуточного вала:
Для тихоходного вала:
.
Полученные расчетные значения искомых параметров занесем в табл. 17
Таблицу 17
| Быстроходный вал | Промежуточный вал | Тихоходный вал | |
| T | 58553 | 255786 | 862983 |
| d | 30 | 45 | 56 |
|
| 650 | 650 | 650 |
|
| 380 | 380 | 380 |
|
| 230 | 230 | 230 |
| k | 2,03 | 2,03 | 2,03 |
| k | 1,64 | 1,64 | 1,64 |
| kd | 0,825 | 0,775 | 0,7 |
| kF | 0,9 | 0,9 | 0,9 |
|
| 0,15 | 0,15 | 0,15 |
|
| 0,05 | 0,05 | 0,05 |
| Mи | 123094,191 | 422801,27 | 921625,131 |
| Wи | 2650,719 | – | – |
| Wинето | – | 7611,295 | 15098,203 |
| Wк | 5301,438 | – | – |
| Wкнето | – | 16819,68 | 32339,264 |
|
| 49,833 | 55,549 | 61,042 |
|
| 0 | 0 | 0 |
|
| 11,045 | 15,208 | 26,685 |
|
| 0 | 0 | 0 |
| S | 2,789 | 2,35 | 1,932 |
| S | 9,428 | 6,432 | 3,311 |
| S>[S] | 2,674>1,5 | 2,207>1,5 | 1,669>1,5 |
Валы удовлетворяют условию на усталостную прочность.
9. Расчет быстроходного вала на жесткость
E=2,15·105Н/мм2;
мм4,
тогда
(1/Н·мм2)
[
]=0,0016 рад; [
]=0,0002·l; [
]=0,1·m
Вертикальная плоскость:
MA=Ft1·f2+RBв·(f1+f2)=0
RBв=-2173,525
MB=–Ft1·f1–RAв·(f1+f2)=0
RAв=-1074,552
Проверка:
Y=Ft1+RAв+RBв =0
Участок l1=63
EI
=EI
0+C=0
EI
=EI
0+C· x1+D=0
Участок f2=89
EI
=EI
0 –
RAв·
+C=0
EI
=EI
0 –
RAв·
+C· x2+D=0
Участок f3=44
EI
=–EI
0 +
RBв·
+C=0
EI
=–EI
0 +
RBв·
+C· x3+D=0
В точке x1=63 и x3=0 значение
=0, тогда параметры C и D определятся как
Подставив параметры C и D в EI
и EI
, получим следующие выражения
Участок l1=63
EI
=EI
0 =0;
0(max) =0< [
]=0,0016
EI
=EI
0 =0;
0(max) =0< [
]=0,0003·l =0,019
Участок f2=89
EI
=EI
0 –
(-1074,552) ·
=0;
=0,001< [
]=0,0016
EI
=EI
0 –
(-1074,552) ·
=0;
= 0,0021<[
]=0,0003·l =0,04
Участок f3=44
EI
=–EI
0 +
(-2173,525) ·
=0;
=0,001< [
]=0,0016
EI
=–EI
0 +
(-2173,525) ·
=0;
= 0,0021<[
]=0,0003·l =0,04
Горизонтальная плоскость:
MA=Fr1·f2+RBг·(f1+f2)+ Fr·l1=0
RBг=-1153,878
MB=– Fr1·f1–RAг·(f1+f2)+ Fr·(l1+f1+f2)=0
RAг=737,543
Проверка:
Y=– Fr+Fr1+RAг+RBг =0
Участок l1=63
EI
=EI
0+
Fr ·
+C=0
EI
=EI
0+
Fr ·
+C· x1+D=0
Участок f2=89
EI
=EI
0 –
RAг ·
+ Fr·(
x2+f1) ·x2+C=0
EI
=EI
0 –
RAг ·
+ Fr·(
x2+
f1) ·
+C· x2+D=0
Участок f3=44
EI
=–EI
0 +
RBг ·
+C=0
EI
=–EI
0 +
RBг ·
+C· x3+D=0
В точке x1=63 и x3=0 значение
=0, тогда параметры C и D определятся как
Подставив параметры C и D в EI
и EI
, получим следующие выражения
Участок l1=63
EI
=EI
0+
765,868 ·
-
=0;
0(max) =0,0002< [
]=0,0016
EI
=EI
0+
765,868 ·
-
· x1 =0;
0(max) =0,002< [
]=0,0003·l =0,019
Участок f2=89
EI
=EI
0 –
737,543·
+ 765,868 ·(
x2+63) ·x2 -
=0;
=0,00028< [
]=0,0016
EI
=EI
0 –
737,543·
+ 765,868 ·(
x2+
63) ·
-
· x2 =0;
= 0,007<[
]=0,0003·l =0,04
Участок f3=44
EI
=–EI
0 +
(-1153,878) ·
-
=0;
=0,00028< [
]=0,0016
EI
=–EI
0 +
(-1153,878) ·
-
· x2 =0;
= 0,007<[
]=0,0003·l =0,04
Суммарный прогиб
< [
]=0,1·m=0,175.
Вал удовлетворяет условиям на жесткость.
– допускаемый угол закручивания
,
тогда
,
условие жесткости при кручении выполняется.
10. Подбор подшипников
Для всех валов подбираем радиально-упорные роликовые подшипники средней серии.
Быстроходный вал: по внутреннему диаметру d=30 подшипник 2007 106А. Cr=35,8 кН. Cor=44,0 кН. e=0,43.
Промежуточный вал: по внутреннему диаметру d=40 подшипник 2007108А. Cr=52,8 кН. Cor=71,0 кН. e=0,37.
Тихоходный вал: по внутреннему диаметру d=50 подшипник 2007 110А*. Cr=60,5 кН. Cor=88,0 кН. e=0,43.
При действии на радиальные и радиально-упорные подшипники одновременно радиальной Fr и осевой Fa нагрузок расчеты ведут по эквивалентной радиальной статической нагрузке Роr, которая вызывает такие же контактные напряжения, как и действительная нагрузка:
Рor = max{Х0Fr + Y0Fa , Fr},
а для упорно-радиальных и упорных подшипников - по эквивалентной осевой статической нагрузке
Рoa = Xo Fr +YoFa
где Х0 - коэффициент статической радиальной нагрузки, Y0 - коэффициент статической осевой нагрузки.
Ресурсы подшипников, выраженные в миллионах оборотов L или в часах Lh (при постоянной частоте вращения), связаны между собой соотношением:
Lh=106L/(60n),
для цилиндрических редукторов общего назначения рекомендуется: Lh12500.
Для радиальных и радиально-упорных подшипников эквивалентная динамическая радиальная нагрузка
P=Pr=(XVFr+YFa)КБКТ,
где Fr и Fa - соответственно радиальная и осевая нагрузки; X и Y - коэффициенты радиальной и осевой динамической нагрузки; V - коэффициент вращения; V=1. KБ - коэффициент динамичности нагрузки; КТ - температурный коэффициент. Кратковременная перегрузка до 150 %, зубчатые передачи КБ=1,3.
Основные и расчетные параметры подшипников в соответствии с диаметром расчетного вала (из ГОСТ 27365-87 радиально-упорные роликовые подшипники средней серии для повышенной грузоподъемности и из ГОСТ 8338-75 шариковые радиальные однорядные) приведем в табл. 18
Таблица 18
| обозначение | Быстроходный вал | Промежуточный вал | Тихоходный вал |
| подшипник | 205 | 7208А | 7310А |
| d | 25 | 40 | 50 |
| D | 52 | 80 | 110 |
| B | 15 | 18 | 27 |
| c | – | 16 | 23 |
| T | – | 20 | 29,5 |
| r | 1,5 | 2 | 3 |
| r1 | – | 0,8 | 1 |
| Cr, кН | 14,0 | 58,3 | 117,0 |
| Cor, кН | 6,95 | 40,0 | 90,0 |
| e | 0 | 0,37 | 0,35 |
| КТ | 1 | 1 | 1 |
| Fr, Н | 1551,726 | 5628,3 | 5225,733 |
| Fa, Н | 0 | 403,095 | 807,844 |
| X | 1 | 1 | 1 |
| Y | 0 | 1,882 | 1,882 |
| Рoa | – | 6031,395 | 6033,577 |
| P | 1706,899 | 8303,002 | 8769,924 |
| p | 3 | 10/3 | 10/3 |
|
| 4,904 | 1,279·103 | 2,179·103 |
| Lh>[ Lh] | 21229,437 | 4,128·106 | 2,434·106 |
11. Смазочные устройства и утопления
В корпус редуктора заливают масло так, чтобы венцы колес были в него погружены. При их вращении масло увлекается зубьями, разбрызгивается, попадает на внутренние стенки корпуса, откуда стекает в его нижнюю часть. картерную смазку применяют при окружной скорости зубчатых колес от 0,3 до 12,5 м/c. Выбирается сорт масла И -50 А. Уровень погружения в масло
мм. Подшипники смазываются тем же маслом, что и детали передач. При работе передач масло постепенно загрязняется продуктами износа деталей. Поэтому его периодически меняют.
Список литературы
-
Курмаз Л.В., Скойбеда А.Т. Детали машин. Проектирование: Справочное учебно-методическое пособие - 2-е изд., испр.: М.: Высш. шк., 2005.-309 с.: ил.
-
Иванов М.Н. Детали машин.-5-е изд., перераб.- М.: Высш. шк., 1991.-383 с.: ил.
-
Дунаев П.Ф., Леликов О.П. Детали машин. Курсовое проектирование.-2-е изд., перераб. и доп.- Высш. шк., 1990.-399 с., ил.
-
Шейнблит А.Е. Курсовое проектирование деталей машин. М.: Высш. шк.,1991. -432 с.: ил.
-
Кудрявцев В.Н., Державец Ю.А., Арефьев И.И., и др.. Курсовое проектирование деталей машин. Л.: Машиностроение, 1984. 400 с., ил.
– окружные составляющие (индекс “1” для шестерни; “2” для колеса)
– радиальные составляющие (
;
– угол наклона линии зуба)
– осевые составляющие













