123868 (689670), страница 5
Текст из файла (страница 5)
По мере остановки ящика под осью захватной головки последняя под действием силы тяжести опускается в ящик, захватные устройства с помощью сжатого воздуха зажимают горлышки бутылок, и захватная головка, поднимаясь под действием пневмоцилиндра, извлекает бутылки из ящиков.
Когда захватная головка с бутылками достигает крайнего верхнего положения, на столе для бутылок 1 освобождается место для установки бутылок. При поступлении сигнала об этом от пневмоблокировки, установленной на столе для бутылок, каретка с головкой перемещается к столу. Одновременно на механизме перемещения ящиков 11 отводится планка механизма зажима ящика, опускаются планка и упор механизма разделения, порожний ящик отводится от машины, а на его место поступает следующий ящик из потока.
Техническая характеристика
Производительность, бут/час..............................1500
Габариты, мм:
длина......................................................................3000
ширина...................................................................2190
высота....................................................................2300
Ультразвуковые бутылкомоечные машины. Используем машину с тремя кассетами и ручным приводом (ДЛК-3), представленную на рисунке 5.
Рисунок 5 - Машина с тремя кассетами и ручным приводом (ДЛК-3)
Ультразвук успешно применяется для очистки и доочистки стеклянных бутылок. Для этой цели предприятия выпускает ультразвуковые бутылкомоечные машины. Машины состоят из стальной нержавеющей ванны в которой размещается поворотный механизм (барабан) с кассетами для бутылок. Барабан приводится во вращение или вручную, или с помощью электродвигателя (в разных моделях). Кассеты с бутылками циклически проходят через несколько рабочих позиций: загрузка, мойка, стекание воды, выгрузка.
Количество кассет в разных моделях варьируется от трех до шести. Кассеты съемные, легко заменяются в процессе эксплуатации установки. Ячейки в них могут быть разной формы в зависимости от вида бутылок.
Ультразвуковая обработка позволяет удалять стойкие загрязнения, не отмываемые на серийных бутылкомоечных машинах, поэтому ультразвуковые машины рекомендуются в том числе и для домыва сильно загрязненной оборотной тары. Применение ультразвука позволяет снизить затраты за счет уменьшения концентрации моющего раствора. Ультразвуковые машины применяются также для восстановления поврежденной внутренней поверхности стеклобутылки до значения показателя водостойкости, допустимого по ГОСТ 10117.1-2001, в том числе для сувенирных бутылок, имеющих высокую стоимость. Следует отметить, что стеклобутылки подлежат восстановлению ультразвуком при значении исходного показателя водостойкости не выше 0,5 мл 0,01н НCl.
Техническая характеристика
Производительность, бут/час.............................1500
Габариты, мм:
длина......................................................................800
ширина..................................................................1100
высота....................................................................1380
Емкости бывают слишком холодными и отпотевают или они просто выходят слишком мокрыми из бутыломоечной машины, что крайне нежелательно
для их последующей упаковки. Присутствие влаги на поверхности бутылок создает множество проблем при наклеивании этикеток, нанесение штрих-кодовой или чернильной маркировки. В общем, влажная бутылка не годится для качественной упаковки.
Для полного удаления остатков воды и конденсата с поверхности бутылок, мест примыкания крышек, пробок и колпачков существуют системы осушения "воздушными ножами" JETAIR. Установка состоит из мощной и компактной турбовоздуходувки с фильтром и системы оригинальных эжекторов, формирующей плоскую струю воздуха ("воздушный нож"), которая направляется на осушаемую поверхность. Эффект достигается за счет высокой скорости потока воздуха, выходящего из эжекторов особого внутреннего профиля JETAIR. Система устанавливается на любую линию, компактна, проста в сборке и обслуживании. Благодаря тому, что поток воздуха на выходе из «воздушных ножей» всего на 5-7 градусов (за счет сжатия в нагнетателе) выше температуры цеха, отпадает необходимость в отводе излишков тепла из производственного помещения. При правильной установке, эффективность системы 95-98%. Кроме выполнения своей главной задачи - подготовки влажной поверхности к качественной этикетировке, применение системы сушки тары "воздушными ножами" позволяет добиться улучшения качества продукции за счет удаления влаги, как среды обитания плесени и бактерий с верхней части пробки или банки, исключения образования коррозии на металле банки и пробки, нанесения маркировки без дефектов. Помимо этого, установки сушки "воздушными ножами" позволяют добиться снижения себестоимости конечного продукта за счет увеличения производительности линии, снижения выпуска брака, исключения из производственного процесса цикла наружной сушки, снижающего производительность и занимающего пространство цеха, снижения потребления электроэнергии в разы по сравнению с традиционными методами сушки.
Техническая характеристика
Производительность, бут/час............................... 500
Габариты, мм:
длина......................................................................2300
ширина...................................................................1200
высота....................................................................2650
Изобарические разливочные машины. Метод изобарического розлива применяется в производстве в производстве игристых вин резервуарным способом. Если шампанское разливать при нормальном атмосферном давлении, то оно будет дешампанизироваться, т.е. терять углекислоту, которая создает ценные игристые свойства. Дешампанизация ускоряется с повышением температуры вина. Поэтому во избежание потери качества шампанского розлив должен происходить под избыточным давлением и без перепадов давления – изобарически, а также и без колебаний температуры.
Сущность изобарического наполнения бутылок шампанским заключается в том, что вначале в бутылках создается газовое противодавление, равное тому, под которым находится игристое вино, поступившее в разливочную машину, а затем в условиях равновесия газовой системы происходит наполнение бутылок вином.
Для розлива используем машину «Идеал», которая показана на рисунке 6.
Рисунок 6 – Разливочная машина «Идеал»
В центре станины 1 проходит труба 2, подающая вино в резервуар 16. Червяк 26 и червячное колесо 3 находятся в корпусе 4. Червячное колесо через кулачковую муфту вращает карусель 25 с запирающимися поддонами 24. Поддоны прижимают бутылку 22 к разливочным штуцерам 21. Штуцер повернут винтами 6 с прокладкой 8. На подающей трубе закреплен неподвижный диск 19 с пазами и отверстиями 17 и 18; через отверстие 17 в бутылки поступает вино, а через отверстие 18 выходит из бутылок воздух. На карусели закреплен подвижный диск 20 с отверстиями. Трущиеся поверхности обоих дисков тщательно притерты, через отверстия и пазы верхнего диска вина поступает к разливочным штуцерам по каналам в приливе 5. По каналу 9 течет шампанское, а по каналу 10 удаляется воздух из бутылки через трубу 15 в пространство над шампанским.
К разливочному резервуару откидными болтами 13 привернута крышка 14. На ней установлен манометр и воздушный кран. Уровень в резервуаре регулируется поплавком, который открывает и закрывает воздушный клапан. Резервуар имеет смотровое стекло 11. Карусель закрыта кожухом 23. Под все штуцера 21 подставляются бутылки. Они поддонами 24 прижимаются к резиновому упору 7, в результате чего создается необходимая плотность.
Лишь после этого открывают кран на винопроводе при закрытом кране 12 и вино поступает в разливочный резервуар. Вино заполняет не только резервуар, но и все бутылки, кроме пяти, которые находятся у места загрузки и разгрузки.
После этого включают двигатель, а затем и карусель. При подходе первой заполненной бутылки к месту разгрузки рабочий отклоняет поддон 24, снимает наполненную бутылку и на ее место ставит пустую. Машина наполняет бутылки до канала 10. Когда в резервуаре давление больше, чем в винопроводе, закрывается обратный клапан, вино больше не поступает в резервуар. По мере расхода вина из резервуара опускается поплавок и открывается воздушный клапан, через него выходит воздух из резервуара. Давление в резервуаре снижается, открывается обратный клапан и вино снова поступает в резервуар; поплавок поднимается и закрывает воздушный клапан. При розливе шампанского и газированной жидкости необходимо по мере слива вина вводить в расходный резервуар углекислый газ, поддерживая тем самым постоянное давление в нем.
Техническая характеристика
Производительность, бут/сек(бут/час)...................................0,2(700)
Объем бутылки, дм3..................................................................0,7
Количество разливочных штуцеров........................................16
Габариты, мм:
длина.............................................................................1080
ширина..........................................................................1080
высота............................................................................1881
Масса, кг....................................................................................408
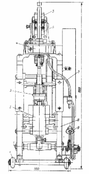
Укупорочная машина. Для укупорки используем машину ВУ1-Б.
Станина машины состоит из двух чугунных стоек, скрепленных стяжными болтами. В верхней части станины 8 закреплен механизм 4 подачи полиэтиленовой пробки, над ним установлен механизм 6 для забивки пробки. В нижней части механизмом 2 подаются бутылки. Машина передвигается на колесах 1. после включения двигателя и закладки пробок в трубку 5 укупорщик снимает с турникета бутылку и ставит её на деревянную подставку 3 механизма 2. Кулачок этого механизма поднимает вертикальный шток с бутылкой к механизму 4. К этому же механизму по трубке 5 подается пробка. Четырьмя кулачками пробка сжимается. Затем шпиндель механизма 6 опускается эксцентриком вниз и вталкивает сжатую пробку в горлышко бутылки. Насос, установленный на станине машины, отсасывает воду, выступившую на пробке при её сжатии. Из насоса вода по трубе 7 стекает в бутылку, устанавливаемую на пружинную подставку 9. Данная машина представлена на рисунке 7.
Рисунок 7 – Укупорочная машина ВУ1-Б
Техническая характеристика
Производительность, бут/сек (бут/час).................0,28 (1000)
Габариты, мм:
длина .......................................................................1020
ширина.....................................................................675
высота......................................................................1435
Масса, кг..................................................................391
Пробку в горлышке бутылки с шампанским закрепляют проволочной уздечкой (мюзле), чтобы предотвратить выталкивание пробки давлением углекислого газа.
Мюзлевочная машина. Используем мюзлевочный полуавтомат Dratomat фирмы Otto Sick. Он представляет собой машину ротационного типа с шестью мюзлевочными головками 3 и соответствующим количеством толкателей 7 для подъема бутылок. Подача мюзле осуществляется цепным транспортером 5 с гнездами, который перемещается на один шаг при наличии бутылки во входной звездочке машины. Отсюда мюзле захватывается обжимными головками 4, в которые вмонтированы постоянные магниты.
Укупоренные бутылки через шнековый шагомер поступают на площадки подъемных толкателей, центрируются амортизирующими разрезными втулками 6 и упираются пробкой в обжимные головки 4, несущие мюзле. При подъеме бутылки мюзле надевается на крючок 2, который при повороте стола делает три оборота, закручивая проволоку, и останавливается в таком положении, что при опускании бутылки петля снимается с крючка, а рычаг 1, находящийся под крючком, загибает её наверх. Замюзлеванная бутылка подается на транспортер. Управление вращением и осевым перемещением толкателей осуществляется копирами.
Машина приводится в движение от индивидуального электродвигателя через вариатор скорости. Во избежание механических перегрузок она укомплектована пятью электровыключателями, которые при возникновении опасности автоматически её останавливают. Данная машина представлена на рисунке 8.
Рисунок 8 - Мюзлевочный полуавтомат Dratomat фирмы Otto Sick
Техническая характеристика















