123670 (689554), страница 2
Текст из файла (страница 2)
Соответственно своему назначению теплообменные аппараты называют подогревателями, холодильниками, испарителями, конденсаторами, дистилляторами, сублиматорами, плавителями и т.п.
По способу передачи тепла различают теплообменные аппараты поверхностные и смесительные. В первом случае передача тепла происходит через разделяющие твердые стенки, во втором — непосредственным контактом (смешением) нагретых и холодных сред (жидкостей, газов, твердых веществ). Поверхностные аппараты подразделяются на рекуперативные и регенеративные. В рекуперативных аппаратах тепло от горячих теплоносителей к холодным передается через разделяющую их стенку, поверхность которой называется теплообменной поверхностью, или поверхностью нагрева. В регенеративных аппаратах оба теплоносителя попеременно соприкасаются с одной и той же стенкой, нагревающейся (аккумулируя тепло) при прохождении горячего потока и охлаждающейся (отдавая аккумулированное тепло) при последующем прохождении холодного потока. Регенераторы являются аппаратами периодического действия, рекуператоры могут работать как в периодическом, так и в непрерывном режимах.
1.2.2 Обзор типовых теплообменных аппаратов
При небольших тепловых нагрузках, когда требуемая поверхность теплообмена не превышает 20 — 30 м2, целесообразно применение теплообменников типа «труба в трубе» Такие теплообменники изготовляют следующих типов: 1) неразборные однопоточные малогабаритные; 2) разборные одно- и двухпоточные малогабаритные; 3) разборные однопоточные; 4) неразборные однопоточные; 5) разборные многопоточные.
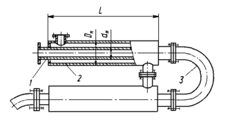
Неразборный теплообменник типа «труба в трубе» изображен на рисунке 1 Эти теплообменники могут иметь один ход или несколько (обычно четное число) ходов.
1 — теплообменная труба, 2 — кожуховая труба, 3 — калач
Рисунок 1 – Неразборный теплообменник типа «труба в трубе»
Конструкция разборного теплообменника показана на рисунке 2 Однопоточный малогабаритный теплообменник (рисунок 2) имеет распределительную камеру для наружного теплоносителя, разделенную на две зоны продольной перегородкой. В крышке размещен калач, соединяющий теплообменные трубы. Кожуховые трубы крепятся в трубных решетках, теплообменные трубы герметизируются с помощью сальниковых уплотнений. Однопоточные разборные теплообменники из труб большого диаметра (более 57 мм) выполняются без распределительной камеры, так как штуцер для подвода наружного теплоносителя можно приварить непосредственно к кожуховым трубам.
1 — теплообменная труба 2 — распределительная камера для наружного теплоносителя 3 — кожуховая труба, 4 — крышка
Рисунок 2 – Разборный однопоточный малогабаритный теплообменник типа «труба в трубе»
Достоинством рассматриваемых теплообменных аппаратов ям является возможность создания высоких и даже одинаковых скоростей обоих теплоносителей и, следовательно, больших коэффициентов теплоотдачи. К числу их недостатков относятся большое гидравлическое сопротивление и значительная металлоемкость.
Наиболее широкое распространение получили кожухотрубчатые теплообменные аппараты, используемые для теплообмена между потоками в различных агрегатных состояниях (пар ─ жидкость, жидкость ─ жидкость, газ ─ газ, газ ─ жидкость).
Кожухотрубчатые теплообменные аппараты могут использоваться в качестве теплообменников, холодильников, конденсаторов и испарителей.
Теплообменники предназначены для нагрева и охлаждения, а холодильники — для охлаждения (водой или другим нетоксичным, непожаро- и невзрывоопасным хладоагентом) жидких и газообразных сред. Кожухотрубчатые теплообменники и холодильники могут быть двух типов: Н — с неподвижными трубными решетками и К — с линзовым компенсатором неодинаковых температурных удлинений кожуха и труб. Наибольшая допускаемая разность температур кожуха и труб для аппаратов типа Н может составлять 20 — 60 градусов, в зависимости от материала кожуха и труб, давления в кожухе и диаметра аппарата.
Теплообменники могут устанавливаться горизонтально или вертикально, быть одно-, двух-, четырех- и шестиходовыми по трубному пространству. Трубы, кожух и другие элементы конструкции могут быть изготовлены из углеродистой или нержавеющей стали. Распределительные камеры и крышки холодильников выполняют из углеродистой стали.
Кожухотрубчатые конденсаторы предназначены для конденсации паров в межтрубном пространстве, а также для подогрева жидкостей и газов за счет теплоты конденсации пара. Они могут быть с неподвижной трубной решеткой или с температурным компенсатором на кожухе, вертикальные или горизонтальные. Конденсаторы могут быть двух-, четырех- и шестиходовыми по трубному пространству
В кожухотрубчатых испарителях в трубном пространстве кипит жидкость, а в межтрубном пространстве может быть жидкий, газообразный, парообразный, парогазовый или парожидкостной теплоноситель. Эти теплообменники могут быть только вертикальными одноходовыми, с трубками диаметром 25X2 мм. Они могут быть с неподвижной трубной решеткой или с температурным компенсатором на кожухе. Применение кожухотрубчатых теплообменников с температурным компенсатором на кожухе (линзовый компенсатор) ограничено предельно допустимым давлением в кожухе, равным 1,6 МПа. При большем давлении в кожухе (1,6 — 8,0 МПа) следует применять теплообменники с плавающей головкой или с U-образными трубами.
На рисунке 3 изображен кожухотрубчатый теплообменник с плавающей головкой, предназначенной для охлаждения (нагревания) жидких или газообразных сред без изменения их агрегатного состояния. Не закрепленная на кожухе вторая трубная решетка вместе с внутренней крышкой, отделяющей трубное пространство от межтрубного, образует так называемую плавающую головку. Такая конструкция исключает температурные напряжения в кожухе и в трубах. Кожухотрубчатые конденсаторы с плавающей головкой отличаются от аналогичных теплообменников большим диаметром штуцера для подвода пара в межтрубное пространство. Допустимое давление охлаждающей среды в трубах до 1,0 МПа, в межтрубном пространстве — от 1,0 до 2,5 МПа. Эти аппараты могут быть двух-, четырех- и шестиходовыми по трубному пространству. Диаметр кожуха от 600 до 1400 мм, высота труб 6,0 м.
1 — крышка распределительной камеры, 2 — распределительная камера, 3 — кожух, 4 — теплообменные трубы, 5 — перегородка с сегментным вырезом, 6 — штуцер, 7 — крышка плавающей головки, 8 — крышка кожуха
Рисунок 3 – Кожухотрубчатый теплообменник с плавающей головкой
Теплообменники с U-образными трубами (рисунок 4) применяют для нагрева и охлаждения жидких или газообразных сред без изменения их агрегатного состояния. Они рассчитаны на давление до 6,4 МПа, отличаются от теплообменников с плавающей головкой менее сложной конструкцией (одна трубная решетка, нет внутренней крышки), однако могут быть лишь двухходовыми, из труб только одного сортамента: 20X2 мм. Кожухотрубчатые испарители с трубными пучками из U-образных труб или с плавающей головкой имеют паровое пространство над кипящей в кожухе жидкостью. В этих аппаратах, всегда расположенных горизонтально, горячий теплоноситель (в качестве которого могут быть использованы газы, жидкости или пар) движется по трубам. Кожухотрубчатые испарители могут быть с коническим днищем (рисунок 5) диаметром 800—1600 мм и с эллиптическим днищем диаметром 2400—2800 мм. Последние могут иметь два или три трубных пучка. Допустимые давления в трубах составляют 1,6—4,0 МПа, в кожухе — 1,0—2,5 МПа при рабочих температурах от —30 до 450°С, т. е. выше, чем для испарителей с линзовым компенсатором.
1 — распределительная камера, 2 — кожух, 3 — теплообменные трубы, 4 — перегородка с сегментным вырезом, 5 — штуцер
Рисунок 4 – Кожухотрубчатый теплообменник с U образными трубами
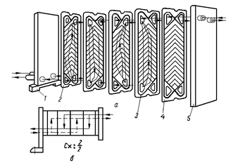
Наибольшей компактностью отличаются пластинчатые теплообменные аппараты; их удельная рабочая поверхность достигает 1500 м2/м3.
В пластинчатых теплообменниках поверхность теплообмена образована набором тонких штампованных гофрированных пластин Эти аппараты могут быть разборными, элуразборными и неразборными (сварными) В пластинах разборных теплообменников (рисунок 6) имеются угловые отверстия для прохода теплоносителей и пазы, в которых закрепляются уплотнительные и компонующие прокладки из специальных термостойких резин. Пластины сжимаются между неподвижной и подвижной плитами таким образом, что благодаря прокладкам между ними образуются каналы для поочередного прохода горячего и холодного теплоносителей. Плиты снабжены штуцерами для присоединения трубопроводов. Неподвижная плита крепится к полу, пластины и подвижная плита закрепляются в специальной раме. Группа пластин, образующих систему параллельных каналов, в которых данный теплоноситель движется только в одном направлении (сверху вниз или наоборот), составляет пакет. Пакет по существу аналогичен одному ходу по трубам в многоходовых кожухотрубчатых теплообменниках.
1 — кожух, 2 — трубчатая решетка плавающей головки, 3 — теплообменные трубы, 4 — неподвижная трубная решетка, 5 — распределительная камера 6 — крышка распределительной камеры, / — люк для монтажа трубного пучка, // — выход остатка продукта, /// — дренаж, IV — вход жидкого продукта V — выход газа или жидкости (теплового агента), VI — вход пара или жидкости (теплового агента), VII — выход паров продукта, VIII — люк
Рисунок 5 – Кожухотрубчатый испаритель с паровым пространством
Широкое применение получили пластинчато-ребристые теплообменные аппараты компактность которых достигает 2000 м2/м3. Большими достоинствами этих аппаратов являются: возможность осуществления теплообмена между тремя, четырьмя и более теплоносителями; наименьший вес и объем (следовательно, и стоимость) по сравнению с другими аппаратами. По своему устройству пластинчато-ребристые теплообменники представляют собой набор тонких пластин, между которыми располагаются тонкие гофрированные листы, припаянные к каждой пластине. Таким образом, образуются сребренные поверхности теплообмена, а теплоноситель разбивается на ряд мелких потоков. Аппарат может быть собран из любого числа пластин, а теплоносители могут двигаться либо прямотоком, либо перекрестным током.
1 — неподвижная плита, 2 — теплообменная пластина, 3 — прокладка, 4 — концевая пластина, 5 — подвижная плита
Рисунок 6 – Пространственная схема движения теплоносителей (а) и условная схема компоновки пластин (б) в однопакетном пластинчатом разборном теплообменнике
1.3 Современное аппаратурно-технологическое оформление процесса теплообмена
Теплообмен является одним из важнейших процессов как в живой природе, так и для технологических производств. Поэтому немало было разработано и разрабатывается по сей день теплообменных установок, разнообразных методов проведения и контроля теплообменных процессов.
К современному теплообменному оборудованию относят теплообменник который был изобретён в 1998 году Плоским А.А., Банниковым Н.В., Громовым А.П., Суворовым А.П. и Федоровым Н.Н. (акционерное общество открытого типа "Чебоксарский завод промышленных тракторов"). Изобретение может быть использовано в теплообменниках для нагрева теплом газов жидкого теплоносителя. Изобретение позволяет компенсировать сердцевины теплообменников из сравнительно дешевых штампованных пакетов, обеспечивающих удобство их чистки в эксплуатации и должную турбулизацию теплоносителей.
Задачей данного изобретения является создание теплообменника, исключающего сварку при изготовлении пакетов сердцевины, а также обеспечивающего удобство чистки их в условиях эксплуатации и должную турбулизацию теплоносителей.
Поставленная задача достигнута здесь благодаря тому, что пакеты теплообменника, содержащего корпус с состоящей из штампованных пакетов сердцевиной и патрубками для подвода теплоносителей в соответствующие полости для вывода их из тех же полостей, выполнены в виде бесшовных труб с прямоугольными торцами, соседние боковые стороны которых совмещены друг с другом, а полости теплоносителей внутри пакетов и между ними образованы волнообразными углублениями на сплющенных боковых поверхностях пакетов, крайние из которых образуют боковые стенки корпуса. Указанная совокупность отличается от прототипа и не обнаружена среди аналогичных теплообменников — аналогов в тракторной отрасли техники. Более подробное описание данного теплообменника представлено в приложении А.
Государственная морская академия им. адм. С.О. Макарова (Овсянников М.К., Петухов В.А.) в 1998 году разработала способ контроля тепловой эффективности теплообменного аппарата. Изобретение предназначено для использования в теплотехнике и металлургии. Применение предлагаемого способа в практике эксплуатации судовых теплообменных аппаратов позволит объективно и достаточно точно оценить эффективность работы теплообменных аппаратов и определить периодичность их профилактической чистки и других работ по техобслуживанию, снизить затраты и повысить эффективность технической эксплуатации теплообменных аппаратов различного типа и назначения, более качественно выполнять работы по их совершенствованию на стадии проектирования и технологии изготовления.
Это способ контроля тепловой эффективности теплообменного аппарата (ТА), включающий измерение входных и выходных значений температуры теплообменных сред, вычисление коэффициента тепловой эффективности ТА (теплового КПД ТА), отличающийся тем, что измеряют одновременно разности значений температур обоих теплоносителей ∆tmax и ∆tmin в установившемся режиме работы ТА, после чего вычисляют et по формуле:
et = 1 – (∆tcp /∆tmax ) , (15)















