123603 (689532), страница 4
Текст из файла (страница 4)
де Q – середньодобова витрата стічних вод, м3/доб;
м3/доб.
Об’єм повітря для аерації стічної води в максимальну годину водовідведення:
м3/год.
Приймаємо 2 повітродувки (1 робоча і 1 резервну) марки ТВ – 300 – 1,6 продуктивністю 18000 м3/год та потужністю двигуна 172 кВт, тиском 0,14 Мпа.
5.2 Розрахунок вторинних відстійників
Вторинні відстійники влаштовуються для затримання активного мулу, який поступає разом з очищеною водою із аеротенків.
Запроектовано горизонтальні вторинні відстійники.
Вторинні відстійники розраховані по гідравлічному навантаженню з врахування концентрації активного мулу в аеротенку а, його мулового індексу І та концентрації активного мулу в освітленій воді аt за формулою:
, (5.19)
де
- коефіцієнт використання об’єму, залежить від типі відстійника, для горизонтальних приймається 0,45;
- глибина проточної частини відстійника (приймаємо 2,5 м);
а – концентрація активного мулу в аеротенку (приймається не більше 3 г/л [1]);
аt – концентрація мулу в освітленій воді (приймається не менше 10 мг/л [1]);
J – муловий індекс, J = 72,9 см3/г (по [1]);
м3/(м3*год).
Приймаємо 4 відділення вторинного відстійника.
Площа одного відстійника розраховується за формулою:
(5.20)
де n – кількість відстійників;
м2.
Довжину одного відділення відстійника визначаємо за формулою:
L = F/B = 259,5 / 6 = 42,3 м.
Остаточно приймаємо вторинний горизонтальний відстійник з 4 відділеннями шириною 6 м та довжиною L = 42 м.
6. Розрахунок споруд для дезинфекції стічної води
6.1 Розрахунок хлораторної установки
Дезинфекцію стічних вод проводять для винищення патогенних мікробів, які містяться в воді, та усунути небезпеку зараження водойми цими мікробами при випуску в неї очищених стічних вод.
Дезінфекція стічних вод може проводитись різними способами, але найбільш розповсюдженим є хлорування, тобто введення в стічну воду визначеної кількості хлору або хлорного вапна, гіпохлорита натрію.
Оскільки рідкий хлор розчиняється в воді погано, тому використовують хлор-газ.
Згідно з [1] доза активного хлору приймається для повністю очищеної стічної води 3 г/м3.
Потужність хлораторної установки визначається за максимальною витратою стічних вод та дозою хлору.
Витрата хлору за одну годину при максимальній витраті стічних вод:
(6.1)
де Дхл – доза активного хлору, приймаємо 3 г/м3 [1];
Qмаск.год. – максимальна годинна витрата стічних вод;
кг/год.
Витрата хлору за добу:
(6.2)
де Qдоб – добова витрата стічних вод (Qдоб = 24600 м3/доб);
кг/доб.
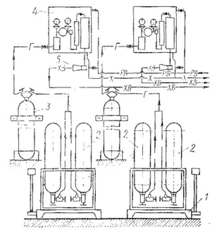
В хлораторній типу 901-3-16/70 передбачено установку (рис.3) з двома хлораторами типу ЛОНИИ-100 (рис.4) з наступними характеристиками: продуктивність – 5 кг/год, кількість хлораторів – 2, місткість складу хлору 1,3-8 т, площа хлораторної – 15х6 м2.
Установки для знешкодження рідким хлором проектуються з відбором хлором з стандартних сталевих балонів.
Кількість балонів-випаровувачів для забезпечення отриманої потужності за 1 годину:
(6.3)
де Sбал – зйом хлору з одного балону (приймаємо 0,7 кг/год);
балонів.
Приймаємо балони об’ємом 40 л, які містять 50 кг рідкого хлору. Для контролем за витратою хлору передбачаємо 1 ваги марки РП-500-П3(м), на яких можна розмістити 6 балонів.
За добу буде витрачено 73,8:50 = 1,48 балону. Запасу хлору вистачить на 6:1,48 = 4 доби. У приміщенні хлораторної розміщаються хлоратори ЛОНИИ-100 і 2 балони з хлором.
З хлоратору хлорна вода поступає в змішувач разом із стічною водою.
Цей змішувач складається із підводящого розтруба, горловини і відводящого розтруба. Бокові стінки вертикальні, дно має ухил в сторону руху води. Внаслідок звуження перетину та різкої зміни ухилу дна в відводящому розтрубі виникає гідравлічний приток, завдяки якому і протікає інтенсивне змішування хлорної води зі стічною водою.
1 – ваги; 2 – балони з рідким хлором; 3 – проміжний балон; 4 – хлоратор; 5 – ежектор.
рис.3 – схема хлораторної установки.
1 – запірний вентиль; 2 – фільтр; 3 – манометр високого тиску; 4 – редуктор; 5 – манометр низького тиску; 6 – регулюючий вентиль; 7 – ротаметр; 8 – змішувач; 9 – дозуючий бак; 10 – ежектор.
рис.4 – схема хлоратора ЛОНИИ -100.
Приймаємо змішувач типу "лоток Паршаля", основні характеристики якого наступні: пропускна здібність – 7000-32000 м3/доб, ширина горловини – 500 мм, ширина підводящого лотка – B = 600 мм, довжина лотка L = 6,1 м, загальна довжина змішувача – L1 = 13,63 м, втрати напору h = 0,2 м.
1 – подача хлорної води.
Рис.5 – Змішувач типу " лоток Паршаля".
6.2 Розрахунок контактного резервуару
Для забезпечення контакту хлору з стічною водою запроектуємо контактні резервуари по типу горизонтальних відстійників без скребків з ухилом днища 0,05. В контактних резервуарах стічна вода змішується з хлорною водою на протязі 30 хвилин. При цьому також враховується і той час, впродовж якого вода контактує з хлором, яка знаходиться в каналах, трубах, які відводять її у водойму.
Об’єм контактного резервуару розраховується за формулою:
(6.4)
де Т – тривалість контакту хлору з водою, Т = 20 хв.;
м3.
Приймаємо 1 контактний резервуар.
Довжина контактного резервуару при швидкості руху води v = 10 мм/с:
м. (6.5)
Площа живого перетину:
м2. (6.6)
При робочій глибині Н = 3 м та ширині секції b = 6 м кількість секцій:
секції.
Фактична тривалість контакту стічної води з хлором в годину максимального притоку:
год = 26,4 хв.
За визначеними даними приймаємо контактний резервуар типу 902-1-23-1 з наступними характеристиками: кількість секцій – 2, глибина робочої частини – 3,2 м, ширина однієї секції – 6 м, довжина – 18 м, робочий об’єм – 660-1100 м3.
















