123435 (689474), страница 2
Текст из файла (страница 2)
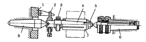
3– задняя бабка, состоит из продольных салазок, корпуса и выдвигаемой пиноли. 4– горизонтальная станина на двух тумбах, внутри передней тумбы двигатель привода главного движения, в задней- двигатель ускоренных подач суппорта, между тумбами – металлическое корыто для сбора стружки.
5- коробка подач, служит для изменения величин подач суппорта.
Метод работы: деталь крепится в центрах или в патроне и от шпинделя получает главное вращательное движение. Режущий инструмент – резец крепится в резцедержателе и получает движение продольной, поперечной и угловой подач. Хвостовые инструменты (сверла, зенкеры, метчики, развертки) крепятся в пиноли задней бабки и получают движение осевой подачи.
Особенности конструкции токарно-программных станков и особенности их применения
Конструктивно, программные и универсальные станки имеют те же узлы, но вместо механических приводов с ручным переключением подач и скоростей в этих станках стоят электроприводы с изменением скорости и подачи плавно, непрерывно по командам ЧПУ.
Назначение программных станков: токарная обработка точных диаметральных и линейных размеров, завязанных между собой жесткими требованиями цилиндричности, допусков перпендикулярности торцов коси деталей. Применяют в единичном и в серийном производствах.
В карусельных станках для обеспечения безопасности обслуживания ось шпинделя вертикальна, а базовая плоскость планшайбы - горизонтальна (рис.6).
Карусельные станки бывают: 1) одностоечные; 2) двухстоечные.
2. Токарно-карусельные станки. Относятся к классу средних и тяжелых станков, которые служат для обработки деталей диаметром от 500 мм и выше, массой более 50 – 100 кг.
Токарные станки серийного производства. Они отличаются от универсальных тем, что на них обрабатывают заготовки штампованные, литые, т.е. весь припуск можно снимать за один проход одного инструмента. Конструктивно у них имеется переднепоперечный суппорт и задний револьверный суппорт.
Токарно - револьверные станки позволяют резко увеличить производительность при обработки сложных деталей, требующих большого количества инструментов в серийном производстве.
Многорезцовые токарные полуавтоматы. Токарные резцовые полуавтоматы служат для обработки из поковок и отливок многоступенчатых валов в серийном и крупносерийном производстве. Такие станки могут одновременно выполнять более одной операции, с использованием большого количества инструментов (до 10 резцов), что серьёзно повышает производительность таких станков ( рис.7).
Рисунок 7. Эскиз устройства резцедержателя и обработки заготовки на многорезцовом токарном полуавтомате
Инструмент, применяемый при токарной обработке
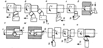
Резцы. Основными инструментами при токарной обработке являются резцы. В зависимости от характера обработки резцы бывают черновые и чистовые. Геометрические параметры режущей части этих резцов таковы, что они приспособлены к работе с большой и малой площадью сечения срезаемого слоя. По форме и расположению лезвия относительно стержня резцы подразделяют на прямые (рис. 8, а), отогнутые (рис.8, б), и оттянутые (рис.8, в). У оттянутых резцов ширина лезвия обычно меньше ширины крепежной части.
Рисунок 8. Разновидности токарных резцов: а — прямые, б — отогнутые, в — изогнутые, г — оттянутые по отношению к оси державки резца или быть смещено вправо или влево.
По назначению токарные резцы разделяют на проходные, расточные, подрезные, отрезные, фасонные, резьбовые и канавочные (рис.9).
Рисунок 9. Типы токарных резцов: а — проходные прямые и б — проходные отогнутые, в — проходные упорные, г, д — подрезные, е — расточные проходные, ж — расточные упорные, 3 — отрезные, и —фасонные, к —резьбовые
Проходные прямые (рис.9, а) и отогнутые (рис.9, б) резцы применяют для обработки наружных поверхностей.
Для одновременной обработки цилиндрической поверхности и торцовой плоскости применяют проходные упорные резцы (рис.9, в), работающие с продольным движением подачи.
Подрезные резцы применяют для подрезания торцов заготовок. Они работают с поперечным движением подачи по направлению к центру (рис.9, г) или от центра (рис.9, д) заготовки. Расточные резцы используют для растачивания отверстий, предварительно просверленных или полученных штамповкой или литьем. Применяют два типа расточных резцов: проходные - для сквозного растачивания (рис.9, е), упорные — для глухого (рис.9, ж).
Отрезные резцы применяют для разрезания заготовок на части, отрезания обработанной заготовки и протачивания канавок. Они работают с поперечным движением подачи (рис.9, з).
Фасонные резцы применяют для обработки коротких фа сонных поверхностей с длиной образующей линии до 30-40 мм. Форма режущей кромки фасонного резца соответствует профилю детали. По конструкции такие резцы подразделяют на стержне вые, круглые, призматические, а по направлению движения подачи — на радиальные и тангенциальные. На токарновинторезных станках фасонные поверхности обрабатывают, как правило, стержневыми резцами, которые закрепляют в резцедержателе станка (рис.9, и). Резьбовые резцы (рис.9, к) служат для формирования наружных внутренних резьб любого профиля: прямоугольного, треугольного, трапецеидального. Форма их режущих лезвий соответствует профилю и размерам поперечного сечения нарезаемых резьб.
По конструкции различают резцы цельные, изготовленные из одной заготовки; составные (с неразъемным соединением его частей); с припаянными пластинами; с механическим креплением пластин (рис.10).
Рисунок 10. Типы токарных резцов по конструкции: цельные (а, б) составные с припаянными (в) или с механическим креплением (г) пластинами.
Сверла. Свёрла предназначены для сверления и рассверливания орверстий диаметром до 80 мм. Различают следующие типы сверл (рис. 1 приложения): цилиндрические с винтовой канавкой и коническим хвостовиком (стандартные и удлиненные); сверла для рассверливания чугуна с пластинкой из твердого сплава; перовые для глубоких отверстий; полые для кольцевого сверления отверстий диаметром более 60 мм.
Зенкеры. Зенкеры предназначены для окончательной обработки просверленных отверстий по 11, 12-13 квалитетам или для обработки гнезд с плоским дном под головки винтов и болтов.
Зенкеры бывают следующих типов (рис. 2 приложения): 1) со спиральным зубом, коническим и цилиндрическим хвостовиком (быстрорежущие или с пластинками твердого сплава); 2) со спиральным зубом (насадные и цельные); 3)насадные, со вставными ножами, быстрорежущие; 4) насадные, оснащенные твердым сплавом; 5) для цилиндрических углублений (цельные и съемные); 6) для зачистки торцовых поверхностей (пластинчатые или со вставными ножами); 7) зенковки обратные со штифтовым замком, оснащенные пластинками твердого сплава; 8) специальные для борштанг.
Развертки. Развертки предназначены для чистовой обработки отверстий с целью получения правильной формы и точных размеров по 6-7 и 8-9 квалитетам и шероховатости поверхности по 7-8 классам.
Типы разверток следующие (рис. 3 приложения): 1)цельные с цилиндрическим или коничским хвостовиком; 2) насадные для сквозных и глухих отверстий; 3) конические; 4) специальные для оправок и борштанг.
Метчики. На токарных станках нарезание резьбы в отверстиях производятся машинными метчиками или резьбовыми резцами. Машинные метчики (рис. 15) используют для нарезания метрической резьбы от М6 до М52 мм, дюймовой резьбы от ¼ до 2'' , трубной резьбы от 1/8 до 2'' и конической резьбы от 1/16 до 2''.
Рисунок 15. Метчики: а — для цилиндрических резьб, б — для конических резьб
Резьбы большого диаметра нарезают сборными регилируемыми метчиками, размеры и конструкция которых не стандартизированы.
Технологическая оснастка
Универсальность металлорежущего станка расширяется применением принадлежностей и приспособлений. На токарном станке основными из них являются: патроны, центры (рис.16), люнеты. Применяются и вспомогательные приспособления: сверлильный патрон, переходные втулки, хомутики.
Рисунок 16. Вращающийся центр
Из патронов наибольшее распространение получил самоцентрирующийся трех кулачковый патрон (рис.17). Его конструкция обеспечивает одновременное перемещение трех кулачков в радиальном направлении, благодаря чему заготовка устанавливается по оси шпинделя.
Рисунок 17. Самоцентрирующийся трех кулачковый патрон
При несимметричном сечении заготовок, когда правильное ее закрепление в трех кулачковом патроне невозможно, применяют четырех кулачковый патрон с раздельным зажимом кулачков или планшайбу (рис.18).
Рисунок 18. Планшайба
При обработке в центрах, для придания вращения заготовке, применяют поводковые патроны (рис.19). При наружной обработке длинномерных заготовок малого диаметра с целью предотвращения прогиба используют неподвижный (рис.20, а) или подвижный (рис.20, б) люнеты.
Рисунок 19. Обработка в центрах: 1 — поводковый патрон, 2 — передний центр, 3 — хомутик, 4 — задний патрон, 5 — пиноль задней бабки
Рисунок 20. Обработка длиномерных заготовок с использованием неподвижного (а) и подвижного (б) люнетов
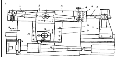
Конические поверхности на токарном станке обрабатывают следующим способами: широким, токарным резцом, поворотом верхних салазок, смещением корпуса задней бабки в поперечном направлении и с помощью копирной или конусной линейки.
Широким резцом (рис.21, а) обтачивают обычно короткие конические поверхности с длиной в 25- 30 мм.
При обработке конических поверхностей поворотом верхнего суппорта (рис.21, б) его устанавливают под углом, равным половине угла при вершине обрабатываемого конуса. Обработка ведется при ручной подаче. Угол поворота определяется по формуле:
Смещением корпуса задней бабки в поперечном направлении (рис.21, в) обтачивает длинные конические поверхности с небольшим углом конуса при вершине (до 12°). При этом смещение заднего центра в поперечном направлении определяется из выражения:
Способ обработки конических поверхностей с помощью конусной линейки (рис.21, г), прикрепляемой к станине станка, позволяет получать коническую поверхность с углом при вершине до 40°. Обработка ведется с включением механической подачи.
Рисунок 21. Способы обтачивания конусов: а - широким резцом, б- поворотом верхнего суппорта, в -смещением корпуса задней бабки; г - с помощью конусной линейки, 1- поворотная линейка, 2 - ползушка, 3 - неподвижная линейка, 4 - винт, 5 - шкала, 6- тяга, 7 - кронштейн, 8 -салазки, 9 –корпус; где D u d- диаметры обрабатываемых конических поверхностей, мм; L - высота конуса, мм.
В зависимости от формы и размеров заготовок применяют различные способы их закрепления. При отношении длины заготовки к диаметру L/D < 4 заготовку закрепляют в патроне. При 4 Распространенным способом является обработка в центрах (рис. 22), так как она позволяет переставлять деталь со станка на станок без последующей выверки. При этом в торцах обрабатываемой детали предварительно засверливают центровые отверстия. Форма и размеры центровых отверстий (рис.22) стандартизованы. При установке на станке в эти отверстия входят острия центров передней и задней бабок станка. Для передачи вращения от шпинделя передней бабки к обрабатываемой детали применяют поводковый патрон 1 (рис.22), устанавливаемый на шпинделе, и хомутик 2, закрепленный на заготовке. Рисунок 22. Обработка в центрах: 1 -поводковый патрон, 2 — хомутик, 3 - гайка, 4 -стержень, 5 -гайка, 6 - вращающийся центр, 7 - втулка, 8 - передний центр Центры устанавливаются в шпинделе станка и пиноли задней бабки. Центр, установленный в шпинделе, вращается вместе с заготовкой. Простой центр (рис.23, а), установленный в пиноли задней бабки, не вращается, поэтому изнашивается сам и изнашивает центровое отверстие заготовки. Для предотвращения износа применяют вращающийся центр Иногда используют: срезанный центр при подрезке торца; обратный центр (рис.23, б) при обтачивании заготовок небольшого диаметра (до 5 мм). Рисунок 23. Токарные центры: а — простой центр (1 — конус, 2 — шейка, 3 — конус, 4 — хвостовик); б — обратный центр Автоматизация и механизация токарной обработки Чтобы повысить производительность и качество токарной обработки, рациональнее использовать рабочее время токаря и повысить эффективность его труда, проводят постоянную работу по автоматизации и механизации токарных станков. Автоматизация – это процесс создания приборов, устройств и механизмов, которым частично или полностью передаются функции управления станком и контроля качества обработки деталей. Механизация – это оснащение станка устройствами, которые облегчают труд токаря и освобождают его от выполнения физически тяжелых, трудоемких и утомительных работ. К средствам механизации относят транспортные средства, зажимные устройства (самозажимные поводковые патроны, патроны с пневмо - или гидрозажимом, заднюю бабку с гидро - или пневмоприводом пиноли), механизированный привод подач резцовых салазок, задней бабки, а также гидросуппорт, который позволяет обрабатывать заготовки по копиру, закрепляемые в центрах и в патроне, по наружным и внутренним поверхностям. К средствам автоматизации можно отнести устройства управления (датчики, кулачки, ограничители, конечные выключатели, упоры) и измерения, загрузочные устройства, устройства уборки стружки, действие которых скоординировано с работой станка и требует вмешательства рабочего только при наладке станка или при подналадке в процессе работы. В условиях серийного производства деталей эффективно использование автоматов и полуавтоматов, обрабатывающих детали типа втулок, колец, валов, включая контроль их размеров, автоматически, без участия рабочего, который следит за исправной работой автомата, периодически загружает его заготовками и контролирует качество обработки. Обработка деталей на полуавтомате производится с участием рабочего, который производит смену заготовки, пуск станка, измерение обработанной детали и др. Автоматы и полуавтоматы, связанные между собой транспортными и загрузочными устройствами, образуют автоматизированные участки (если имеется возможность переналадки на обработку другой детали) или автоматическую линию (если такая возможность практически отсутствует). Станки с числовым программным управлением (ЧПУ) по сравнению с обычными имеют следующие преимущества: повышение производительности и сокращение времени переналадки станка с одной детали на другую; сокращение сроков подготовки производства и др. Огромное число морально устаревших станков может быть рационально использовано путем модернизации силами предприятия. Модернизация оборудования не является временным мероприятием. В связи с тем, что моральное старение станочного оборудования происходит значительно быстрее его физического износа, промышленные предприятия вынуждены постоянно заниматься вопросами модернизации станков. Из всего вышесказанного в данной работе можно заключить, что токарная обработка является одним из самых универсальных видов обработки. Этим методом можно получать детали любой формы при любых требованиях к чистоте и точности обрабатываемых поверхностей. Однако универсальность токарной обработки (универсальные методы, универсальное оборудование) способствует увеличению стоимости изготовления, т.к. многие операции требуют ручного труда высокой квалификации. На токарных станках производится обработка наружных и внутренних цилиндрических, конических, фасонных поверхностей, торцевых плоскостей; нарезка резьбы внутренней и наружной резцами, метчиками и плашками; обрабатываются отверстия сверлами, зенкерами, развертками; накатывается рельеф и мелкомодульные зубчатые колеса и другое. При токарной обработке применяются различные приспособления, повышающие производительность и сокращают трудоемкость рабочих. Для повышения производительности и качества токарной обработки, рационального использования рабочего времени токаря и повышения эффективности его труда, проводят постоянную работу по автоматизации и механизации токарных станков. Универсальность токарного станка играет большую роль в производстве деталей, однако требует больших затрат высококвалифицированного труда рабочих. Но в условиях серийного производства рациональнее использовать автоматические и полуавтоматические станки, работающих без участия человека или с малозначительной ролью такового в процессе обработки. Станки с числовым программным управлением (ЧПУ) имеют ряд преимуществ по сравнению с обычными, а именно они в значительной мере повышают производительность и сокращают время переналадки станка с одной детали на другую; сокращают сроки подготовки производства и повышают точность и качество обработки. Список использованной литературы Лахтин Ю.М., Леонтьева В.П. Материаловедение: Учебник для машиностр. вузов – 2-е изд., перераб. и доп. – М: Машиностроение. 1980.-493 с., ил. Обработка металлов резанием: Справочник технолога. А.А. Панов и др.; Под общ. Ред. А.А. Панова. 2-е изд., перераб. и доп. –М.: Машиностроение, 2004.-784 с. Оглоблин А.Н. Основы токарного дела. Изд. 3-е, перераб. Под ред. Проф. Г.А.Глазова. Л.: Машиностроение. 1974. -328 с. Тепинкичев В.К. Станки металлорежущие. Уч. Мет. Пособие для вузов. Рисунок 1. Сверла: а – цилиндрические с винтовой канавкой и коническим хвостовиком, б – цилиндрические с пластинкой ВК8, в – перовые для глубоких отверстий, г- полые для кольцевого сверления отверстий Рисунок 2. Зенкеры: а- цилиндрические с винтовой канавкой и пластинками ВК8, б- насадной, цельный, в - насадной со вставными ножами, г —насадной с ножами ВК8 и Т15К6, д - целый и съемный для цилиндрических углублений, е — пластинчатый и со вставными ножами для обработки торцов, ж — обратные зенковки с ножами ВК8 и Т15К6 и штифтовым замком, 3— специальный для борштанг Рисунок 3. Развертки: а — цилиндрическая с коническим хвостовиком, б — насадная, в — коническая, г — специальная для борштанг
Заключение
Приложение















