123017 (689338), страница 3
Текст из файла (страница 3)
Упаковка молока
Рисунок 9 – Схема упаковки молока в полиэтиленовые пакеты
Автомат для упаковки молока в пакеты (мешочки): 1-рулон; 2-механизм для нанесения даты; 3-бактерицидная лампа; -формующая труба; 5-дозатор; 6 - механизм продольной сварки; 7-механизм поперечной сварки и резки пакетов; 8 -заваренный и отрезанный пакет; 9-транспортер пактов; 10- бункер; 11-фотоэлемент счетного устройства. Упаковочная бумажная лента сначала подается с рулона 1 в емкость химической обработки, которая наполнена перекисью водорода, а затем огибает направляющий ролик и проходит в зоне бактерицидной лампы 3. В формующем колесе лента свертывается в трубу 4. Бумажная труба проходит через электронагреватель, в котором быстро нагревается до 300-400°С, в результате чего мгновенно разлагается перекись водорода, и тем самым достигается надежная стерилизация пакетов. После стерилизации пакетов в бумажную трубу непрерывным потоком поступает стерилизованное и охлажденное молоко. При этом ценообразование полностью исключается. В нижней части транспортера находится механизм 7 для поштучной резки пакетов, наполненных молоком. Отрезанные пакеты подают в ковши подъемного механизма укладчика, который укреплен в основании автомата. Пакеты автоматически укладываются в специальные корзины шестигранной формы.
2. Обзор литературных источников
В настоящее время существует большое разнообразие машин для гомогенизации молочных продуктов российского и иностранного производства. К ним относятся гомогенизаторы, с одно- и двухступенчатой гомогенизирующей головкой, а также клапанные и плунжерные, с высоким и низким давлением гомогенизации. Рассмотрим некоторые варианты оборудования для гомогенизации.
Гомогенизаторы предназначены для дробления и равномерного распределения жировых шариков в молоке и жидких молочных продуктах. Гомогенизаторы представляют собой многоплунжерные насосы высокого давления с гомогенизирующей головкой. Привод их осуществляется от электродвигателей с помощью клиноременной передачи.
Гомогенизация осуществляется путем прохода продукта под высоким давлением с большой скоростью через гомогенизирующую головку, представляющую собой две ступени – щели между притертыми клапаном и седлом, соединенные между собой каналом. Давление в гомогенизаторе регулируется вращением винтов, изменяющих размер щели между клапаном и седлом. При этом на первой ступени устанавливают ѕ необходимого для конкретного продукта давления гомогенизации, на второй – рабочее давление.
Гомогенизаторы состоят из следующих основных узлов: кривошипно-шатунного механизма с системой смазки и охлаждения, плунжерного блока с гомогенизирующей и манометрической головками и предохранительным клапаном, станины с приводом. Привод гомогенизатора осуществляется от электродвигателя с помощью клиноременной передачи. Кривошипно-шатунный механизм гомогенизатора предназначен для преобразования вращательного движения, передаваемого клиноременной передачей от электродвигателя, в возвратно-поступательное движение плунжеров, которые посредством манжетных уплотнений входят в рабочие камеры плунжерного блока и, совершая всасывающие и нагнетательные ходы, создают в нем необходимое давление гомогенизирующей жидкости.
Кривошипно-шатунный механизм состоит из корпуса; коленчатого вала, установленного на двух конических роликоподшипниках; крышек подшипников; шатунов с крышками и вкладышами; ползунов, шарнирно-соединенных с шатунами при помощи пальцев; стаканов; уплотнений; крышки корпуса и ведомого шкива, консольно закрепленного на конце коленчатого вала. Внутренняя полость корпуса кривошипно-шатунного механизма является масляной ванной. В задней стенке корпуса смонтированы маспоуказатель и сливная пробка.
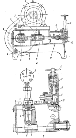
2.1 Гомогенизатор ОГБ-М
Рисунок 10 – Гомогенизатор ОГБ – М
а – общий вид: 1 – станина; 2 – электродвигатель; 3 – клиновые ремни; 4 – натяжной винт; 5 – шкив; 6 – коленчатый вал; 7 – гомогенизирующая головка; 12 – смывное приспособление; б – разрез блока цилиндров и гомогенизирующей головки: 1 – всасывающий канал; 2 – всасывающий клапан; 4 – нагнетательный канал; 5 – манометр; 6 – винт; 7 – пружина; 8 – стержень; 9 – клапан; 10 – седло.
2.2 Гомогенизатор А1-ОГМ-2,5
Рисунок 11 - Гомогенизатор А1-ОГМ-2,5
1 - станина; 2 - предохранительный клапан; 3 - манометрическая головка; 4 - плунжерный блок; 5 - манометр системы смазки; В - амперметр; 7 - гомогенизирующая головка.
Технические характеристики гомогенизатора А1-ОГМ-2,5
Производительность, л/ч 1250
Максимальное давление гомогенизации, МПа 18
Количество ступеней гомогенизации, шт 2
Количество плунжеров, шт 3
Установленная мощность двигателя, кВт 12
Габаритные размеры, мм 970×860×1400
Гомогенизаторы марки А1-ОГМ-2,5 имеют принудительную систему смазки наиболее нагруженных трущихся пар, которая применяется в сочетании с разбрызгиванием масла внутри корпуса, что увеличивает теплоотдачу. Охлаждение масла у этих гомогенизаторов производится водопроводной водой посредством змеевика, охлаждающего устройства, уложенного на дне корпуса, а плунжеры охлаждаются водопроводной водой, попадающей на них через отверстия в трубе. В системе охлаждения установлено реле протока, предназначенное для контроля за протеканием воды. В состав принудительной системы смазки входят сетчатый фильтр, маслонасос с индивидуальным приводом, распределительная коробка, предохранительный клапан и манометр для контроля давления в масляной системе. К корпусу кривошипно-шатунного механизма при помощи двух шпилек крепится плунжерный блок, который предназначен для всасывания продукта из подающей магистрали и нагнетания его под высоким давлением в гомогенизирующую головку. Плунжерный блок включает в себя блок, плунжеры, манжетные уплотнения, нижние, верхние и передние крышки, гайки, всасывающие и нагнетательные клапаны, седла клапанов, прокладки, втулки, пружины, фланец, штуцер и фильтр, который устанавливается во всасывающем канапе блока, К торцовой плоскости плунжерного блока крепится гомогенизирующая головка, предназначенная для выполнения двухступенчатой гомогенизации продукта за счет прохода его под высоким давлением через щель между клапаном и седлом клапана в каждой ступени. Гомогенизирующая головка представляет собой две одноступенчатые головки аналогичной конструкции, соединенные вместе и связанные каналом, позволяющим продукту переходить последовательно от первой ступени ко второй. Каждая из ступеней двухступенчатой гомогенизирующей головки состоит из корпуса, клапана, седла клапана и нажимного устройства, включающего стакан, шток, пружину и нажимной винт с рукояткой.
Регулировка давления гомогенизации производится вращением винтов. При установлении режима гомогенизации продукта на первой ступени устанавливают 3/4 необходимого давления гомогенизации, а затем на второй ступени вращением нажимного винта повышают давление до рабочего. На верхней плоскости плунжерного блока крепится манометрическая головка, которая предназначена для осуществления контроля давления гомогенизации, т.е. давления на нагнетательном коллекторе плунжерного блока. Манометрическая головка имеет дросселирующее устройство, дающее возможность эффективно уменьшить амплитуду колебания стрелки манометра. Манометрическая головка состоит из корпуса, иглы, уплотнения, гайки, поджимающей уплотнение, шайбы и манометра с мембранным разделителем. К торцовой плоскости плунжерного блока со стороны, противоположной креплению гомогенизирующей головки, крепится предохранительный клапан, который предотвращает повышение давления гомогенизации выше номинального. Предохранительный клапан состоит из винта, контргайки, пяты, пружины, клапана и седла клапана. На максимальное давление гомогенизации предохранительный клапан настраивается вращением нажимного винта, который передает усилие нажатия на клапан посредством пружины. Станина представляет собой сварную конструкцию из швеллеров, обшитых листовой сталью. На верхней плоскости станины устанавливается кривошипно-шатунный механизм. Внутри станины на двух кронштейнах шарнирно крепится плита, на которой устанавливается электродвигатель. С другой стороны плита поддерживается винтами, регулирующими натяжение клиновых ремней. Станина гомогенизаторов марки А1-ОГМ-2,5 устанавливается на четырех регулируемых по .высоте опорах. Боковые окна станины закрываются съемными крышками. Верхняя часть станины закрыта кожухом, предназначенным для ограждения механизмов от повреждений и придания гомогенизатору необходимой эстетической формы. Молоко или молочный продукт подается при помощи насоса во всасывающий канал плунжерного блока. Из рабочей полости блока продукт под давлением подается через нагнетательный канал в гомогенизирующую головку и с большой скоростью проходит через кольцевой зазор, образующийся между притертыми поверхностями гомогенизирующего клапана и его седла. При этом происходит диспергирование жировой фазы продукта.
В дальнейшем продукт из гомогенизирующей головки направляется по трубопроводу на дальнейшую обработку или хранение.
2.3 Гомогенизатор ГМ-0,5/20
Рисунок 12 - Гомогенизатор ГМ-0,5/20
Техническая характеристика
Производительность, л/час 500
Мощность, кВт 4
Число ступеней гомогенизации, шт 2
Давление гомогенизации, МПа 20
2.4 Вакуумный миксер-гомогенизатор
Рисунок13 - Вакуумный миксер-гомогенизатор
Установка представляет собой вакуумный реактор, с перемешивающим устройством, к которому на рециркуляцию подсоединен гомогенизатор. После загрузки основных компонентов в емкость реактора, из системы откачивается воздух, и установку включают в режим рециркуляции, в процессе которой происходит измельчение и смешивание загруженных компонентов. Встроенная в систему воронка позволяет дозагружать необходимые компоненты в процессе гомогенизации.
Основным преимуществом данной конструкции является то, что она позволяет смешивать между собой такие компоненты, которые при смешивании на открытом воздухе затвердевают еще в процессе смешивания.
2.5 Гомогенизатор СВА - 3
Рисунок 14-Гомогенизатор СВА - 3
Гомогенизатор модели СВА - 3 используется для получения мелкодисперсной, равноперемешанной, устойчивой структуры вязких продуктов, получаемых из нескольких ингредиентов. Продукт, попадая в гомогенизатор, проходит путь через узкие, постоянно меняющиеся зазоры между ротором и статором. В результате осуществляется измельчение продукта до мелкодисперсного состояния и одновременная его перекачка. Гомогенизатор применяется в пищевой, косметической, химической, фармацевтической промышленностях.
Технические характеристики гомогенизатора СВА - 3
| Производительность кг/час | до 700 |
| Масса, кг | 30 |
| Габаритные размеры, мм | 450х300х250 |
| Диаметр входа, мм | Dу –32 |
| Диаметр выхода, мм | Dу –32 |
2.6 Гомогенизаторы производства компании Bertoli Srl H5150
Рисунок 15 - Гомогенизаторы производства компании Bertoli Srl
Технические характеристики H5150.
Производительность л/час 22000
Количество плунжеров, шт. 5
Потребление энергии, кВт 160
Габаритные размеры, мм 1440х1680х2660
Технические достоинства
1. Высокая эффективность гомогенизации молока. При давлении 200 бар и температуре 65...70С эффективность гомогенизации составляет 90...95%, что на 10...15% лучше отечественных аналогов. Средний размер жировых шариков после гомогенизации - 0.85мкм.
2. Отсутствие вибраций и шумов. Опоры гомогенизатора крепятся к станине через вибропоглащающие соединения, что на практике исключает вибрации при работе. Тестовый уровень вибраций в пределах 0.45...3.0 мм/сек (для различных точек измерения), соответствует требованиям ЕС.
3. Износоустойчивость клапанной группы. Гомогенизирующая головка изготовлена из никель-хром-молибденового сплава специально для применений при высоких давлениях. Самоцентрирующиеся нержавеющие поршни. Клапаны и седла выполнены из высококачественного износоустойчивого нержавеющего сплава.
4. Фиксированная и регулируемая производительность. Гомогенизатор может быть укомплектован шкафом управления для фиксированной производительности или шкафом управления для регулируемой производительности. [15]















