122805 (689240), страница 6
Текст из файла (страница 6)
1. Визначаємо робочий тиск приводу з нормалізованого ряду тиску (ГОСТ 356-59) Р, керуючись технологічними умовами, конструктивними особливостями машини, наявністю гідроапаратури.
2. Розраховуємо діаметр циліндра Д0 з умови:
враховуючи, що до 20% (0,2) потужності насосної станції витрачається на подолання опорів в гідравлічних магістралях і апаратури приводу, що управляє, на тертя у виконавчому механізмі і ущільненнях штока і поршня гідроциліндра:
3. Вибір основних параметрів гідроциліндрів, зокрема діаметрів поршнів і штоків, регламентується ГОСТ 6340-64. Тому отриманий діаметр Д0 слід округляти до найближчого стандартного значення (округлення проводиться, як правило, у бік збільшення)
.
Діаметр штока dш визначається зазвичай з умови:
.
Отримані dш також округляють до найближчого великого по ГОСТ 6540-64 dш.
4. Визначення раціонального діаметру трубопроводів гідроприводу d проводиться після підрахунку витрати Qмасла, необхідної для забезпечення заданої швидкості поршня циліндрів діаметром
:
.
5. Швидкість перебігу рідини, що рекомендується, в трубопроводах при робочому тиску від 25 • 105 Н/м2 до 100 • 105 Н/м2 складає 3 – 6 м/сек, зростаючи із збільшенням тиску. Приймаючи цю швидкість в приводі машини Vр, визначуваний внутрішній діаметр трубопроводу з рівності:
,
звідки
.
6. Отриманий діаметр також округляють до найближчого великого по ГОСТ 355-67 d*.
7. По отриманих орієнтовних розрахунках для монтажу системи вибирають по ГОСТ 8734-58 труб певного матеріалу, зовнішнього діаметру і товщини стінки, розраховані на експлуатацію при вибраному робочому тиску Р або нижче.
8. При виборі апаратури керуються допустимим тиском Р і витратою Q, які рекомендує завод – виготовник для кожного апарату. Вибирають найменування і типорозміри насосу, запобіжного клапана, фільтру, золотника, дроселя і зворотного клапана.
9. У відповідальних випадках після орієнтовного розрахунку необхідно провести перевірочні розрахунок приводу з метою визначення всіх втрат і провести коректування параметрів, які були отримані при орієнтовному розрахунку.
Послідовність розрахунку пневматичних виконавчих пристроїв.
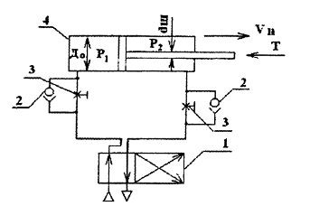
Розрахунок параметрів і підбір апаратури пневмопривода (рис.17.) проводиться з наступних заданих умов:
а) корисне навантаження Т на штоку поршня при робочому ході (вправо); при холостому ході навантаження відсутнє;
б) стала швидкість руху поршня Vп.
Порядок розрахунку.
Рис. 17. Структурна схема пневмопривода:
1) Золотник; 2) Зворотні клапани; 3) Дроселі; 4) Пневмоциліндр.
-
Діаметр циліндра Д0 розраховується з умови:
,
звідки
,
де Р1 і Р2 – абсолютний тиск відповідно в лівій і правій порожнинах циліндра, Д0 – діаметр циліндра; k – коефіцієнт, що враховує втрати на тертя в циліндрі.
Площа штока з причини її незначної величини в порівнянні з площею поршня не враховується при розрахунку пневмопривода.
Тиск Р1 при достатньо великих прохідних перетинах трубопроводу можна вважати за рівний тиску Рс повітря в мережі.
Абсолютний тиск у вихідній порожнині циліндра рекомендується не менше 2 • 105 Н/м2. Якщо до рівномірності швидкості руху поршня (особливо при змінного під час руху навантаження Т) пред'являються підвищені вимоги або вихлопна магістраль має великий опір, воно має бути збільшене.
Значення коефіцієнта k коливається в межах 1,15 ÷ 1.3 залежно від навантаження, зростаючи з її зменшенням.
2. Вибір основних параметрів пневмоприводов, зокрема діаметрів поршнів і штоків, регламентується ГОСТ 6540-64. Тому отриманий діаметр Д0, слід округляти до найближчого великого стандартного значення
.
3. Діаметр штока dш вибирають зазвичай з умови:
.
Отриманий діаметр dш округляють до найближчого більшого по ГОСТ 6540-64.
4. Швидкість руху повітря, що рекомендується, в трубопроводах пневматичних приводів лінійно залежить від тиску. При Р = 1 • 105 Н/м2 вона не повинна перевищувати 40м/сек. При Р = 10 • 105 Н/м2 – її величина, що рекомендується, - не більше 16 м/сек. Значення допустимої швидкості Vдоп. при проміжних значеннях легко знайти за допомогою інтерполяції. Маючи це зважаючи на, з умови
можна знайти внутрішній діаметр d повітря трубопроводу, що підводить до циліндра:
.
Отриманий діаметр трубопроводу округляють до найближчого більшого значення по ГОСТ 35567 і отримують d*.
5. Підбір апаратури здійснюється по тиску і витраті аналогічно підбору апаратури в гідроприводі.
Висновки
На цегляному заводі застосовується технологія пластичного формування, по якій виготовляють цеглу згідно ГОСТ 530-95.
Як АСР я вибрав систему регулювання температури в тунельній печі, в зоні випалення керамічної цегли. В результаті виконаної роботи я вибрав конкретні технічні засоби автоматизації, привів послідовності розрахунку електричних, гідравлічних і пневматичних виконавчих пристроїв. Засвоїв принципи розрахунку автоматизованої системи управління.
Таким чином, представив автоматизовану систему контролю технологічного процесу на сучасних цегляних заводах.
Дана автоматизована система керування технологічним процесом в тунельній печі не повністю автоматизована, оскільки охоплює тільки зону випалювання цегли. Шляхом віришення цієї проболеми я вбачаю в автоматизації інших зон печі, що потребує додаткових розробок.
Библиографічний список
1 С.Ж. Сайбулатов. “Производство керамического кирпича”. Москва. Стройиздат 1989.
2 В.С. Щербаков, А.А. Руппель, В.А.Глушец “Основы моделирования систем автоматического регулирования и электротехнических систем в среде MATLAB и Simulink”. Учебное пособие. Москва. 2003.
3 Коновалов Л.И., Петелин Д.П. Элементы и системы электроавтоматики. М., 1980. – 216 с.
4 Приборы и средства автоматизации. Каталог 1.1 Приборы для измерения и регулирования температуры. Часть I-II. АО (“Информприбор”).
5 http://www.owen.ru
















