122803 (689238), страница 2
Текст из файла (страница 2)
Момент холостого хода двигателя:
Индуктивность цепи якоря двигателя:
, где
С - коэффициент (для некомпенсированного двигателя С = 0,6)
1.1.3 Расчет нагрузочной диаграммы двигателя
Для проверки выбранного двигателя по нагреву выполним построение упрощенной нагрузочной диаграммы двигателя (без учета электромагнитных переходных процессов). Для построения нагрузочной диаграммы произведем расчет передаточного числа редуктора, приведение моментов статического сопротивления и рабочих скоростей к валу двигателя, примем динамический момент и ускорение электропривода с учетом перегрузочной способности двигателя.
Передаточное число редуктора:
Момент статического сопротивления при резании, приведенный к валу двигателя:
Момент статического сопротивления при перемещении стола на холостом ходу, приведенный к валу двигателя:
,
Пониженная скорость, приведенная к валу двигателя:
Скорость прямого хода, приведенная к валу двигателя:
Скорость обратного хода, приведенная к валу двигателя:
,
Суммарный момент инерции механической части привода:
, где
δ - коэффициент, учитывающий момент инерции полумуфт, ведущей шестерни и редуктора (δ принимаем равным 1,2).
Модуль динамического момента двигателя по условию максимального использования двигателя по перегрузочной способности:
, где
k - коэффициент, учитывающий перерегулирование момента на уточненной нагрузочной диаграмме (построенной с учетом электромагнитной инерции цепи якоря). Принимаем k = 0,95.
Ускорение вала двигателя в переходных режимах:
Ускорение стола в переходных режимах:
Разбиваем нагрузочную диаграмму на 12 интервалов. Сначала рассчитываем интервалы разгона и замедления электропривода, затем интервалы работы с постоянной скоростью.
Интервал 1. Разгон до пониженной скорости.
Продолжительность интервала 1:
Путь, пройденный столом на интервале 1:
Момент двигателя на интервале 1:
Интервал 4. Разгон от пониженной скорости до скорости прямого хода.
Продолжительность интервала 4:
Путь, пройденный столом на интервале 4:
Момент двигателя на интервале 4:
Интервал 6. Замедление от скорости прямого хода до пониженной скорости.
Продолжительность интервала 6:
Путь, пройденный столом на интервале 6:
Момент двигателя на интервале 6:
Интервал 9. Замедление от пониженной скорости до остановки.
Продолжительность интервала 9:
Путь, пройденный столом на интервале 9:
Момент двигателя на интервале 9:
Интервал 10. Разгон до скорости обратного хода.
Продолжительность интервала 10:
,
Путь, пройденный столом на интервале 10:
,
Момент двигателя на интервале 10:
Интервал 12. Замедление от скорости обратного хода до остановки.
Продолжительность интервала 12:
Путь, пройденный столом на интервале 12:
Момент двигателя на интервале 12:
Интервал 2. Подход детали к резцу с постоянной скоростью.
Путь, пройденный столом на интервале 2:
Продолжительность интервала 2:
Момент двигателя на интервале 2:
Интервал 8. Отход детали от резца с постоянной скоростью.
Путь, пройденный столом на интервале 8:
Продолжительность интервала 8:
Момент двигателя на интервале 8:
Интервал 3. Резание на пониженной скорости
Путь, пройденный столом на интервале 3 (принимается):
Продолжительность интервала 3:
Момент двигателя на интервале 3:
Интервал 7. Резание на пониженной скорости
Путь, пройденный столом на интервале 7 (принимается):
Продолжительность интервала 7:
Момент двигателя на интервале 7:
Интервал 5. Резание на скорости прямого хода
Путь, пройденный столом на интервале 5 (принимается):
Продолжительность интервала 5:
Момент двигателя на интервале 5:
Интервал 11. Возврат со скоростью обратного хода
Путь, пройденный столом на интервале 11:
Продолжительность интервала 11:
Момент двигателя на интервале 5:
Н
Рисунок 3
Тахограмма и нагрузочная диаграмма электропривода механизма перемещения стола
продольно-строгального станка.
1
.2 Проверка двигателя по нагреву
Для проверки двигателя по нагреву используем метод эквивалентного момента. Используя нагрузочную диаграмму находим эквивалентный по нагреву момент за цикл работы привода. Для нормального теплового состояния двигателя необходимо, чтобы эквивалентный момент был не больше номинального момента двигателя.
Эквивалентный момент за цикл работы:
,
Условие
выполняется, следовательно выбранный двигатель подходит по нагреву.
Запас по нагреву:
2. Выбор основных узлов силовой части
2.1 выбор тиристорного преобразователя
Номинальное выпрямленное напряжение и номинальный выпрямленный ток преобразователя принимаем из ряда стандартных значений по ГОСТ 6827-76 (ближайшее большее по сравнению с номинальным напряжением и током двигателя)[3].
Принимаем UdN = 230 В; IdN = 320 А.
Выбираем стандартный преобразователь комплектного тиристорного электропривода серии КТЭУ [4]. Выбираем двухкомплектный реверсивный преобразователь, схема соединения комплектов встречно-параллельная, управление комплектами раздельное, каждый комплект выполнен по трехфазной мостовой схеме.
Номинальное напряжение комплектного электропривода равно номинальному напряжению двигателя: Uном = 220 В. Номинальный ток комплектного электропривода выбирается по номинальному току преобразователя: Iном = 320 А.
Выбираем тип комплектного электропривода:
КТЭУ-800/220-13212-УХЛ4.
2.2 Выбор силового трансформатора
Силовой трансформатор предназначен для согласования напряжения сети (Uс = 380 В) с номинальным напряжением преобразователя.
Номинальный линейный ток вторичных обмоток (расчетный):
Выбираем трансформатор типа ТСП (или ТСЗП), трехфазный, двухобмоточный, сухой с естественным воздушным охлаждением, открытого исполнения [2, таб. 3.1]
Таблица 3. Данные выбранного трансформатора
| Параметр | Значение |
| Тип трансформатора | ТСЗП-100/0,7-УХЛ4 |
| Способ соединения первичной и вторичной обмоток | Звезда - треугольник |
| Номинальная мощность | SТ = 93000 кВА |
| Номинальное линейное напряжение первичных обмоток | U1N = 380 В |
| Номинальное линейное напряжение вторичных обмоток | U2N = 205 В |
| Номинальный линейный ток вторичных обмоток | I2N = 262 В |
| Потери КЗ | РК = 2300 Вт |
| Относительно напряжение короткого замыкания | uK = 5,8% |
Рассчитываем параметры трансформатора:
Коэффициент трансформации:
Номинальный линейный ток первичных обмоток:
Активное сопротивление обмоток одной фазы трансформатора:
Активная составляющая напряжения короткого замыкания:
Реактивная составляющая напряжения короткого замыкания:
Индуктивное сопротивление обмоток одной фазы трансформатора:
Индуктивность фазы трансформатора:
,
Где Ωс - угловая частота сети
(
).
2.3 Выбор сглаживающего реактора
Сглаживающий редактор включается в цепь выпрямленного тока с целью уменьшения его переменной составляющей. Пульсации выпрямленного тока должны быть ограничены на уровне допустимого значения для выбранного двигателя.
ЭДС преобразователя при угле управления α = 0:
Минимальная суммарная (эквивалентная) индуктивность якорной цепи по условию ограничения пульсаций выпрямленного тока:
, где
kU - коэффициент пульсаций напряжения (для трехфазной мостовой схемы принимаем kU =0,13),
р - пульсность преобразователя (для мостовой трехфазной схемы р = 6)
Расчетная индуктивность сглаживающего реактора:
Так как расчетная индуктивность оказалась отрицательной, сглаживающий реактор не требуется. Собственной индуктивности якорной цепи достаточно для ограничения пульсаций тока.
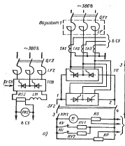
2.4 принципиальная электрическая схема силовой части
Принципиальная схема выбирается по [4]. Для номинального тока Iном = 320 А выбираем схему, приведенную на рис. 1.3 [4]:
Рисунок 4. Силовая часть однодвигательного электропривода серии КТЭУ, Iном = 320 А.
На рисунке 5 приведена схема силовой части электропривода с номинальным током 320, 500 А. Защитные автоматические выключатели QF1, QF2 установлены последовательно с тиристорами. Для неоперативного отключения электродвигателя от тиристорного преобразователя (ТП) используется рубильник QS. Силовой трансформатор ТМ присоединяется к высоковольтной сети 6 или 10 кВ через шкаф высоковольтного ввода (ШВВ). При напряжении питания 380 В ТП подключается к сети через анодные реакторы LF и автоматические выключатели QF3, QF4.
3. Математическая модель силовой части электропривода
3.1 расчет эквивалентных параметров системы
Главную цепь системы «тиристорный преобразователь - двигатель» можно представить в виде схемы замещения (рис.6.). В главной цепи действуют ЭДС преобразователя Ed и ЭДС якоря двигателя ЕЯ. На схеме замещения показаны:
Rя,- активные сопротивления якорной цепи двигателя;
2RT - активные сопротивления двух фаз трансформатора;
Rg - фиктивное сопротивление обусловленное коммутацией тиристоров;
LЯ - индуктивность якорной цепи двигателя;
2LT - индуктивность двух фаз трансформатора.
Н
аправления тока и ЭДС соответствуют двигательному режиму электропривода (см. рис.6.).
От полной схемы можно перейти к эквивалентной схеме, где все индуктивности объединяются в одну эквивалентную индуктивность LЭ, а все активные сопротивления в одно эквивалентное сопротивление RЭ.
О
пределим параметры силовой части в абсолютных (т.е. физических) единицах















