108970 (689179), страница 4
Текст из файла (страница 4)
По количеству устанавливаемых деталей: одноместные и многоместные.
По степени универсальности (специализации) приспособления подразделяются на:
- универсальные безналадочные (УБП) и универсально наладочные приспособления (УНП);
- специализированные безналадочные (СБН) и наладочные приспособления (СНП);
- специализированные приспособления: универсальные сборные (УСП); сборноразборные (СРП) и необратимые специальные (НСП).
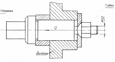
Для установки и закрепления установок, обрабатываемых на зубофрезерных, зубодолбёжных, зубошевенговых и зубошлифовальных станках, применяются разнообразные оправки, обеспечивающие высокую степень базирования. Для точного центрирования применяют оправку с упругой оболочкой - с гидропластом, жесткие для посадки заготовок с небольшим зазором. Заготовку закрепляют ручным зажимом или используют приспособление с пневматическим, гидравлическим приводом.
На точность зубообработки непосредственно влияет точность центрований приспособлений, ось которых должны совпадать с осью вращения стола.
В качестве приспособления для зубофрезирования выбираем оправку зубчатую центровую по ГОСТ 18438-73; обозначение 7150-0421
Расчёт усиления зажима
Для винтового зажима
;
где F = 200 Н на усилие на ключе;
l - длина плеча ключа; l = 150 мм;
- средний диаметр резьбы;
=10.98 мм;
- угол подвига резьбы;
;
- угол трения резьбовой пары;
;
- половина угла профиля резьбы
кг-с;
(Приложение) Чертёж оправка зубчатоя центровая.
















