24794-1 (689130), страница 2
Текст из файла (страница 2)
Газоразрядные трубки применяются также для рекламных и декоративных целей, для чего им придают очертания различных фигур и букв. Наполняя трубки различными газами, можно получить свечение разной окраски.
В лабораторной практике используют тлеющий разряд для катодного распыления металлов, так как вещество катода в тлеющем разряде постепенно переходит в парообразное состояние и оседает в виде металлического налета на стенках трубки.
2.2.2. Искровой разряд
При достаточно большой напряженности поля (около 3 МВ/м) между электродами появляется электрическая искра, имеющая вид ярко светящегося извилистого канала, соединяющего оба электрода. Газ вблизи искры нагревается до высокой температуры и внезапно расширяется, отчего возникают звуковые волны, и мы слышим характерный треск.
Описанная форма газового разряда носит название искрового разряда или искрового пробоя газа. При наступлении искрового разряда газ внезапно утрачивает свои диэлектрические свойства и становится хорошим проводником. Напряженность поля, при которой наступает искровой пробой газа, имеет различное значение у разных газов и зависит от их состояния (давления, температуры). Чем больше расстояние между электродами, тем большее напряжение между ними необходимо для наступления искрового пробоя газа. Это напряжение называется напряжением пробоя.
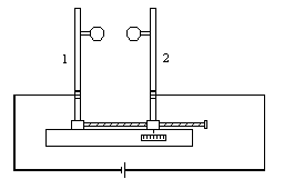
Зная, как зависит напряжение пробоя от расстояния между электродами какой-либо определенной формы, можно измерить неизвестное напряжение по максимальной длине искры. На этом основано устройство искрового вольтметра для грубой больших напряжений.
|
|
Он состоит из двух металлических шаров, закрепленных на стойках 1 и 2, 2-я стойка с шаром может приближаться или удаляться от первой при помощи винта. Шары присоединяют к источнику тока, напряжение которого требуется измерить, и сближают их до появления искры. Измеряя расстояние при помощи шкалы на подставке, можно дать грубую оценку напряжению по длине искры (пример: при диаметре шара 5 см и расстоянии 0,5 см напряжение пробоя равно 17,5 кВ, а при расстоянии 5 см – 100 кВ).
Возникновение пробоя объясняется следующим образом: в газе всегда есть некоторое число ионов и электронов, возникающих от случайных причин. Однако, число их настолько мало, что газ практически не проводит электричества. При достаточно большой напряженности поля кинетическая энергия, накопленная ионом в промежутке между двумя соударениями, может сделаться достаточной, чтобы ионизировать нейтральную молекулу при соударении. В результате образуется новый отрицательный электрон и положительно заряженный остаток – ион.
Свободный электрон 1 при соударении с нейтральной молекулой расщепляет ее на электрон 2 и свободный положительный ион. Электроны 1 и 2 при дальнейшем соударении с нейтральными молекулами снова расщепляет их на электроны 3 и 4 и свободные положительные ионы, и т.д.
Такой процесс ионизации называют ударной ионизацией, а ту работу, которую нужно затратить, чтобы произвести отрывание электрона от атома – работой ионизации. Работа ионизации зависит от строения атома и поэтому различна для разных газов.
Образовавшиеся под влиянием ударной ионизации электроны и ионы увеличивает число зарядов в газе, причем в свою очередь они приходят в движение под действием электрического поля и могут произвести ударную ионизацию новых атомов. Таким образом, процесс усиливает сам себя, и ионизация в газе быстро достигает очень большой величины. Явление аналогично снежной лавине, поэтому этот процесс был назван ионной лавиной.
Образование ионной лавины и есть процесс искрового пробоя, а то минимальное напряжение, при котором возникает ионная лавина, есть напряжение пробоя.
Таким образом, при искровом пробое причина ионизации газа заключается в разрушении атомов и молекул при соударениях с ионами (ударная ионизация).
2.2.3. Электрическая дуга
Если после зажигания искового разряда постепенно уменьшат сопротивление цепи, то сила тока в искре будет увеличиваться. Когда сопротивление цепи станет достаточно малым, возникает новая форма газового разряда, называемая дуговым разрядом. При этом сила тока резко увеличивается, а напряжение на разрядном промежутке уменьшается до нескольких десятков вольт. Это показывает, что в разряде возникают новые процессы, сообщающие газу очень большую проводимость.
В настоящее время электрическую дугу чаще всего получают между специальными угольными электродами. Наиболее горячим местом дуги является углубление, образующееся на положительном электроде и называемое «кратером дуги». Его температура равна 4000 К, а при давлении в 20 атм превышает 7000 К.
Дуговой разряд возникает во всех случаях, когда вследствие разогревания катода основной причиной ионизации газа становится термоэлектронная эмиссия. Например, в тлеющем разряде положительные ионы, бомбардирующие катод, не только вызывают вторичную эмиссию электронов, но и нагревают катод. Поэтому, если увеличивать силу тока в тлеющем разряде, то температура катода увеличивается, и когда она достигает такой величины, что начинается заметная термоэлектронная эмиссия, тлеющий разряд переходит в дуговой. При этом исчезает и катодное падение потенциала.
Электрическая дуга является мощным источником света и широко применяется в проекционных, прожекторных и других установках. Расходуемая ею удельная мощность меньше, чем у ламп накаливания.
В качестве источников света употребляют также дуговые лампы высокого давления. Зажигание дуги производится разрядом от источника высокого напряжения с помощью третьего электрода. Вследствие высокой температуры дуги ее применяют для сварки и резанья металлов. Автоэлектронные дуги с ртутным катодом применяют для выпрямления переменного электрического тока.
2.2.4. Коронный разряд
Разряд, получивший такое название, наблюдается при сравнительно высоких давлениях газов в сильно неоднородном поле. Для получения значительной неоднородности поля электроды должны иметь очень неодинаковую поверхность, то есть, один - очень большую, другой - очень малую.
Линии напряженности электрического поля сгущаются по мере приближения к проволоке, а, следовательно, напряженность поля возле проволоки имеет наибольшее значение. Когда она достигает приблизительно 3*106 В/м, между проволокой и цилиндром зажигается разряд и в цепи появляется ток. При этом возле проволоки возникает свечение, имеющее вид оболочки или короны, окружающей проволоку, откуда и произошло название разряда.
Коронный разряд возникает как при отрицательном потенциале на проволоке (отрицательная корона), так и при положительном (положительная корона), а также при переменном напряжении между проволокой и цилиндром. При увеличении напряжения между проволокой и цилиндром растет и ток в коронном разряде. При этом увеличивается толщина светящегося слоя короны.
Процессы внутри короны сводятся к следующему: если проволока заряжена отрицательно, то по достижении напряженности пробоя у поверхности проволоки зарождаются электронные лавины, которые распространяются от проволоки к цилиндру. В случае положительной короны электронные лавины зарождаются на внешней поверхности короны и движутся по направлению к проволоке.
Коронный разряд возникает не только возле проволок, но и возле любых проводников с малой поверхностью. Корона возникает также в природе под влиянием атмосферного электрического поля и появляется на верхушках деревьев, корабельных мачт и т.п.
Термоэлектрические явления и их применение
Явление Зеебека
Температура — один из важнейших контролируемых параметров технологических процессов практически во всех отраслях народного хозяйства. Большая часть всех температурных измерений приходится на долю термоэлектрических преобразователей, принцип действия которых основан на явлении Зеебека.
В 1821 году немецкий ученый, уроженец г. Ревеля (ныне Таллин), Т. Й. Зеебек (1770-1831) обнаружил, что если спаи двух разнородных металлов, образующих замкнутую электрическую цепь, имеют неодинаковую температуру, то в цепи протекает электрический ток. Изменение знака у разности температур спаев сопровождается изменением направления тока.
Этот факт послужил основой для создания устройства, чувствительным элементом которого является термопара — два проводника из разнородных материалов, соединенных между собой на одном (рабочем) конце, другие два (свободные) конца проводников подключаются в измерительную цепь или непосредственно к измерительному прибору, причем температура свободных концов заранее известна. Термопара образует устройство (или его часть), использующее термоэлектрический эффект для измерения температуры. Под термоэлектрическим эффектом понимается генерирование термоэлектродвижущей силы (термоЭДС), возникающей из-за разности температур между двумя соединениями различных металлов и сплавов (рис. 1), образующих часть одной и той же цепи.
рис. 1.
Термо ЭДС термопары обусловлена тремя причинами . Первая заключается в зависимости уровня Ферми энергии электронов в проводнике от температуры, что приводит к неодинаковым скачкам потенциала при переходе из одного металла в другой в спаях термопары, находящихся при разных температурах. Во-вторых, при наличии градиента температуры электроны в области горячего конца проводника приобретают более высокие энергии и подвижность. Вдоль проводника возникнет градиент концентрации электронов с повышенными значениями энергии, что повлечет за собой диффузию более быстрых электронов к холодному концу, а более медленных к горячему. Но диффузионный поток быстрых электронов будет больше. Кроме того, при наличии градиента температуры вдоль проводника возникает дрейф фотонов — квантов энергии колебаний кристаллической решетки. Сталкиваясь с электронами, фотоны сообщают им направленное движение от более нагретого конца проводника к более холодному. Последние два процесса приводят к избытку электронов вблизи холодного конца и недостатку их вблизи горячего конца. В результате внутри проводника возникает электрическое поле, направленное навстречу градиенту температуры. Таким образом, термо ЭДС термопары возникает только из-за наличия продольного градиента температуры в проводниках, составляющих пару.
Явление Пельте
Эффект Пельте обратен явлению Зеебека.
При протекании тока в цепи из различных проводников, в местах контактов, в дополнение к теплоте Джоуля, выделяется или поглощается, в зависимости от направления тока, некоторое количество теплоты Q
, пропорциональное протекающему через контакт количеству электричества (то есть силе тока I и времени t): Q
=П/t. Коэффициент П зависит от природы находящихся в контакте материалов и температуры (коэффициент Пельте).
Явление Томсона
Эффект Томсона, один из термоэлектрических явлений. Он состоит в том, что если вдоль проводника, по которому проходит электрический ток, существует перепад температур, то в дополнение к теплоте, выделяемой в соответствии с законом Джоуля-Ленца, в объёме проводника выделяется или поглощается (в зависимости от направления тока) дополнительное количество теплоты Q (теплота Томсона), пропорциональная силе тока I, времени t, перепаду температур (T2—T1): Q= t (T2—T1) lt. Открыт У. Томсоном (лордом Кельвином) в 1856. Коэффициент Томсона t зависит от природы материала.
Эмиссионные явления, их применение
















