25232 (686764), страница 4
Текст из файла (страница 4)
Пункты ОМС размещают равномерно по территории населенных пунктов, дачных поселков, участков садовых товариществ, сельскохозяйственных, лесохозяйственных и других предприятий с плотностью, указанной в таблице. Пункты ОМС могут не совпадать с межевыми знаками границ земельного участка. Их следует размещать на местности с учетом:
- доступности для геодезических определений при восстановлении положения утраченных межевых знаков;
- защищенности от разрушений в результате хозяйственной деятельности и природных явлений.
Пункты ОМС следует по возможности размещать на землях находящихся в государственной или муниципальной собственности.
Межевые знаки размещают на всех поворотных точках границы земельного участка, кроме границ, проходящих по "живым урочищам" и линейным сооружениям, совпадающим с границами земельного участка.
На пунктах ОМС в качестве знаков применяются:
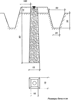
- бетонный пилон размером 12 х 12 х 90 см, в верхней конец которого заделывается кованый гвоздь, а в нижнюю часть для лучшего скрепления с
грунтом в цементируются два металлических штыря (якорь);
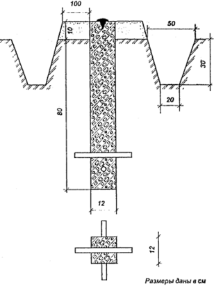
- бетонный монолит в виде усеченной четырехгранной пирамиды с нижним основанием 15 х 15 см, верхним 10 х 10 см и высотой 90 см с заделанным в него кованым гвоздем;
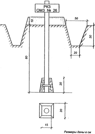
- железная труба диаметром 35-60 мм, отрезки рельса или уголкового железа 50 х 50 х 5 мм, 35 х 35 х 4 мм длиной 100 см с бетонным якорем в виде усеченной четырехгранной пирамиды с нижним основанием 20 х 20 см, верхним - 15 х 15 см и высотой 20 см. К верхней части трубы (рельса, уголка) приваривается металлическая пластинка для надписи, внизу
металлические стержни (крестовина);
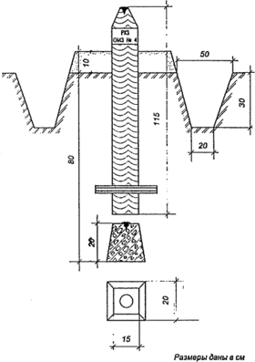
- деревянный столб диаметром не менее 15 см и высотой 115 см с крестовиной, установленный на бетонный монолит в виде усеченной
четырехгранной пирамиды с нижним основанием 20 х 20 см, верхним 15 х 15 см и высотой 20 см. На верхней грани монолиту делается крестообразная насечка или заделывается гвоздь. Верхнюю часть столба затесывают на конус, ниже затеса делают вырез для надписи;
- пень свежесрубленного хвойного дерева диаметром в верхней части не менее 25 см, обработанный в виде столба с вырезом для надписи, полочкой и забитым кованым гвоздем;
- марка, штырь, болт, закрепленные цементным раствором в основания различных сооружений, в т.ч. в бордюры, столбы, трубы или в скалы.
Бетонные пилоны и монолиты закладываются на глубину 80 см.
Пункты ОМС окапывают в виде круглых канав с внутренним диаметром
2,0 м, глубиной 0,3 м, шириной в нижней части 0,2 м и верхней части 0,5 м. Над центром насыпается курган высотой 0,1 м.
В качестве межевых знаков используют деревянные колья высотой 75
- 80 см, диаметром 5 - 7 см, железные штыри и трубы, забитые в грунт на 0,4 - 0,6 м.
Межевые знаки на поверхности без покрытия окапываются круглой канавой с внутренним диаметром 0,8 м, глубиной 0,2 м и шириной в нижней части 0,2 м.
Границы земельных участков, проходящие по живым урочищам, закрепляются межевыми знаками только на стыках с суходольными границами.
При установке межевой знак ориентируют таким образом, чтобы его лицевая сторона (с надписями) была обращена к следующему межевому знаку при движении по границе по ходу часовой стрелки.
На пунктах ОМС делается надпись: Роскомзем ОМЗ N________.
Пункты ОМС после закладки сдаются по акту на наблюдение за сохранностью:
- городской, поселковой или сельской администрации, если они построены на землях, находящихся в государственной или муниципальной собственности;
- собственнику, владельцу, пользователю земельного участка, если они находятся на его земельном участке.
Если пункт ОМС совмещен с межевым знаком, то он сдается на наблюдение за сохранностью всем собственникам, владельцам и пользователям размежевываемых земельных участков.
Рис.1 Бетонный пилон
Рис.2 Бетонный монолит
Рис.3 Железная труба
Рис.4 Деревянный столб
Рис.5 Штырь в пне
Рис.6 Марка (штырь, болт)
2.3 Межевые съемочные сети
Плотность пунктов опорной межевой сети, находящихся на территории проведения земельно-кадастровых геодезических работ обычно недостаточна для выполнения межевания земельных) участков, съемки объектов недвижимости, инвентаризации земель, и др. Поэтому ОМС необходимо сгустить, построив так называемую межевую съемочную сеть (МСС). Межевую съемочную сеть — геодезическую съемочную сеть создают с целью сгущения. ОМС для ее дальнейшего использования в качестве геодезической основы для определения плоских прямоугольных координат межевых знаков, а также других характерных точек объектов недвижимости.
При построении МСС используют различные способы производства геодезических работ: полигонометрические (теодолитные) ходы, прямые и обратные угловые засечки, линейную засечку и лучевой способ. Технология этих работ и математическая обработка результатов геодезических измерений были подробно рассмотрены при изучении курса геодезии.
Ниже приведены особенности производства геодезических работ при построении межевых съемочных сетей на землях поселений при закреплении месторасположения центров пунктов стенными знаками, а также геодезической привязки к пунктам ОМС на застроенных территориях.
Стенные знаки более долговечны, чем грунтовые, более экономичны и просты при закладке. По конструкции стенные знаки могут быть различными. Один из них показан на рисунке 2.2.
Рис. 7 Стенной знак
1 - надпись пункта ОМС; 2 - вид сверху; 3 - общий вид
Стенные знаки располагают на основных несущих элементах (стенах, надстройках и т. п.) кирпичных, каменных, бетонных и других зданий и сооружений, не имеющих видимых нарушений цокольной части. Стенной знак крепят на высоте 0,3...1,2м от поверхности земли. Носителем координат стенного знака является отверстие диаметром 2 мм, просверленное в головке знака. На диске знака должна быть размешена соответствующая надпись о принадлежности знака. Отметим, что стенные знаки можно закладывать в цокольную часть зданий и сооружений как в единственном числе (одинарный стенной знак), так и парами (парные стенные знаки) на расстоянии друг от друга 10...20м. В последнем случае между ними измеряют расстояние стальной рулеткой с погрешностью не более 1 мм.
Заключение
Для проведения любого мероприятия, связанного с использованием земли в промышленности, со строительством сооружений, требуются:
Изучение земной поверхности (форм рельефа, места расположения различных объектов), производство специальных измерений, их вычислительная обработка и составление карт, планов, профилей, которые служат основной продукцией геодезических работ и дают представление о форме и размере поверхности всей земли и ее отдельных частей.
В процессе строительства сооружений геодезическими методами наблюдают за вертикальностью стен, горизонтальностью балок, уклонами дорог, высотами плотин, глубиной и уклонами каналов, а в процессе их эксплуатации следят за деформацией и осадками.
Перенесение проектов на местность представляет собой процесс, обратный топографической съемке, при которой, как известно, определяется месторасположение физически существующих на местности объектов и предметов, а также создается цифровая модель рельефа. При выносе в натуру проектов границ земельных участков проектной точки на местности физически не существует, однако ее проектное месторасположение известно (задано) и, следовательно, в процессе геодезических разбивочных работ может быть закреплено (указано) на местности.
Исходными данными при геодезических разбивочных работах служат сведения государственного земельного кадастра, например в форме плоских прямоугольных координат ранее установленных межевых знаков, а также плоские прямоугольные координаты соответствующих проектных точек, полученные при проектировании границы земельного участка
Точность выноса на местность соответствующих проектных точек зависит как от точности исходных данных, так и точности геодезических измерений (построений).
От точности геодезических построений зависит точность положения проектной точки относительно ближайшего пункта межевой съемочной или иной геодезической сети, используемой при геодезических разбивочных работах.
Цель данной курсовой работы заключалась в ознакомлении с порядком проведения межевания объектов землеустройства.
В данной курсовой мною проведена работа по сбору, систематизации и архивации теоретических и практических данных по межеванию объектов землеустройства.
Список использованной литературы
1. Неумывакин Ю. К., Перский М. И. Земельно – кадастровые работы, 2005 г.
2. М. И. Буров, В. И. Нефедов, Ю. М. Трунин / Изв. Вузов. Геодезия и аэросъемка. 1998 № 6. С. 59-66
3. В. В. Баканова. Геодезия. Учебник для вузов. – М.: Недра, 1980.
4. Е.Б. Клюшин, И 62 М.И. Киселев, Д.Ш. Михелев, В.Д. Фельдман; Под ред. Д.Ш. Михелева Инженерная геодезия. Учебник для вузов , 2001г.
5. В.И. Радионов Руководство по учебно – геодезической практике М.: Недра, 1983
Приложение 1
Утверждаю:
Заказчик_________________
" __" __________20__ г.
Задание
на межевание земельного участка
1.Земельный участок __________________________
2.Местоположение земельного участка_____________________
3. Площадь______________
4.Наименование и адрес правообладателя земельного участка __________________________________________________________
5.Наименование и адрес исполнителя_________________________
6. Границы, требующие установления (упорядочения, восстановления) их местоположения на местности (кадастровые номера смежных земельных участков и номера точек)______________________________________
7. Особые и дополнительные требования к производству работ и отчетным материалам_______________________________________________
8. Сроки и порядок представления отчетных материалов_________________________________________________
9. Приложения_______________________________________
Исполнитель работ
Приложение 2
Извещение
____________________________________________________
(фамилия и инициалы правообладателя земельного участка или руководителя юридического лица)
Прошу Вас прибыть лично или направить Вашего представителя к ____часам "_____"______________200_ г.
для участия в установлении и согласовании в натуре границ земельного участка
(правообладатель земельного участка, кадастровый номер земельного участка)
(район, название республики в составе РФ, края, области, автономного образования)
Ваша явка или явка Вашего представителя с доверенностью, подтверждающей его полномочия участвовать в установлении границ земельного участка и подписывать соответствующие документы, необходима.
Ваше отсутствие или отсутствие Вашего представителя не является препятствием для проведения работ по межеванию.
Исполнитель работ:
_______________________ _________ _______________
(руководитель юридического (подпись) (фамилия, инициалы) лица, индивид. предприниматель)
















