25174 (686751), страница 4
Текст из файла (страница 4)
1) через электроды В1 и В2 пропускают ток обратной полярности и постоянной силы, в несколько десятков раз превышающей силу тока, проходящего через электрод А0; ток, протекающий через электроды А1 и А2, регулируют так, чтобы разность потенциалов между измерительными электродами М1 и N1 (M2 и N2) равнялась нулю;
2) поддерживают постоянной амплитуду тока, проходящего через электроды А1 и А2, а равенство нулю разности потенциалов между M1 и N1(M2 и N2) обеспечивается регулировкой силы и направления тока, протекающего через электроды В1 и В2.
При первом способе фокусировки тока I0 радиус исследования девятиэлектродного зонда заметно увеличивается по сравнению с семиэлектродным зондом в пластах большой мощности, при втором способе фокусировки девятиэлектродный зонд приобретает более благоприятные характеристики и радиус его исследования в пластах большой мощности еще больше возрастает. Этот зонд предложен венгерскими геофизиками и назван нормализованным. Он позволяет регистрировать величину рк, близкую к истинному удельному сопротивлению пород до очень больших значений.
Существует также девятиэлектродный так называемый псевдоэкранный зонд, который отличается от семиэлектродного фокусированного зонда тем, что обратный токовый электрод В в нем приближен к зонду и расположен в виде раздвоенных электродов В1 и В2 с внешней стороны электродов А1 и А2, симметрично относительно центрального электрода А0 (см. рис. 1 и 2, в). Через электроды А0, А1 и А2 замыкается токовая цепь. В связи с малым расстоянием от обратных токовых электродов до зонда создается такое распределение токовых линий центрального электрода, при котором значительная часть потенциала падает в непосредственной близости от скважины. В связи с этим радиус исследований девятиэлектродного псевдоэкранного зонда значительно меньше, чем семиэлектродного, и с его помощью можно изучать удельное сопротивление только ближней к скважине зоны пласта. По принципу работы этот зонд аналогичен семиэлектродному и к нему применимы те же теоретические расчеты. Условием фокусировки тока центрального электрода является также равенство потенциалов на электродах M1 и N1 (M2 и N2). Характерные размеры зонда: Lобщ(А) — расстояние А1А2, Lобщ(В) — расстояние В1В2, L — расстояние О1О2. Параметр фокусировки q=(Lобщ(А)—L)/L.
2.3. ВЫБОР АППАРАТУРЫ, ЕЕ ХАРАКТЕРИСТИКИ И ПРИНЦИП РАБОТЫ
В серийной аппаратуре БК наибольшее распространение получили трехэлектродные зонды с двумя закороченными между собой экранными электродами АЭ1 и Аэ2.
При конструировании трехэлектродных зондов БК учитывают следующие обстоятельства:
1) уменьшение L снижает влияние вмещающих пород, однако при L<0,3dc (где dc — диаметр скважины) резко возрастает погрешность измерений;
2) с увеличением Loбщ улучшается фокусировка тока и возрастает радиус исследования;
3) с уменьшением dз возрастает влияние скважины, поэтому dз>0,25dc. В приборах АБКТ, Э1, К1А-723М применен зонд, для которого L = 0,15 м; Loбщ = 3,2 м; d3 = 0,07—0,073 м. Коэффициент К такого зонда 0,24.
В приборах БК с трехэлектродными зондами равенство потенциалов А0 и Аэ достигается одним из следующих способов питания электродов; 1) автоматическим изменением тока через электрод Аэ, при котором ток I0 сохраняется постоянным; 2) соединением между собой всех трех электродов, при котором I0 изменяется при измерении. В аппаратуре АБКТ соединение электрода А0 с Аэ выполнено с помощью небольшого резистора R, который одновременно используется для измерения I0. Сопротивление резистора (примерно 0,01 Ом) достаточно мало, чтобы не нарушить эквипотенциальность зонда, но достаточно велико для измерения I0. В аппаратуре серии Э роль резистора выполняет вторичная обмотка трансформатора, сопротивление R которой по переменному току питания примерно равно 0,01 Ом и рассчитано как R = R*/n2, где R* — сопротивление подстроечного резистора, подключенного параллельно первичной обмотке , а n — коэффициент трансформации. При n = 1000 значение R* равно 10 кОм, что облегчает его подбор.
Более сложные семи- и девятиэлектродный зонды БК использованы в аппаратуре БКС-2. В них применена стабилизация тока I0 с помощью автокомпенсатора.
Аппаратура электрического каротажа типа K1A-723
Прибор предназначен для проведения ГИС в нефтяных и газовых скважинах. Прибор обеспечивает возможность за один проход по интервалу исследования выполнить измерения комплексом зондов БКЗ, зондом БК-3, зондом ИК, резистивиметром и ПС. Применяется для исследования в не обсаженных скважинах заполненных промывочной жидкостью. Отличается малыми габаритами, что позволяет использовать его при проведений измерений через буровой инструмент. Обладает высокой производительностью и надёжностью.
В приборе применена ТИС с времяимпульсной модуляцией сигнала и временным разделением каналов.
Аппаратура работает на трёхжильном бронированном кабеле длинной 5000 метров.
Длина прибора с зондом БКЗ - 20,4 метра.
Диаметр – 73 мм, вес – 80кг.
Питание 400 Гц, 400мА.
Максимальная рабочая температура – 1200С.
Давление – 80 мПа
Скорость каротажа – 2000 м/ч.
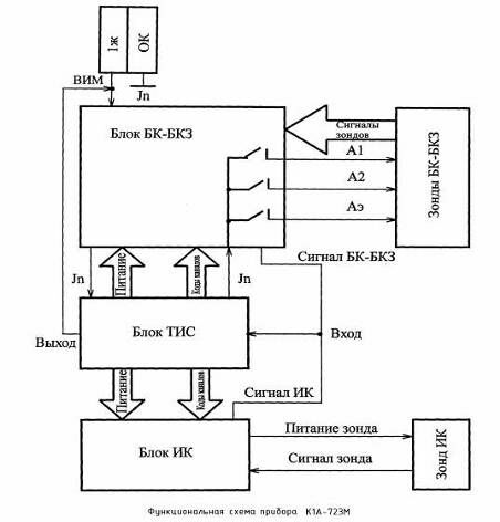
Рис 4. Функциональная схема прибора K1A-723M
При проведении измерений ток питания скважинного прибора подаётся по первой жиле кабеля и оплётке кабеля. Ток питания – переменный, частота – 400Гц, сила тока – 400мА. Ток питания поступает в блок БК-БКЗ, блок ТИС и блок ИК.
Питание токовых электродов А1, А2,Аэ поступает для питания зондов БК-БКЗ. Измеряемые сигналы, поступающие с зондов БК и БКЗ, поступают в блок БК-БКЗ, который обеспечивает питание зондов, приём, усиление, согласование со входом ТИС сигналов от зондов. Измеряемые сигналы с блока БК-БКЗ поступают на вход блока ТИС.
Питание зонда ИК происходит от блока ИК, а измеряемый сигнал поступает в блок ИК, где происходит усиление сигнала и согласование со входом ТелеИзмерительной системы (ТИС). С выхода блока ИК измеряемый сигнал поступает на вход блока ТИС. С выхода блока ТИС измеряемые сигналы зондов БК-БКЗ и ИК во времяимпульсной модуляции по первой жиле и оплётке кабеля поступает на поверхность. В скважинном приборе также имеется возможность включать нуль-сигнал и стандарт сигнал.
3. РАСЧЁТНАЯ ЧАСТЬ
3.1 РАСЧЕТ КОЭФФИЦИЕНТА ЗОНДА
Коэффициент трёхэлектродного зонда К рассчитывают, определяя потенциал поля удлинённого эллипсоида вращения в однородной среде:
(2)
где L — длина основного электрода А0;
Loб — общая длина зонда;
dз — диаметр зонда;
С2 = Lоб — d23.
Определим коэффициент зонда аппаратуры К1А-723М, у которой L=0,18м, Lобщ = 3,2 м и d3 = 0,07 м. Из формулы (2) получаем
3.2 ОПРЕДЕЛЕНИЕ ГРАНИЦ И МОЩНОСТЕЙ ПЛАСТОВ
На рис. 5 показаны характерные кривые сопротивления трехэлектродного бокового каротажа. Как видно, при одинаковом удельном сопротивлении вмещающих пород кривые КС против однородных пластов высокого сопротивления отмечаются максимумами, которые принимают формы острой пики против тонких пластов (h≤4dc); против мощных пластов (h>8dc) наблюдается горизонтальный интервал в средней части (рис. 4,а). Если породы, подстилающая пласт и перекрывающая его, имеют различное сопротивление, то максимум против пласта высокого сопротивления становится асимметричным, наблюдается снижение сопротивления со стороны породы меньшего сопротивления (рис. 4,б). При постепенном изменении сопротивлений отдельных пластов форма кривой принимает ступенчатый вид (рис. 4, в). Против пачки пластов, представленной породами разного сопротивления, кривая характеризуется чередованием симметричных максимумов и минимумов (рис. 4, г). Против проницаемых пластов с проникновением ПЖ форма кривых КС почти соответствует форме кривых для однородных пластов. С увеличением диаметра зоны повышающего проникновения наблюдается заметное увеличение сопротивления (рис. 4,д).
Форма кривых КС для одиночных пластов, зарегистрированных многоэлектродными зондами, в основном такая же, как и в случае БК-3.
Границы пласта отмечают следующим образом. Проводят наклонную прямую по наиболее крутому участку кривой и находят её пересечение с прямой, соответствующей кажущемуся удельному сопротивлению вмещающих пород. Для трёхэлектродного зонда граница пласта будет соответствовать полученной точке; для семиэлектродного зонда границу пласта получают, сместившись от указанной точки вниз (при определении подошвы) или вверх (при определении кровли) на расстояние до 0,3L.
Рис. 5. Кривые сопротивления бокового каротажа для зонда БК-3, dc = 0,165 м: а и б — однородные пласты; в — неоднородный пласт; г—пачка пластов, dc=0,235 м; д — проницаемые пласты с повышающим проникновением ПЖ.
3.3 СНЯТИЕ ОТСЧЕТА рк В ПЛАСТЕ И ВМЕЩАЮЩИХ ПОРОДАХ
Рассмотрим пласт на глубине 1412-1413 метров.
Снимаем отсчет рк в пласте и вмещающих породах. Отсчёт существенных значений производится по точкам экстремумов pк max или pк min.
рк = 200 Ом*м
рвм=17 Ом*м
Снятое с диаграммы значение pк исправляется сначала за влияние скважины по номограмме, затем за влияние мощности пласта.
3.4 ВВЕДЕНИЕ ПОПРАВОК ЗА МОЩНОСТЬ ПЛАСТА И ВЛИЯНИЕ СКВАЖИНЫ
Определение удельного сопротивления пласта рп производят по рк с внесением поправок за диаметр скважины dc. Исправление рк за влияние скважины dc производят с помощью палетки (рис. 6, а).
Известно: рк = 200 Ом*м, рс = 0,5 Ом*м, pк/pc = 100, d=0,2 м. Получаем: рк1/рк=1,13; pK1= 1,13*200= 226 Ом*м.
Исправленное pK1 за влияние dc против пласта большой мощности pK1= pп.
В случае ограниченной мощности пласта h<4dc па показания зонда БК оказывают влияние вмещающие породы рвм. Вычисление поправки за ограниченную мощность пласта и влияния рвм производится с помощью палетки (рис. 40,б). Палетка рассчитана для зависимостей рк2/рк1 от h при различных значениях отношений рк1/рвм, рк2—исправленное рк1 за влияние рВМ и h. При отсутствии проникновения ПЖ в пласт pK1= pп.
Известно:рK1=226 Ом*м, рвм=17 Ом*м, рК1/рвм =13,29 ; h = 1 м. Получаем: рк2/рк1= 1,2. рк2= 1,2*226 = 188,3 Ом*м.
Рис. 6. Поправки к кривым КС, зарегистрированным аппаратурой трехэлектродного БК-3
При расчете палетки исходили из условий, что зонд БК расположен против середины пласта, рвм подстилающих и покрывающих пород равны, их мощности значительны.
Палетки для введения поправок за dc, h и рвм рассчитаны для однородных пластов мощностью более 1 м, но применимы и для приближенных расчетов к неоднородным пластам мощностью более 1 м. В тех случаях, когда поправки становятся большими (50—100 %), достоверность результатов интерпретации резко снижается.
При наличии проникновения фильтрата ПЖ в пласт для того, чтобы определить определение рп проницаемого пласта БК применяется совместно с БКЗ или в комплексе с двумя градиент-зондами длиной 1—4 м.
Итак, истинное удельное электрическое сопротивление пласта 188,3 Ом*м.
4. ОРГАНИЗАЦИОННАЯ ЧАСТЬ
4.1 ОРГАНИЗАЦИЯ ПРОМЫСЛОВО-ГЕОФИЗИЧЕСКИХ РАБОТ
Выполнение промыслово-геофизических работ (ПГР) организуется на договорных началах. Договоры заключаются между геофизическими предприятиями (подрядчик) и предприятиями, производящими бурение скважин (заказчик).
Буровые предприятия ежегодно, не позже третьего квартала, представляют геофизическим предприятиям заявки на планируемые в следующем году ПГР. На основе этих заявок составляют проекты, сметы затрат и договоры на производство геофизических работ в скважинах. В заявке указывают номер скважины, ее глубину, характер работ, интервал, подлежащий исследованию, время начала работ и т. д. Заказчик обязан до приезда промыслово-геофизической партии подготовить скважину для проведения работ. Подготовка заключается в проведении мероприятий, обеспечивающих беспрепятственный спуск до забоя и подъем геофизических приборов в скважине в течение времени, необходимого для осуществления комплекса заказанных геофизических исследований.
0>4>














