25056 (686707), страница 3
Текст из файла (страница 3)
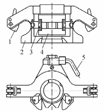
1 — коробка отбора мощности; 2 - шестерни коробки отбора мощности; 3, 17 - шестерни передачи вращения промежуточному валу; 4, 5, 7, 8 - шестерни вторичного вала; 6 - коробка передач; 9, 12 - шестерни конические; 10, 11 - шестерни передачи вращения барабанному валу; 13, 14, 15, 16 - шестерни промежуточного вала ; 18 - шестерня паразитная; 19 - шестерня раздаточной коробки; 20 - коробка раздаточная; 21 - лебедка; 22 - лебедка выдвижения верхней секции вышки; 23 - автомат свинчивания и развинчивания НКТ; I - ведущий вал; II, VII — карданный вал; III - первичный вал; IV - вал привода гидронасоса; V - промежуточный вал; VI - вторичный вал; VIII - вал конического редуктора; IX - вал конической передачи; X - приводной вал; XI — вал барабана
Шестерни 13, 14, 15 и 16, неподвижно посаженные на промежуточном валу V, находятся в постоянном зацеплении соответственно с шестернями 8, 7, 5 и 4, свободно сидящими на вторичном валу VI, причем шестерни 16 и 15 зацепляются через паразитную шестерню 18, а остальные - непосредственно. Включением зубчатых муфт валу VI сообщают три скорости прямого хода и одну скорость обратного хода. От вала VI через карданный вал VII вращение сообщается валу VIII конического редуктора и через пару конических шестерен 9 и 12 - валу IX.
Приводной вал X, соединенный зубчатой муфтой с валом IX, передает вращение барабанному валу XI через шестерни 10 и II. Вращение барабану, свободно сидящему на валу XI, сообщается через фрикционную муфту.
Внутри полого промежуточного вала V проходит вал IV привода гидронасоса, включаемый осевой фрикционной муфтой.
Гидравлическая система обеспечивает подъем вышки и опорных домкратов задней опоры, а также служит приводом лебедки 22 выдвижения верхней секции вышки и автомата АПР-2ГП 23 для свинчивания и развинчивания насосно-компрессорных труб.
Установку АзИНмаш-37А1 монтируют на автомобиле КрАЗ-260 с относительно повышенной мощностью двигателя. В отличие от АзИНмаш-37А эта установка имеет в тормозной системе ретинаксовые колодки вместо лент с фрикционным материалом «феррадо», а в системе противозатаскивателя талевого блока использован новый винтовой механизм, более надежный и удобный в эксплуатации.
Освещение агрегатов, рабочей площадки и мостков осуществляется взрывобезопасными светильниками.
Агрегаты комплектуют автоматами АПР-2ВБ или АПР-ГП для работы с насосно-компрессорными трубами, АШК-ТМ или КШЭ для работы с насосными штангами.
Агрегаты АзИНмаш-37А и АзИНмаш-37А1 могут иметь устройство для безъякорного крепления вышки.
Это устройство обеспечивает устойчивость агрегата при проведении спускоподъемных операций на полную грузоподъемность без установки и крепления оттяжек вышки к внешним якорям.
Проведение спускоподъемных операций агрегата без крепления оттяжек вышки достигается путем исключения влияния рессор на устойчивость агрегата. Влияние рессор на устойчивость всего агрегата частично исключается при установке двух передних откидных домкратов, с помощью которых, а также домкратов задней опоры вышки, рама автомобиля, минуя рессоры, опирается на рабочую установочную площадку. Для полного исключения влияния рессор необходимо снизить давление в шинах автомобиля до минимально допустимого значения (0,05 МПа).
Верхние концы грузовых и установочных оттяжек вышки крепят соответственно к верхней части и верхней части нижней секции вышки, а их нижние концы через винтовые стяжки соединяют с передним бампером автомобиля. При этом грузовые оттяжки крепят к внутренним, а установочные - к внешним ушкам
1.4.2 Инструмент, применяемый при проведении спускоподъемных операций
Элеваторы предназначены для захвата и удержания колонны штанг и труб на весу в процессе спускоподъемных операций. По назначению элеваторы бывают трубные и штанговые.
По типу захвата и удержания трубные элеваторы могут быть: а) с захватом под муфту; б) с захватом под высадку трубы; в) с захватом за тело (элеватор-спайдер).
Элеваторы первого типа наиболее распространены и предназначены для работы с муфтовыми трубами. Элеваторы второго типа необходимы для работы с трубами с высадкой наружу, а третьего типа - для работы с безмуфтовыми трубами.
По типу захвата и удержания штанговые элеваторы могут быть с захватом под высадку или квадрат штанги.
Элеваторы первого типа наиболее распространены и предназначены для работы по двухэлеваторной технологии. Элеватор с захватом под квадрат штанги позволяет работать по одноэлеваторной технологии, однако при работе с этим элеватором необходимо его соединение с талевым блоком с возможностью его вращения, так как при свинчивании-развинчивании элеватор вращается вместе со штангами.
Применение подобных элеваторов наиболее целесообразно при установке развинченных штанг в вертикальном положении, так как на мачте они устанавливаются путем подвески за высадку.
По конструкции трубные элеваторы могут быть одно- и двухштропные. Первые получили наибольшее распространение в подземном ремонте скважин.
Элеваторы типа ЭТАД (рис. 6) с захватным автоматическим устройством предназначен для работы с насосно-компрессорными трубами условного диаметра от 48 до 114 мм. Элеватор состоит из корпуса с подпружиненными защелками штропов, выдвижного захвата, упоров, запирающего устройства с рукояткой.
Захваты элеватора сменные и рассчитаны на определенный диаметр НКТ. Это позволяет использовать один корпус элеватора при спускоподъеме труб нескольких размеров. Захват включает в себя шток, шарнирно соединенный с двумя челюстями.
Шток снабжен шлицами, сопрягающимися с втулкой запирающего устройства. Запирающее устройство служит для фиксации челюстей элеватора в крайних положениях, соответствующих открытому или закрытому состоянию.
Рис. 6. Элеватор типа ЭТАД
1 - предохранитель; 2 - корпус; 3 - упор; 4 - захват; 5 - рукоятка.
На промыслах в подземном ремонте скважин наибольшее распространение получили одноштропные элеваторы с захватом под муфту типа ЭТА (рис. 7), входящие в комплект инструмента для работы с насосно-компрессорными трубами: элеватор типа ЭТА - ручной ключ типа КТГУ - механический ключ типа АПР или КМУ.
Рис. 7 Элеватор типа ЭТА
1 - серьга; 2 - палец; 3 - шплинты; 4 - корпус; 5 - рукоятка; 6 - направляющая втулка; 7 - штырь; 8 - челюсть; 9 - направляющие; 10 - болт.
Выпускаются элеваторы ЭТА-32, ЭТА-50 и ЭТА-60 грузоподъемностью соответственно 32, 50 и 60 т. Они позволяют работать с НКТ диаметром 48, 60, 73 и 89 мм как с гладкими, так и с высадкой. Переход с одного диаметра на другой осуществляется путем смены захватов.
Для проведения спускоподъемных операций с одним элеватором необходимо устройство на устье скважины, способное удерживать колонну труб за тело.
При этом торец муфты остается свободным для последующего захвата колонны элеватором. Спайдер может быть выполнен отдельно или входить в состав механического ключа для свинчивания-развинчивания труб.
Спайдер гидравлический СГ-32 предназначен для захвата за тело и удержания на весу колонны труб в процессе спускоподъемных операций при текущем и капитальном ремонтах скважин.
Он представляет собой (рис. 8) разрезной корпус со сменными клиньями под трубы разных размеров. Клиньями управляют посредством гидравлического цилиндра, встроенного в корпус спайдера. Наклонные зубья плашек обеспечивают стопорение колонны от проворота в процессе свинчивания - развинчивания труб. На спайдере предусмотрено также вспомогательное ручное управление.
Рис. 8. Спайдер СГ-32
1 - гидроцилиндр; 2 - рукоятка; 3 — рычаг; 4 - клиновая подвеска; 5 - створка; 6 - центратор; 7 – корпус
Для свинчивания-развинчивания резьбовых соединений труб и штанг применяются ключи. Ключи могут быть трубными и штанговыми (по назначению) и, кроме того, ручными и механическими. В свою очередь, ручные ключи делятся на шарнирные и цепные. Шарнирные ключи более удобны в работе, имеют небольшой вес и меньше повреждают поверхность трубы.
Одним из широко применяемых ключей для работы с трубами является автомат Молчанова (АПР - автомат подземного ремонта) (рис. 9.)
Рис. 9. Автомат АПР-2ВБ
1 - корпус автомата; 2 - червячное колесо; 3 - клиновая подвеска; 4 - корпус клина; 5 - плашка; 6 - опорный фланец; 7 - водило; 8 - вал вилки включения маховика; 9 — электроинерционный привод; 10 — ось балансира; 11 — направление клиновой подвески; 12 - центратор; 13 - пьедестал центратора; 14 - фиксатор центратора.
Ключ (автомат) стационарно устанавливается на колонную головку, а крутящий момент передается водилом трубе через ручной ключ типа КТГУ.
Техническая характеристика АПР-2ВБМ
Максимальный крутящий момент, кН∙м (кг∙см) 4,5(450)
Потребляемая мощность, кВт 3,0
Частота вращения водила, с-1(об/мин) 0,85 (51)
Грузоподъемность спайдера, т 80
Количество вариантов набора маховиков 4
Привод ключа
Электрический инерционный
взрывобезопасный с питанием от промысловой сети
Двигатель привода Электродвигатель АИМ10084У2,5
n = 1430 об/мин, напряжением 380 B
Ключ (автомат) выполнен в виде блоков, что облегчает его монтаж-демонтаж, а также транспортировку. Основными частями ключа являются блоки вращателя, клиновой подвески и центратора, а также балансир с грузом, привод и блок управления приводом. люч (автомат) выполнен в виде блоков, что облегчает его монтаж-демонтаж, а также транспортировку. Основными частями ключа являются блоки вращателя, клиновой подвески и центратора, а также балансир с грузом, привод и блок управления приводом.
Блок вращателя представляет собой корпус клинового спайдера с червячным редуктором, работающим в масляной ванне, и водилом, передающим вращающее усилие трубному ключу. На конце червячного вала монтируется полумуфта центробежной муфты с установленными на ней сменными маховиками.
Блок клиновой подвески состоит из направляющей с кольцевым основанием, к которому на шарнирах подвешены три клина. Клинья для труб диаметром 48, 60, 73 мм состоят из корпуса клина и сменных плашек. Клинья для труб диаметром 89 мм монолитные. Клиновые подвески имеют усы-синхронизаторы, которые обеспечивают синхронную работу клиньев в момент захвата трубы.
Блок центратора состоит из пьедестала, к которому крепится блок вращателя, фиксатора и вкладышей центратора. Последние изготовляются с проходными диаметрами для труб диаметром 48, 60, 73 и 89 мм. Вкладыши центратора удерживаются в пьедестале фиксаторами.
Балансир состоит из рычага и груза, при помощи, которых осуществляется перемещение клиновой подвески вверх вниз.
Привод ключа включает электродвигатель с полумуфтой центробежной муфты и раздвижные кулачки.
Блок управления состоит из магнитного пускателя, кнопочного поста, соединенных между собой и с электродвигателем кабелем при помощи штепсельных разъемов.
Вращение от электродвигателя передается на полумуфту, которая передает номинальный крутящий момент только при наборе электродвигателем полного числа оборотов.
Ключ подвесной разрезной КПР-12 предназначен для свинчивания и развинчивания бурильных и насосно-компрессорных труб в процессе текущего и капитального ремонтов скважин.
Он состоит (рис. 10) из трубного ключа 2, выполняющего процесс свинчивания и развинчивания труб при расчетном крутящем моменте, и гидравлического агрегата, обеспечивающего требуемый расход и давление масла в гидросистеме.
Рис. 10. Ключ подвесной разрезной КПР-12
1 - стопор; 2 - ключ; 3 - створка; 4 — упор; 5 - ограничитель ключа и стопора; 6 - болт регулировочный; 7 — рукоятка подъема; 8 — гидроподъемник; 9 - амортизатор; 10 - серьга; 11 - винт; 12 - подвеска; 13 — гидрораскрепитель; 14 - ограничитель крутящего момента; 15 - рукоятка переключения скоростей; 16 – гидрорукав
Трубный ключ представляет собой двухскоростной цилиндрический редуктор с разрезной рабочей шестерней, в которой устанавливаются сменные захваты. Комплектуется съемным стопорным устройством. Привод от гидромотора.
Гидравлическая насосная станция - электроприводная; соединяется с ключом гидравлическими рукавами высокого давления; устанавливается на расстоянии до 10 м от скважины.
Управление ключа расположено на корпусе ключа. Ключ на стационарной вышке или на вышке передвижного агрегата подвешивают на тросе диаметром не менее 16 мм. Трос крепят при помощи трех зажимов. Во избежание перегибов троса и выхода его из строя применяют проушины соответствующих размеров. Высота подвески ключа на кронштейне должна составлять не менее 5 м, с тем, чтобы угол поворота кронштейна обеспечивал подвод и отвод ключа к устью скважины и обратно. Гидроподъемник 8 регулирует высоту подвески ключа в зависимости от расположения муфты трубы.
Диаметр троса, удерживающего ключ от реактивного момента при его работе, должен быть также не менее 16 мм.
Захваты под трубы сменные, заменяют их при выключенном гидравлическом агрегате.
Гидроподъемник 8 устанавливают на ключ до его подвешивания. Ключ подвешивают в следующей последовательности: амортизатор 9, гидроподъемник 8, подвеска 12, ключ 2, стопор 1.
Горизонтальное положение ключа достигается регулировкой болтами 6 и винтом 11 подвески 12. Удерживающие тросы должны находиться в горизонтальном положении и жестко быть закреплены.
Колонна труб монтируется на спайдере или элеваторе. Ограничитель ключа устанавливается в положение «развинчивание». Ключ надвигается на колонну труб, закрывая створку. Раскрепление трубы выполняется на низшей передаче, после чего на высшей передаче производится отвинчивание трубы. В случае отсутствия спайдера или малого веса колонны труб следует обязательно применять стопор. После окончания отвинчивания трубы производится реверсирование ключа до совмещения прорезей шестерни и корпуса. При этом захваты освобождают трубу, открывают створку, снимают ключ с трубы и отводят его в сторону.
Свинчивание производится аналогично. При этом ограничитель ключа устанавливается в положение «свинчивание», а ограничитель крутящего момента на насосной станции - в положение, соответствующее спускаемым в скважину трубам.















