25056 (686707), страница 2
Текст из файла (страница 2)
1.4 Оборудование и инструмент, применяемые при спускоподъемных операциях
1.4.1 Оборудование, применяемое при проведении спускоподъемных операций
Для выполнения подземных ремонтов скважин применяют различные комплексы оборудования и инструментов в сочетании с технологическими установкам. Оборудование это можно поставлять отдельными комплектами или узлами.
К основному оборудованию, при помощи которого проводят СПО, относят подъемные лебедки и установки, монтируемые на самоходных транспортных базах (гусеничные или колесные). Подъемные установки в отличие от лебедок оснащены вышкой с талевой системой и ключами для свинчивания и развинчивания НКТ и насосных штанг. При выполнении капитальных ремонтов подъемные установки комплектуют насосным блоком, ротором, вертлюгом, циркуляционной системой и другим оборудованием.
Наиболее широко применяют тракторный подъемник ЛПТ-8 и установки подъемные типов АзИНмаш-37А, УПТ-50, А-50М, АПР60/80, УПА-60,УПА-60А(60ģ80),УПА-100 и другие.
При работе с подъемниками скважины должны иметь вышку или мачту с кронблоком, талевой системой с эксплуатационным крюком и оттяжным роликом.
Агрегат А-50М. Взамен агрегата А-50У выпускают модернизированный агрегат А-50М с повышенными надежностью и грузоподъемностью.
Агрегат A-50M также предназначен для освоения и ремонта нефтяных, газовых и нагнетательных скважин с проведением спускоподъемных операций с насоснокомпрессорными и бурильными трубами, промывки песчаных пробок, глушения скважин, циркуляции промывочного раствора при бурении, фрезеровании и разбуривании цементных стаканов для проведения ловильных и других работ по ликвидации аварий в скважинах. Все механизмы агрегата, кроме промывочного насоса, смонтированы на шасси КрАЗ-250 с подогревателем ПЖД-44-П. Промывочный насос 9МГр смонтирован на двухосном прицепе.
В качестве привода навесного оборудования используется ходовой двигатель в агрегате А-50У шасси КрАЗ-257, а в А-50М шасси КрАЗ-250. Мощность от двигателя отбирается через коробку отбора мощности 23, установленную на раздаточной коробке автомобиля. Карданный вал 21 коробки отбора мощности соединен с раздаточным редуктором 20, смонтированным на раме 22.
От раздаточного редуктора мощность отбирается при помощи клиновых ремней на компрессорную установку 4, питающую пневмоуправление 16 сжатым воздухом, а также на силовую передачу 29 через карданные валы 27 и 28. Через силовую передачу мощность передается на промывочный насос 26 при помощи карданного вала. Цепной передачей 30 в кожухе 32 осуществляется привод лебедки 6 и через промежуточный вал 33 привод бурового ротора. Переключение коробки отбора мощности на промежуточный вал выполняется рычагами управления зубчатыми муфтами 19.
В рабочем положении мачта 14 одной стороной опирается на лебедку, другой через домкрат 18 — на грунт. Установку мачты из транспортного положения в вертикальное — рабочее и обратно проводят посредством домкратов 7, цилиндры которых защищены кожухом. Кронблок мачты и талевый блок 10 оснащены талевым канатом 9. На мачте размещены подвеска ключей 11 и подвеска бурового рукава 12, который соединяется с насосом при помощи манифольда 25. При необходимости к талевому блоку можно подвесить вертлюг 13 с квадратной штангой 15. Нагрузка на крюке определяется при помощи индикатора веса 8, устанавливаемого на «мертвом» конце талевого каната. В транспортном положении мачта опирается на переднюю опору 1, размещенную на переднем буфере, где также находится балка для крепления силовых оттяжек 24, и на среднюю опору 2, на которой установлена вспомогательная электролебедка 3. Гидросистема 5 обеспечивает питание гидрораскрепителя 31 и гидроротора 17.
В состав установки входит также электрооборудование 34, узел управления и освещения шасси 36, установка запасного колеса и площадки оператора 35.
Рис.1 Агрегат А-50М
Рис. 2 Агрегат А-50М. Вид сверху
1 -передняя опора; 2 -средняя опора; 3 -электролебедка; 4-компрессорная установка; 5-гидросистема; 6-лебедка; 7-домкрат; 8-индикатор веса; 9-талевый канат; 10-талевый блок; 11-подвеска ключей; 12-подвеска бурового рукава; 13-вертлюг; 14-мачта; 15-домкратная штанга; 16-пневмоуправленне; 17-гидроротор; 18-домкрат; 19-зубчатая муфта; 20-редуктор; 21-карданный вал; 22-рама; 23-коробка отбора мощности; 24-силовые оттяжка; 25-маннфольд; 26-промывочный насос; 27, 28-карданные валы; 29-силовая передача; 30-цепная передача; 31-гидрораскрепитель; 32-кожух; 33-промежуточный вал; 34-электрооборудование; 35-площадка оператора; 36-узел управления и освещения шасси;
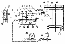
Кинематическая схема агрегата А-50М (рис.3) в отличие от схемы А-50У имеет два масляных насоса 2МН-250/100 вместо одного М-20 в агрегате А-50У. Привод навесного оборудования агрегата и насосного блока осуществляется от тягового двигателя автомобиля через коробку скоростей, включенную напрямую, и раздаточную коробку. Шестерни 16 и 17 раздаточной коробки автомобиля находятся в постоянном зацеплении с шестернями 3 и 2 коробки отбора мощности I , свободно сидящими на валу I. При включении зубчатой муфты две скорости передаются валу 1, затем через карданный вал 2 — первичному валу 3 раздаточного редуктора 14 с коническими шестернями 4 и 13. От вала 3 вращение передается через встроенный редуктор масляным насосам 11, питающим гидроротор 10 привода ротора 9 и гидроцилиндры подъема вышки. Масляные насосы включаются в работу посредством зубчатых муфт.
От шкива, сидящего на первичном валу 3, вращение клиновыми ремнями передается компрессору 12. От вторичного вала раздаточного редуктора вращение карданным валом IV сообщается валу V, на который посажена звездочка 5 цепной передачи привода лебедки 7. На консоли вала V на подшипниках качения установлен фланец, включаемый зубчатой муфтой; к фланцу прикреплен карданный вал VI привода промывочного насоса 6. Включение промывочного насоса выполняется зубчатой муфтой, посаженной на тот же консольный конец вала раздаточного редуктора. От вала V вращение цепной передачей передается валу VII силовой передачи, который, в свою очередь, соединен цепными передачами с валом VIII подъемного барабана 5.
Лебедка 7 имеет две шинно-пневматические муфты. Цепные передачи включаются шинно-пневматическими муфтами и передают валу подъемного барабана две скорости (большую и малую). В сочетании с двумя скоростями вала силовой передачи они обеспечивают четыре скорости вращения подъемного барабана, жестко сидящего на шпонках барабанного вала. При работе на первой скорости коробки отбора мощности посредством шиннопневматических муфт лебедки можно включить первую или третью скорости подъемного барабана, при работе коробки отбора мощности на второй скорости — вторую или четвертую.
Рис. 3. Кинематическая схема агрегата А-50М.
1-коробка отбора мощности; 2, 3-шестерни коробки отбора мощности; 4, 13-шестерни конические; 5-звездочка цепной передачи; 6-промывочный насос; 7-лебедка; 8-подъемный барабан; 9-ротор; 10-гидроротор; 11-масляный насос; 12-компрессор; 14-раздаточный редуктор; 15-раздаточная коробка; 16, 17-шестерни раздаточной коробки; I-ведущий вал; II, IV, VI-карданные валы; III-первичный вал; V-вал цепной передачи;VII-вал силовой передачи; VIII-вал подъемного барабана;
Техническая характеристика агрегатов А-50У и А-50М.
Включенная передача I II III IV
Скорость намотки-каната, м/с:
А-50У 1,088 1,9 4,17 7,8
А-50М 1,146 2,28 4,38 8,64
Скорость подъема талевого блока, м/с:
А-50У 0,181 0,317 0,695 1,215
A-50M 0,191 0,38 0,73 1,444
Частота вращения вала барабана, мин -1:
А-50У 39,8 69,8 153 268
А-50М 39,5 78 151 294
Грузоподъемность на крюке, т:
А-50У 50 34,5 12,6 7,5
А-50М 60 30 15,8 8,0
Вал силовой передачи с помощью цепных передач, включаемых шинно-пневматической и зубчатой муфтами, передает две скорости вращения промежуточному валу IX бурового ротора. Ввиду того, что раздаточный редуктор агрегата получает от коробки отбора мощности две скорости вращения, ротор и промывочный насос также имеют две скорости вращения. Частота вращения вала и мощность гидроротора агрегатов А-50У и А-50М приведены ниже
Включенная передача I II III
Частота вращения вала, мин -1
А-50У . 40 70 —
А-50М 22,3 45 88
Мощность гидроротора, кВт:
А-50У 44 44 —
А-50М 14,7 28,6 57
Установку вышки в вертикальное и горизонтальное положения проводят при работе коробки передач автомобиля на первой передаче и при одном включенном маслонасосе. Гидросистема заполняется профильтрованным маслом ВМГЗ для работы при температуре окружающей среды от —50 до +65 °С. Пневмосистема агрегата снабжается сжатым воздухом от двухцилиндрового двухступенчатого компрессора М155-2В5
Тип А-50У А-50М
Допускаемая нагрузка, кН 500 125
Наибольшее тяговое усилие на набе- 1100 1000
гающем конце каната, кН
Диаметр тормозных шкивов, мм 2 2
Число тормозных шкивов 2 2
Вышка
Тип Телескопическая
Высота от земли до оси кронблока,м 22,4
Допустимая длина поднимаемой
трубы, м 16
Расстояние от торца рамы до оси
скважины, мм 1040
Оснастка талевой системы 3X4 Диаметр, мм:
канатного шкива 470
талевого каната 25
Компрессор
Тип М155-2В5
Подача, м*/мин До 0,6
Давление нагнетания, МПа До 10
Промывочный насос
Тип НБ-125 (9МГр-73)
Наибольшее давление (при подаче
6,1 л/с), МПа 16
Наибольшая подача (при давлении 6 МПа), л/с 9,95
Монтажная база — прицеп 71 ОБ или СМ-38326
Масса насоса с прицепом, кг 4144
Вал привода бурового ротора
Отбираемая мощность, кВт 95,5 100
Частота вращения, мин"1:
-
скорость 214 214
-
скорость 360 423
Лебедка вспомогательная — ТВ-224В (ТЛ-9)
ГОСТ 2914-10
Грузоподъемность, т — 25
Скорость подъема, м/с — 0,25
Масса установки без насосного при цепа, кг 22 610 24 000
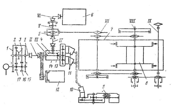
Агрегат АзИНмаш-37А (рис. 4), смонтированный на шасси автомобиля КрАЗ-255Б, предназначен для текущего ремонта нефтяных, газовых и нагнетательных скважин глубиной до 2900 м. Имеет следующие основные узлы: лебедку, вышку с талевой системой, переднюю и заднюю опоры вышки, кабину оператора, а также гидравлическую, пневматическую и электрическую системы управления агрегатом и другие вспомогательные узлы и механизмы
.
Рис. 4. Агрегат АзИНмаш-37А.
1 - талевая система; 2 — вышка; 3 - силовая передача; 4- передняя опора; 5 - кабина оператора; 6 — лебедка; 7 - гидроцилиндр подъема вышки; 8 - задняя опора
Лебедка агрегата включает конический редуктор, барабанный и приводной вал, смонтированный на общей сварной коробчатой станине. Барабан сварной конструкции установлен на подшипниках качения. Муфта включения барабана фрикционная, пневматическая с дисковыми вкладышами из ретинакса, смонтирована внутри тормозного шкива.
Вышка - сварная, решетчатой конструкции, телескопическая, двухсекционная с открытой передней гранью. В транспортном положении вышка опирается на переднюю и заднюю опоры.
Подъем вышки осуществляется гидравлическими домкратами, выдвижение верхней секции - лебедкой с гидроприводом через блочно-канатную систему. Выдвинутая верхняя секция фиксируется на пневматически управляемых упорах. В процессе работы на скважине вышка закрепляется четырьмя оттяжками. Она снабжена также ограничителями подъема верхней секции и подъема крюкоблока. При достижении крюкоблоком критического верхнего положения ограничитель отключает фрикцион лебедки и включает тормоз.
Телескопические опорные винтовые домкраты задней опоры вышки можно фиксировать по высоте в трех различных положениях. Опорные домкраты опускаются под действием своего веса при вытаскивании фиксирующего пальца. В транспортном положении опорные домкраты поднимаются гидравлическими подъемниками, установленными внутри ног задней опоры.
Талевая система состоит из одноосного трехроликового кронблока и одноосного двухроликового крюкоблока с трехрогим крюком. Неподвижный конец талевого каната закреплен на боковой стенке станины лебедки.
Гидравлическая система агрегата обеспечивает подъем вышки и опорных домкратов задней опоры, привод лебедки, выдвижение верхней секции вышки и автомата АПР-ГП для свинчивания и развинчивания насосно-компрессорных труб.
Пневматическая система агрегата предназначена для усиления тормоза, управления муфтами включения барабана, гидронасоса, дистанционного управления сцеплением двигателя, упоров вышки и тормозом при срабатывании противозатаскивателя. Воздух в пневмосистему агрегата подается от компрессора автомобиля через его масловлагоотделитель и три воздушных баллона, последовательно соединенных с целью улучшения условий выпадения конденсата.
Электрооборудование в сочетании с пневматической и гидравлической системами предназначено для управления механизмами при установке и снятии агрегата на скважине, для проведения спускоподъемных операций и освещения вышки и рабочей площадки устья.
Управление механизмами агрегата при проведении спускоподъемных операций осуществляют из кабины, расположенной между лебедкой и ездовой кабиной автомобиля (рис. 4). Управление установкой вышки в рабочее положение выполняют с выносного пульта, соединенного с общей электросистемой агрегата кабелем. Это позволяет машинисту располагаться в любом удобном и безопасном для него месте, в радиусе до 10 м. Привод навесного оборудования агрегата лебедки 21 осуществляется от тягового двигателя автомобиля через коробку скоростей, включенную напрямую, и раздаточную коробку. Шестерня 19 раздаточной коробки автомобиля 20 находится в постоянном зацеплении с шестерней 2 коробки отбора мощности 1, свободно сидящей на валу 1. Включением зубчатой муфты вращение передается валу 1, от него через карданный вал II - первичному валу III коробки передач 6 и далее - через шестерни 3 и 17 - промежуточному валу V.
Рис. 5.. Кинематическая схема АзИНмаш-37А















