24849 (686652), страница 2
Текст из файла (страница 2)
Подъём и спуск бурильных труб в целях замены сработавшегося долота состоит из одних и тех же многократно повторяемых операций. Причём к машинам относятся операции подъёма свечи из скважин и порожнего элеватора. Все остальные операции являются машинно – ручными или ручными требующими затрат больших физических усилий.
К ним относятся:
• при подъеме:
посадка колонны на элеватор;
развинчивание резьбового соединения;
установка свечи на подсвечник;
спуск порожнего элеватора;
перенос штропов на загруженный элеватор;
• при спуске:
вывод свечи из-за пальца и с подсвечника;
свинчивание свечи с колонной;
спуск свечи в скважину;
посадка колонны на элеватор;
перенос штропов на свободный элеватор.
Для производства спускоподъемных операций буровая бригада должна быть оснащена, во-первых, инструментом для захвата и подвешивания колонны труб. В качестве такого инструмента применяются элеваторы, клинья и слайдеры (элеваторы с плашечными захватами). Во-вторых, инструментом для свинчивания и развинчивания бурильных и обсадных труб (машинные, круглые ключи и т.п.).
Устройства для захвата и подвешивания колонн различаются по размерам и грузоподъемности. Обычно это оборудование выпускается для бурильных труб размером 60, 73, 89, 114, 127, 141, 169 мм с номинальной грузоподъемностью 75, 125, 140, 170, 200, 250, 320 т. Для обсадных труб диаметром от 194 до 426 мм применяют клинья четырех размеров: 210, 273, 375 и 476 мм, рассчитанные на грузоподъемность от 125 до 300 т.
Элеватор служит для захвата и удержания на весу колонны бурильных (обсадных) труб при спускоподъемных операциях и других работах в буровой. Применяют элеваторы различных типов, отличающиеся размерами в зависимости от диаметра бурильных или обсадных труб, грузоподъемностью, конструктивным использованием и материалом для их изготовления. Элеватор при помощи штропов подвешивается к подъемному крюку.
Клинья для бурильных труб используют для подвешивания бурильного инструмента в столе ротора. Они вкладываются в конусное отверстие ротора. Применение клиньев ускоряет работы по спускоподъемным операциям. В последнее время широко применяются автоматические клиновые захваты с пневматическим приводом типа ПКР (в этом случае клинья в ротор вставляются не вручную, а при помощи специального привода, управление которым внесено на пульт бурильщика).
Для спуска тяжелых обсадных колонн применяют клинья с не разъемным корпусом. Их устанавливают на специальных подкладках над устьем скважины. Клин состоит из массивного корпуса воспринимающего массу обсадных труб. Внутри корпуса находится плашки предназначенные для захвата обсадных труб и удержания их в подвешенном состоянии. Подъем и опускание плашек осуществляется поворотом рукоятки в ту или другую сторону вокруг клина, что достигается наличием наклонных исправляющих вырезов в корпусе, по которым при помощи рычага перекатываются ролики плашек.
Для свинчивания и развинчивания бурильных и обсадных труб вменяется специальный инструмент. В качестве такого инструмента используют различные ключи. Одни из них предназначаются для свинчивания, а другие — для крепления и открепления резьбовых соединений колонны. Обычно легкие круговые ключи для предварительного свинчивания рассчитаны на замки одного диаметра, а тяжелые машинные ключи для крепления и открепления резьбовых соединений — на два, а иногда и более размеров бурильных труб и замков.
Операции крепления и открепления резьбовых соединений бурильных и обсадных колонн осуществляются двумя машинными ключами; при этом один ключ (задерживающий) — неподвижный, а второй (завинчивающий) — подвижный. Ключи подвешивают в горизонтальном положении. Для этого у полатей на специальных «пальцах» укрепляют металлические ролики и через них перекидывают стальной тартальный канат или одну прядь талевого каната. Один конец этого каната прикрепляется к подвеске ключа, а другой — к противовесу, уравновешивающему ключ и облегчающему перемещение ключа вверх или вниз.
На основе создания ряда механизмов для автоматизации и механизации отдельных операций спускоподъемных работ был создан автомат спуска-подъема. Комплекс механизмов АСП предназначен для механизации и частичной автоматизации спускоподъемных операций. Он обеспечивает:
совмещение во времени подъема и спуска колонны труб и незагруженного элеватора с операциями установки свечей на подсвечник, выноса ее с подсвечника, а также с развинчиванием или свинчиванием свечи колонной бурильных труб;
механизацию установки свечей на подсвечник и вынос их кцентру, а также захват или освобождение колонны бурильных труб автоматическим элеватором.
I
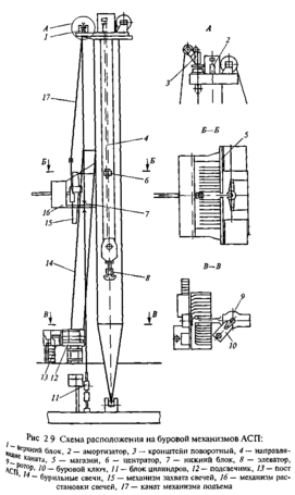
Механизмы АСП располагаются на буровой следующим образом (рис. 2.9). На кронблочной площадке установлены амортизатор 2 и верхний блок 1 или кронштейн поворотный 3 механизма подъема, направляющие каната 4 центратора, магазин 5, нижний блок 7 механизма подъема, центратор 6, механизм расстановки свечей 16, механизм захвата свечей 75, канат механизма подъема 17. На площадке буровой расположены подсвечник \1, блок цилиндров 11 механизма подъема, автоматический буровой ключ 10, ротор 9 с пневматическими клиньями. К талевому блоку подвешен автоматический элеватор 8. Пост АСП 13 размешен на площадке подсвечника. Бурильные свечи 14 устанавливаются на подсвечник.
В работе комплекса механизмов типа АСП-ЗМ1, АСП-ЗМ4. АСП-ЗМ5 и АСП-ЗМ6 используются ключ АКБ-ЗМ2 и пневматический клиновой захват БО-700 (кроме АСП-ЗМ6, для которого применяется захват ПКРБО-700).
При спускоподъемных операциях необходимо соблюдать целый ряд основных положений.
Спускоподъемные операции (скорости спуска и подъема, момент начала подъема, проработки и др.) должны производится в соответствии с режимно-технологической картой (технически проектом на строительство скважины) или указанием бурового мастера, начальника буровой, инженерно-диспетчерской службой руководства Районной инженерно-технической службы (РИТС) или разведки.
Для проведения работ по спуску, подъему и наращиванию бурильной колонны буровая установка должна быть оснащена комплектом механизмов и приспособлений малой механизации. В процессе бурения и после окончания долбления ведущую трубу и первую свечу следует поднимать из скважины на первой скорости. Запрещается раскреплять резьбовые соединения свечей бурильных труб и других элементов компоновки
бурильной колонны при помощи ротора. Также запрещается останавливать вращение колонны бурильных труб включением обратного хода ротора.
При спуске бурильных и утяжеленных бурильных труб в скважину резьбовые соединения следует докреплять машинными и автоматическими ключами, контролируя зазор между соединительными элементами и соблюдая по показаниям моментомера величину допустимого крутящего момента, установленную действующей инструкцией.
При спуске бурильной колонны запрещается включать клиновой захват до полной остановки колонны.
Посадка бурильной колонны на ротор во время СПО должна производиться плавно без толчков и ударов. При появлении посадок во время спуска бурильной колонны в этих местах следует производить промывку или проработку ствола скважины Допустимые величины посадок и затяжек бурильной колонны зависят от технических и геологических условий и должны определяться в каждом отдельном случае буровым мастером или технологической службой.
Запрещается работать без приспособления для правильного наматывания талевого каната на барабан лебедки.
При подъеме из скважины труб и других элементов компоновки колонны наружные поверхности их должны очищаться от остатков бурового раствора с помощью специальных приспособлений
Колонна бурильных, обсадных труб и УБТ, захватываемая пневматическим клиньевым захватом, должна быть составлена с учетом допустимых нагрузок на нее, приведенных в инструкции по эксплуатации ПКР. Запрещается во время работы клинового захвата находиться на роторе членам буровой бригады, поднимать или спускать колонну труб при неполностью поднятых клиньях, вращать стол ротора при поднятых клиньях, работать с деформированными бурильными или обсадными трубами оставлять устье скважины открытым. Необходимо устанавливал устройство, предупреждающее падение посторонних предмете! в скважину.
При вскрытии газоносных и склонных к поглощению буровое раствора пластов спуск и подъем бурильной колонны следует про изводить при пониженных скоростях с целью снижения возможности возникновения гидроразрыва проницаемых горизонтов и вызова притока из пласта.
При подъеме бурильной колонны из скважины следует прой3 водить долив в скважину бурового раствора с теми же показателя ми свойств, что и у раствора, находящегося в ней. Буровой мае (начальник буровой) должен осуществлять проверку спуск подъемных механизмов в соответствии с графиком профилактического осмотра и результаты проверки заносить в специальный журнал. Периодически должна производиться дефектоскопия спускоподъемного оборудования.
МОРСКИЕ БУРОВЫЕ УСТАНОВКИ
В отличие от бурения на суше функциональная схема бурения морской скважины осложняется наличием толщи воды между устьем скважины и буровой установкой.
Выделяют следующие способы бурения скважин на акваториях:
-
с морских стационарных платформ;
-
гравитационных морских стационарных платформ;
-
самоподъемных буровых установок;
-
полупогружных буровых установок;
-
буровых судов.
Морская стационарная платформа — это буровое основание, опирающееся на дно акватории и возвышающееся над уровнем моря. Так как по окончании эксплуатации скважины МСП остается на месте сооружения, то схемой бурения морской скважины в отличие от схемы строительства наземной скважины предусмотрено наличие водоотделяющей колонны, изолирующей скважину от толщи воды и соединяющей подводное устье с буровой площадкой морской стационарной платформы. Устьевое оборудование (превенторы, головки обсадных колонн, устройство для отвода промывочной жидкости из скважины в системы очистки) монтируется также на МСП.
Для буксировки платформы к месту строительства скважины требуется четыре или пять буксиров. Обычно в буксировке МСП участвуют и другие вспомогательные суда (портовые тягачи, суда сопровождения и т.п.).В хорошую погоду средняя скорость буксировки составляет
1,5 - 2,0 уз/ч.
Гравитационная морская стационарная платформа — буровое основание, изготовленное из железобетона и стали. Она строится в глубоководных заливах и затем с помощью буксиров доставляется на точку бурения эксплуатационных и разведочных скважин. ГМСП предназначена не только для бурения скважин, но и для добычи и хранения нефти до отправки ее танкерами к месту переработки. Платформа обладает большим весом, поэтому для удержания ее на точке бурения не требуется дополнительных устройств.
После разработки месторождения производится консервация всех скважин, отсоединение установки от устьев скважин, отрыв ее от морского дна и транспортировка на новую точку в пределах данной площади или в другой регион бурения и добычи нефти и газа. В этом заключается преимущество ГМСП перед МСП, которая после разработки месторождения остается в море навсегда.
Самоподъемная плавучая буровая установка обладает достаточным запасом плавучести, что имеет большое значение для ее транспортировки на точку бурения вместе с буровым оборудованием, инструментом и необходимым запасом расходных материалов. На месте бурения с помощью специальных подъемных механизмов и опор устанавливают СПБУ на морское дно. Корпус установки поднимают над уровнем моря на недосягаемую для морских волн высоту. По способу монтажа превенторных устройств и способу соединения буровой площадки с подводным устьем скважины СПБУ аналогична МСП. Для обеспечения надежности эксплуатации скважины обсадные колонны подвешивают под столом ротора. По завершении бурения и после освоения разведочной скважины устанавливают ликвидационные мосты и все обсадные колонны обрезают ниже уровня дна моря.
Полупогружная плавучая буровая установка состоит из корпуса, который включает в себя собственно буровую площадку с оборудованием и понтоны, соединенные с площадкой стабилизирующими колоннами. В рабочем положении на точке бурения понтоны заполняются расчетным количеством морской воды и погружаются на расчетную глубину под воду; при этом действие волн на платформу уменьшается. Так как ППБУ подвержена качке, то жесткое соединение ее с подводным устьем скважины с помощью водоотделяющей колонны (райзера) невозможно. Поэтому для предотвращения разрушения связки устье — ППБУ в составе водоотделяющей колонны предусмотрены телескопическое соединение с герметизирующим узлом и герметичные шарнирные соединения ВОК. с плавсредством и подводным устьевым противовыбросовым оборудованием Герметичность подвижных элементов водоотделяющей колонны должна обеспечивать изоляцию скважины от морской воды и безопасность работ при допустимых условиях эксплуатации.
На точку бурения ППБУ доставляют с помощью буксирных судов и удерживают на ней якорной системой в течение всего периода бурения и испытания скважины. По окончании ее строительства ППБУ снимают с точки бурения и перегоняют на новое место
При строительстве глубоких морских нефтяных и газовых скважин используется буровое судно, на котором смонтировано все буровое и вспомогательное оборудование и находится необходимый запас расходного материала Па точку бурения БС идет своим ходом; его скорость достигает 13 уз/ч (24 км/ч). Над точкой бурения судно удерживается с помощью динамической системы позицирования, которая включает в себя пять подруливающих винтов и два ходовых винта, постоянно находящихся в работе
















