15183 (686470), страница 3
Текст из файла (страница 3)
Пристрій самохідний УДС-2 використовують для комплексів по утриманню та відгодівлі ВРХ, приміщення яких мають прохід шириною не менше 1,5м.
Машина для очищення та дезінфекції ОМ-22614 використовують для періодичного гідроочищення, мойки та вологої дезінфекції приміщень та обладнання тваринницьких ферм та птахофабрик, які не мають системи горячого постачання води.
З перерахованих машин найбільш підходящою є машина ОМ-22614, яка забезпечує дезінфекцію та очищення в невеликих проходах, використовується при відсутності гарячого водопостачання.
2.2 Визначення продуктивності лінії
Визначаємо загальну площу очищуємої та дезінфікуючої поверхні приміщень від годівельної ферми.
Fдез = n
Fn + Fb,
(2.1.)
Де n – кількість приміщень, в яких утримуються тварини, n = 6;
Fn – площа одного приміщення (підлоги та стіни),
;
Fb – площа допоміжних приміщень,
.
Площа одного приміщення (l = 72м; В = 18; Н = 2,8м – довжина, ширина та висота).
(2.2.)
Площа допоміжних приміщень, кормоцеху, адмінбудівель та інші приймаймо для розрахунку
Fb = 600
Знаходимо:
Fдез = 6
1800 + 600 = 11400
.
Враховуючи, що перед дезінфекцією необхідно провести гідроочищення [3], тоді загальна площа обробляємої поверхні
Fоб = 2
Fдез = 2
11400 = 22800
(2.3)
Відповідно діючій інструкції регламентовано витрати дезінфікуючих засобів для тваринницьких приміщень з розрахунку 1л на 1
[5].
Загальна витрата рідини складе
V = 22800л
Виходячи з продуктивності машини ОМ-22614; Q = 1000
/г час на обробку 1
площі
(3.4)
Визначаємо час цикли дезінфекції в одному приміщенні
,г (2.5)
Де
- підготовчо-заключний час, приймаємо
= 20 хв = 0,4 г.
на дезінфекцію (2.6)
- час на відпочинок та індивідуальні потреби,
= 0,5г;
- час приміщення пристрою від приміщення до приміщення,
= 18хв = 0,3г.
Находимо час циклу для одного приміщення
Продуктивність лінії ветеринарно-санітарної обробки
(2.7)
2.3 Визначення кількості машин. Короткий опис машин
Продуктивність вибраної машини ОМ-22614 [4]:
- при гідрочищенні Пог = 40
/г;
- при дезінфекції Пдез = 1000
/г.
Необхідна кількість машин для дезінфекції приміщень:
- приймаємо (2.8)
Одну машину ОМ-22614.
Машина ОМ-22614 представляє собою мобільний пристрій для створення та видачі при допомозі рукавов високо напірної струї та складається з наступних збір очних одиниць: візка, на якому закріплені електор двигун, кліноременна передача та насос високого тиску і робочого органу – гідромонітора з насадками, безпосередньо подаючими робочій орган на об’єкт і органів керування - запобіжних клапанів та дозатору для подачі назначеної норми концентрованих деззасобів в напір води і органів контролю – монометрів, показуючи тиск при очищуванні та дезінфекції і барабану на допоміжному возику для вкладання рукавів високого тиску; паливний насос, паливний бак та теплообмінник.
Обидва насадки гідромонітору мають різну геометричну форму для забезпечення формування округлої струї та плоскої із кутом розкриття
у режимі гідроочищення та конусоподібної з кутами розкриття
і
у режимі дезінфекції.
Теплообмінник має водяну сорочку, що практично виключає втрати тепла в атмосферу. У випадку відсутності води у машині встановлюється запобіжний клапан, вимикаючий паливний пристрій.
У режимі дезінфекції вода з водопровідної сітки поступає у водяну сорочку теплообмінника , підігрівається та по рукаву зливається у приймальну камеру через запірний пристрій. З приймальної камери вода засмоктується насосом високого тиску . одночасно з баку деззасобів через дозатор поступає концентрований 40% -вий розчин миючих або дезінфікуючих засобів. Після змішування з водою утворюється робочий розчин 1…15%-вої концентрації, у залежності від налагодження дозатору.
При гідрочищенні дозатор деззасобів та вентиль збросу тиску закривають. При цьому вода насосом подається до гідромотора під тиском 14МПа.
Температуру води на виході з теплообмінника встановлюють не нижче 323К (
) . концентрацію розчину встановлюємо показником дозатору . Температуру розчину ну виході з теплообмінника регулюють терморегулятором [4].
2.4 Визначення основних експлуатаційних показників
Визначаємо річні витрати праці по ветеренарно-санітарній роботі на фемі:
(2.9)
Де
- кількість змін роботи; n = 2
- кількість робітників обслуговуючих пристрій та працюючих на ветпункті, n = 2люд.
- тривалість зміни,
=7г.
Знаходимо річні витрати праці
Річна витрата електроенергії при очищуванні та дезінфекції
(2.10)
Де N – потужність електродвигуна пристрою ОМ-22614, N=7,5КВт;
- сумарна кількість часу роботи пристрою за рік, г; яке =
(2.11)
Тут
=
час гідроочищення усіх приміщень (2.12)
=
час дезінфекції усіх приміщень (2.13)
=285+11,4=296,4г – час вимушеного очищення та дезінфекції.
Знаходимо:
Річна витрата пального при годинній витраті q = 8,0кг/г
(2.14)
Висновки: В цьому розділі ми вибрали проектуємий засіб ветеренарно-санітарної обробки приміщень та визначили продуктивність та кількість машин.
3 РОЗРАХУНОК ПРОЕКТУЮЧОГО ВУЗЛА
3.1 Пояснення конструкторсько-технологічної схеми вузла
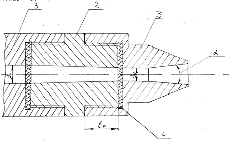
На малюнку 3.1. приводимо ескіз гідромотору з насадкою (наконечником).
Рис. 3.1. Ескіз гідромотора з наконечником (насадкою): 1 – наконечник; 2 – перехідник; 3 – трубка гідромотора; 4 – прокладка
Гідромотор машини ОМ-22614 представляє собою рукоятку, з нагвинченими на неї трубками 3. До трубки пригвинчується перехідник 2, на який встановлюється змінний наконечник (насадка) 1. Перехідники служать для накручування наконечника та з'єднання 2…3 трубок в гідромоторі.
До рукоятки приєднується напірний рукав.
Насадки гідромотора мають різну геометричну форму для забезпечення формування круглого струменю та плоского з кутом розкриття α=20° у режимі гідроочистки та конусоподібної з кутами розкриття 15° та 90° у режимі дезінфекції [9].
Насадки з круглими отворами застосовують для створення округлого струменю, що використовується для очищення поверхонь складної конфігурації. Ця насадка дозволяє отримати достатньо потужний та широкий по обсягу очищаємої поверхні струменя. Насадка, що створює плоску струю, використовується при очищенні менш забруднених поверхонь, так як струмінь не має великої потужності, але охоплює більшу поверхню.
3.2 Визначення основних робочих параметрів
Відповідно до технічної характеристики машини витрата робочого середовища складає:
Температура робочого середовища t = 50…85°C. Робочий тиск рідини: при гідроочищенні
Роч = 14 МПа; при дезінфекції Рд = 1,6МПа.
Визначаємо швидкість струменю, що виходить з насадки за формулою:
, м/с
де
- коефіцієнт швидкості насадки,
= 0,6
- напір, що створюється тиском у струмені
, Па
- густина рідини, кг/м3
Виконуємо розрахунок для гідроочищення при
, Па;
кг/м3 (густина рідини при 50°С)
, м/с
Необхідний діаметр отвору насадка
0,0024 м = 1,9…2,4 мм
Для дезінфекції ці ж параметри при
Па,
кг/м3
м/с
3.3 Розрахунок основних деталей на міцність
У випадку перекриття (забивання) отвору у гідромоторі виникає напруження розриву, яке дорівнює робочому тиску. Так при очищенні
МПа. Допустиме напруження при розриві з врахуванням динамічності навантаження [
] = 50…60 МПа, інакше міцність на розрив різьби наконечника забезпечена.
Знаходимо довжину з'єднувальної різьби з умови міцності на згин
, мм
де
- розрахункове зусилля у різьбі, Н;
- крок різьби, мм;
,
1 – поверхневий та внутрішній діаметри різьби, мм;
- допустиме напруження при згині різьби;
= 30…40 МПа приймаємо для розрахунку
= 30 МПа
Зусилля у різьбі при d = 12 мм
Н
Розрахункове зусилля у різьбі при коефіцієнті запасу n = 1,5
Н
Для різьби М12: d = 12 мм; d1 = 10,65 мм при кроці різьби t = 1,25 мм.
Знаходимо довжину різьби
мм.
Довжину різьби вибираємо конструктивно з рекомендованих умов
мм
На аркуші 3 розробляємо деталі гідромотору дезінфікуючої машини ОМ-22614.
Висновок: зробивши розрахунок проектного вузла було запропоновано спеціальний вузол гідромотор для більш зручного проведення санітарно-ветеринарної обробки приміщень та проведений розрахунок йо
4 Техніко-економічні показники проекту
Річні експлуатаційні витрати визначаємо за формулою:
С= Сз + Сам + Стр + Сел. + Спал + Спр,грн. (4.1)
Де Сз – заробітна плата
Сам – амортизаційні відрахування
Стр – відрахування на поточний ремонт
Сел. – ціна електроенергії
Спал – ціна палива
Спр – інші витрати.
Заробітну платню з нарахуваннями знаходимо за формулою:
(4.2)
Де К – коефіцієнт нарахувань на соцстрах, додаткову заробітну плату та інше, К = 1,75;
Зпр – річні витрати праці, Зпр = 10220люд-г;
- годинна тарифна ставка, приймаємо для веттехніка
=0,67 грн/г.
Знаходимо заробітну платню Сз = 1,75
10220
0,67 = 11983грн.
Амортизаційні відрахування визначаємо у розмірі 12,5%, відрахуваня на поточний ремонт – 5,4% від балансової вартості машини Б= 1270грн.
















