15000 (686382)
Текст из файла
ВГСХА
Кафедра ТЭО
Курсовая работа
Тема:
«Комбикормовый цех на базе оборудования ОЦК»
Киров 2007
1. Обоснование темы
Корма для животных и птицы должны быть питательными, вкусными, чистыми, легкопереваримыми и хорошо усваиваемыми,. Механизация приготовления кормов облегчает труд животноводов и повышает его производительность, позволяет получать корма высокого качества, обеспечивающие высокую продуктивность животных и качество получаемой продукции при снижении ее себестоимости.
Наиболее эффективное использование кормов достигается при скармливании их в виде полнорационных кормовых смесей, сбалансированных по элементам питания, витаминам, микроэлементам, антибиотикам, биостимуляторам, поскольку полного, такого набора нет ни в одном отдельном виде корма. Получаемые в кормоцехах смеси должны строго соответствовать заданной научно обоснованной рецептуре рациона для обслуживаемой группы животных, иметь заданную влажность (65...80%) и температуру (летом — 293 К, зимой — 313 К), высокую степень однородности; частицы кормовых компонентов должны сохранять свои размеры. Кормовая смесь не должна иметь в своем составе посторонних, вредных для здоровья животных примесей и образований, бактериального обсеменения и неприятных запахов. Необходимо, чтобы корма в кормоцех поступали высокого качества, строго соблюдались технология и сроки их приготовления.
Кормоцех — это кормоприготовительное помещение, в котором размешены поточные технологические линии (ПТЛ), обеспечивающие обработку всех видов кормов для обслуживаемых животных и приготовление полнорационных кормовых смесей. Комплексная механизация приготовления смесей достигается расстановкой ПТЛ в помещении кормоцеха, обеспечивающей их взаимодействие. При этом механизированы все основные и вспомогательные операции, исключающие ручной труд.
2. Обзор и анализ существующих способов и схем кормоцехов для приготовления комбикормов
Малогабаритные кормоцехи ОКЦ-15 и ОКЦ-30 (рисунок 1)предназначены для эксплуатации на фермах с часовой потребностью до 4...6 т комбикорма. Устраивают эти кормоцехи преимущественно в блоке с зерноскладами. В состав агрегата входят молотковые дробилки, блок бункеров с дозаторами, решетный стан, магнитные сепараторы, электродвигатели, система привода и шнековые распределительные устройства. Оборудование ОКЦ-15 и ОКЦ-30 большей частью унифицировано (дробилки, смеситель, наклонный шнек, решетный стан и другое) и однотипно.
1-решетный стан; 2 -загрузочная горловина; 3 - смеситель; 4 - нория; 5 -магнитная колонка; 6 - шнек нории; 7 -циклон; 8 -шнек дробилки; 9 - просеивающее устройство; 10 - наклонный шнек; 11 - нижний шнек; 12 - шнековый дозатор; 13 и 14 - начальный и конечный бункера; 15 - зерновой бункер; 16 - дозирующий шнек; 17 – дробилка
Рисунок 1. Схема технологического процесса комбикормовый агрегат ОКЦ-15
Технологический процесс протекает в такой последовательности терновые корма поступают для очистки на решетный стан и пропускаются без обработки через смеситель и норию на магнитную колонку Очищенное от металлических примесей зерно шнеком направляется в секции зернового бункера. Минеральные и белково-витаминные добавки, проходя тот же путь, собираются в бункерах. Из зернового бункера продукт выходит через шнек-дозатор в дробилку КДУ-2 и затем через циклон и его шлюзовой затвор подается шнеком на просеиватель, где разделяется на две фракции по крупности помола. Фракции поступают в секции конечного бункера раздельно. Из бункеров дозаторы подают корм в шнек-смеситель, откуда продукт выдается наклонным шнеком в транспортные средства и кормораздатчики.
Смеситель агрегата состоит из рамы бункера, шнека, электропривода, задвижек и кормопроводов. В конической части смесителя размещена выгрузная горловина которая присоединяется к приемнику нории. Продукт поступает в смеситель через загрузочный патрубок и под действием шнека поднимается в смесительную камеру. Привод шнека осуществляется от электродвигателя через клиноременную передачу. Управление электроприводом задвижек проводится с пульта.
Управление работой агрегатов - дистанционное с центрального пульта (шкафа) управления. Система сигнализации (звуковая и световая) обличает управление работой агрегата, указывая на необходимость выключения или переключения соответствующих механизмов. Обслуживают агрегаты ОКЦ-15 два, а ОКЦ-30 три человека.
В агрегате ОКЦ применены шнеки-дозаторы с храповым приводом. При работе этих агрегатов встречаются различные неполадки и отказы.
Ежедневное техническое обслуживание агрегатов для приготовления комбикорма заключается в очистке их рабочих органов от остатков продукта, проверке и подтяжке креплений сборочных единиц и подшипников, проверке натяжения приводов, удалении металла из магнитной колонки, смазке подшипников в соответствии со схемой и таблицей смазки.
Кормоцех КЦС-100/1000 (рисунок 2)рассчитан на приготовление кормов для 100 свиноматок с поросятами и 1000 свиней откормочного поголовья. Цех имеет шесть поточных линий: корнеклубнеплоды с транспортера ТК-5 поступают в измельчитель ИКС-5М и шнеком ШЗС-40А подаются в смеситель АПС-6; зеленые корма из измельчителя ИЗМ-5 загрузочным транспортером смесителя АПС-6 направляются в шнек ШЗС-40А; концкорма из питателя ПК-6 также поступают в шнек ШЗС-40А и далее в смеситель. Если требуется тепловая обработка корма или кормовой смеси, то продукт от шнека ШЗС-40А идет в варочный котел ВК-1. Обрат или питательные растворы направляются в смеситель от установки УН-2. Заканчивается процесс выгрузкой готового корма шнеком ШВС-40 и скребковым транспортером ТС-40М в кормораздаточное устройство.
1- измельчитель ИЗМ-5,0; 2 - транспортер АПС-6,0; 3- питатель концкормов ПК-6,0; 4 - транспортер корнеклубнеплодов ТК-5,0; 5 - измельчитель корнеклубнеплодов ИКС-5М (ИКМ-5,0); 6 - насосная установка УН-2,0 для обрата; 7 - выгрузной шнек ШВС-40; 8 - выгрузной транспортер ТС-40М; 9-смеситель АПС-6,0; 10 - варочный котел ВК-1,0; 11 - загрузочный сборный шнек ШЗС-40А.
Рисунок 2. Технологическая схема кормоприготовительного цеха КЦС-100/1000
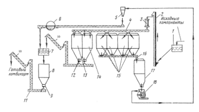
Комбикормовый цех ОЦК-4 (рисунок 3)предназначен для приготовления рассыпчатых и гранулированных комбикормов из зерна и белково-витаминных добавок промышленного производства или местного изготовления на базе премиксов. Комплектуют из отдельных блоков: размольно-смесительного, приготовления БВД, минеральных добавок, приготовления и ввода жидких добавок, гранулирования. Включают бункера и емкости для компонентов, оборудование для их измельчения и дозирования, систему пневматического управления оборудованием для дозирования сыпучих компонентов, транспортные средства и щиты электрооборудования. Использование системы пневмоавтоматики для транспортирования исходных компонентов, управления технологическим процессом, весового (массового) дозирования компонентов, порционного смесителя позволило обеспечить полную автоматизацию процесса приготовления комбикормов высокого качества.
Зерновые компоненты и промышленное белково-витаминные добавки подаются со склада на вибросепаратор, где очищаются от посторонних включений, норией и загрузочным шнеком через магнитную колонку загружаются в бункера размольно-смесительного отделения. Четыре бункера предназначены для зерновых компонентов, один — для готовых БВД и один — для травяной муки в рассыпном виде. При помощи пневматической управляющей машины в соответствии с заданным рецептом осуществляются последовательное дозирование каждого компонента и подача пневмотранспортером на порционные весы.
Сформированная порция зернового компонента через распределитель поступает в промежуточный бункер, а из него в дробилку ДБ-5. Дерть подается в бункер над порционным смесителем. В освободившиеся порционные весы в соответствии с заданным рационом последовательно подаются и взвешиваются порции БВД и травяной муки, которые также подаются в бункер над порционным смесителем. Подготовленная последовательно порция кормов массой до 500 кг засыпается в порционный смеситель для перемешивания. Затем цикл повторяется. Приготовленная смесь кормов выгружается из смесителя и подается на склад или в блок гранулирования, если в комбикорма добавляют жир, мочевину или мелассу, то смесь кормов подается в другой смеситель, в который дозированное загружаются перечисленные жидкие компоненты. При этом мелассу подогревают и при необходимости смешивают с карбамидом. После этого готовый комбикорм норией подается на склад или в блок гранулирования.
Оператор управляет работой ОЦК-4 с пульта управления. Производительность цеха 4 т/ч, установленная мощность 220 кВт.
Механизация приготовления кормолекарственных смесей при помощи передвижной установки УКС-1 на месте вспыхнувшего заболевания позволяет быстро ликвидировать его.
1-вибросепаратор; 2-нория; 3-магнитная колонка; 4-загрузочный шнек; 5-циклон; 6- просеивающее устройство;7-порционные весы; 8-бункер; 9-порциальный смеситель; 10 - наклонный шнек; 11 - нижний шнек; 12 - шнековый дозатор; 13-бункер для готовых БВД; 14 – бункер для травяной муки; 15 - зерновой бункер; 16 - дозирующий шнек; 17 –промежуточный бункер;18- дробилка.
Рисунок 3. Технологическая схема комбикормовый цех ОЦК-4
3. Выбор конкретной схемы
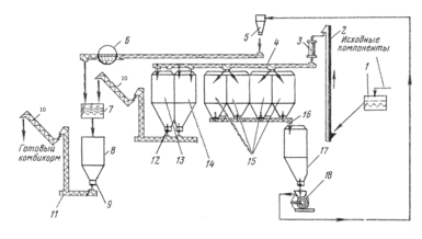
1-вибросепаратор; 2-нория; 3-магнитная колонка; 4-загрузочный шнек; 5-циклон; 6- просеивающее устройство;7-порционные весы; 8-бункер; 9-порциальный смеситель; 10 - наклонный шнек; 11 - нижний шнек; 12 - шнековый дозатор; 13-бункер для готовых БВД; 14 – бункер для травяной муки; 15 - зерновой бункер; 16 - дозирующий шнек; 17 –промежуточный бункер;18 - дробилкаДБ-5.
Рисунок 4. Технологическая схема комбикормовый цех ОЦК-4
Из перечисленных существующих схем кормоцехов для приготовления комбикормов по данным задания нам подходит комбикормовый цех ОЦК-4, схема которого представлена на рисунке 4.
4. Технологический расчет и подбор оборудования
В задании дано:
1- производительность цеха 20тонн в смену,
2- камбикорм идет на корм различным видам животным и птицы,
3- работа в 2 смены.
Производительность оборудования ОЦК-4 тонны в час, тогда одна смена работает 5 часов, то есть первая работает с 8 часов до 13 часов, вторая с 14 часов до 19 часов.
5. Энергетический расчет
W=tосв *Pосв+ tоцк *Pоцк,
где tосв- время работы освещения, ч.; tосв=11часов (с8 часов до 19часов),
Pосв- производительная мощность освещения, кВт.; Pосв=7кВт,
tоцк - время работы оборудования ОЦК-4, ч.;
tоцк= tоцк(1 смена)+ tоцк(2 смена),
где tоцк(1 смена)- время работы оборудования ОЦК-4 за первую смену, tоцк(1 смена)=5часов,
tоцк(2 смена)- время работы оборудования ОЦК-4 за вторую смену, tоцк(2 смена)=5часов
Тогда
tоцк=5+5=10часов
Pоцк- производительная мощность оборудования ОЦК-4, кВт.; Pоцк=220кВт
Тогда
W=11*7+10*220=2277кВт*ч
6. График работы оборудования и график установленных мощностей
Для построения графика оборудования и график установленных мощностей, нам потребуется мощность двигателей всего технологического процесса:
Мощность оборудования ОЦК-4, Pоцк=220кВт
Перед построением графиков, занесем имеющиеся данные в таблицы 1 и 2.
Таблица 1- Время работы оборудования
| Оборудование (марка) | Время работы, ч | |
| начало | конец | |
| 1 | 2 | 3 |
| 1 | 2 | 3 |
| освещение | 8ч. | 19ч. |
| ОЦК-4(1) | 8ч. | 13ч. |
| ОЦК-4(2) | 14ч. | 19ч. |
Таблица 2- Данные к графику установленных мощностей
| Обозначение позиций | Марка машины | Общее время работы t, ч и мин | Мощность Р, кВт |
| І | лампы | 11 ч. или 660 мин. | 7 |
| ІІ | ОЦК-4(1) | 5 ч. или 300 мин. | 220 |
| ІІІ | ОЦК-4(2) | 5 ч. или 300 мин. | 220 |
По данным таблиц 1 и 2 строим график работы оборудования и график установленных мощностей.
7. Технико-экономические показатели, техника безопасности и противопожарные мероприятия
Технико-экономические показатели
Характеристики
Тип файла документ
Документы такого типа открываются такими программами, как Microsoft Office Word на компьютерах Windows, Apple Pages на компьютерах Mac, Open Office - бесплатная альтернатива на различных платформах, в том числе Linux. Наиболее простым и современным решением будут Google документы, так как открываются онлайн без скачивания прямо в браузере на любой платформе. Существуют российские качественные аналоги, например от Яндекса.
Будьте внимательны на мобильных устройствах, так как там используются упрощённый функционал даже в официальном приложении от Microsoft, поэтому для просмотра скачивайте PDF-версию. А если нужно редактировать файл, то используйте оригинальный файл.
Файлы такого типа обычно разбиты на страницы, а текст может быть форматированным (жирный, курсив, выбор шрифта, таблицы и т.п.), а также в него можно добавлять изображения. Формат идеально подходит для рефератов, докладов и РПЗ курсовых проектов, которые необходимо распечатать. Кстати перед печатью также сохраняйте файл в PDF, так как принтер может начудить со шрифтами.















