14718 (686279)
Текст из файла
Министерство сельского хозяйства и продовольствия Республики Беларусь
Белорусский государственный аграрный технический университет
Кафедра электрооборудования сельскохозяйственных предприятий
КУРСОВАЯ РАБОТА
по дисциплине «Электропривод»
Электропривод штангового навозоуборочного транспортера.
Студентка 4-го курса 20эн группы
Григорович Екатерина Михайловна
Руководитель
Гурин Владимир Владимирович
Минск 2008
Реферат
Курсовой проект на тему: "Электропривод кареточно-скреперного транспортера" выполнен в объеме: расчетно-пояснительная записка на 38 страницах, таблиц 10, рисунков 0; графическая часть на 9 листах, в том числе формата А4 9 листов.
Ключевые слова: электропривод, мощность, момент.
В проекте разработан электропривод штангового навозоуборочного транспортера. Проведен расчет и выбор элементов электропривода согласно заданию.
Содержание
Введение
1 Технологические характеристики рабочей машины
1.1 Назначение
1.2 Описание конструкции рабочей машины
1.3 Описание рабочих органов и их параметров
1.4 Технологическая схема использования рабочей машины
1.5 Требования к управлению рабочей машиной
1.6 Характеристика условий окружающей среды и электрооборудованию
2 Выбор электродвигателя для привода рабочей машины
2.1 Расчет и построение механических характеристик рабочей машины под нагрузкой и на холостом ходу
2.2 Расчет и построение нагрузочной диаграммы рабочей машины
2.3 Выбор предполагаемого электродвигателя по роду тока, напряжению, числу фаз, типу, модификации, частоте вращения
2.4 Выбор кинематической принципиальной схемы электропривода
2.5 Приведение мощности, момента и скорости рабочей машины к валу электродвигателя и обоснование режима его работы
2.6 Окончательный выбор электродвигателя по мощности с учетом режима работы
2.7 Проверка выбранного электродвигателя по условиям пуска, перегрузочной способности и на допустимое число включений в час
2.8 Проверка выбранного электродвигателя на нагревание за цикл нагрузочной диаграммы
2.9 Построение механической и электромеханической характеристик электродвигателя
3 Выбор элементов кинематической принципиальной схемы
3.1 Выбор монтажного исполнения электродвигателя
4 Расчет переходных процессов в электроприводе
4.1 Обоснование способа пуска и торможения электропривода
5 Разработка принципиальной электрической схемы управления электроприводом
5.1 Требования к управлению машиной и пути их реализации
5.2 Описание разработанной схемы управления электроприводом
5.3 Выбор аппаратов защиты электрических цепей и аппарата защиты электродвигателя в аварийных состояниях по критерию эффективности
5.4 Выбор аппаратов управления электроприводом
6 Определение показателей разработанного электропривода
6.1 Расчет показателей надежности разработанного электропривода
6.2 Определение удельных и энергетических показателей разработанного электропривода
7 Разработка ящика управления электроприводом
7.1 Определение суммарной площади монтажных зон аппаратов и типа ящика управления
7.2 Пояснения о размещении аппаратов в ящике управления и составлению схемы соединений ящика управления
7.3 Выбор проводов для схемы соединения ящика управления и кабелей для схемы внешних соединений
Заключение по проекту
Литература
Введение
Автоматизация и электрификация сельскохозяйственного производства приводит к облегчению труда рабочих, и уничтожение существенного различия между умственным и физическим трудом, и дальнейшему повышению материального благосостояния народа.
Современный электропривод определяет собой уровень силовой электровооружённости, является главным средством автоматизации рабочих машин и механизации производственных процессов.
Рост электрификации и автоматизации, создание на этой базе более современных машин ведут к огромному повышению производительности труда.
Производство, переработка и хранение сельскохозяйственной продукции тесно связано с использованием электроприводов.
Преимущества электропривода состоит в том, что электрическая энергия легко передаётся на большие расстояния, обладают высокой экологической чистотой, что немаловажно в современных технологиях, а также может преобразовываться не только в механическую, но и в тепловую и в другие виды энергии, необходимые как в производстве, так и в быту. Электропривод отличается большим количеством конструктивных решений, функционального назначения, технических параметров и т.д. Преимущества использования электропривода могут быть реализованы лишь при правильном его выборе по различным параметрам.
Таблица 1- Исходные данные
| Показатели | Данные |
| Мощность под нагрузкой, | 3,3 |
| Мощность на холостом ходу, | 0,8 |
| Число уборок | 4 |
| Скорость движения скребков, | 0,21 |
1 Технологические характеристики рабочей машины
1.1 Назначение
Кареточно-скреперный транспортер предназначен транспортировать бесподстилочный навоз по каналам. Имеет два исполнения: продольный и поперечный. Продольный используют для транспортирования навоза по продольным каналам животноводческого помещения от мест помещения его в желоб поперечного транспортера, поперечный – по поперечным каналам в навозосборник. Преимущественно они работают совместно, но возможно использование их и по отдельности. По строению и действию оба исполнения похожи друг на друга.
1.2 Описание конструкции рабочей машины
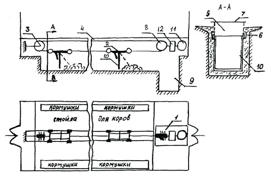
Транспортер состоит из приводной станции 1, кареток 2, натяжного устройства 3 и тягового троса 4 (рисунок 1). Каретки монтируются в продольном канале 5 и перемещаются по направляющим швеллерам 6, с помощью тягового троса. Канал перекрыт деревянными щитами 7, уровень которых на 10 – 12 см выше пола стойл, вследствие чего образуется щель для сброса навоза. Вблизи приводной звездочки 8, вместо троса натянута втулочно-роликовая цепь. Длина хода кареток на 2 – 3 метра больше расстояния между ними, что обеспечивает передачу навоза от одной каретки к другой. Перемещение навоза в направлении навозоприемника 9, производится скребками 10, шарнирно укрепленными к рамкам кареток. При прямом (рабочем) ходе скребки занимают вертикальное положение и, упираясь в ограничители, перемещают навоз по каналу. При обратном (холостом) ходе скребки отклоняются навозом. Приводная звездочка получает вращение от двигателя 11 через редуктор 12. Смена направления движения кареток осуществляется реверсированием двигателя.
Рисунок 1 – Схема установки кареточно-скреперного транспортера в коровнике.
1.3 Описание рабочих органов и их параметров
Главные узлы кареточно-скреперного транспортера: скреперы, тяговый орган, приводная станция, поворотные и поддерживающие блоки и ролики.
Скрепер является рабочим органом, который непосредственно перемещает навоз по каналам. Имеет тележку и скребок. Скреперов может быть несколько. Устанавливают их в навозных железобетонных каналах на расстоянии 7 м друг от друга на специальных направляющих. Тележка сварена из труб, имеющих четыре колеса, крюк. Скребок, сделанный из стального листа, шарнирно прикрепляют к верху рамы тележки.
Тяговый орган предназначен перемещать скреперы. Это бесконечный контур, который состоит из штанг (прутьев) и цепей. Штанги расположены на прямых участках контура тягового органа между скреперами, цепи – на его приводных и поворотных участках.
Приводная станция перемещает тяговым органом скреперы – придает им возвратно-поступательное движение. Она имеет раму, каретку, электродвигатель, муфту, редуктор, механизмы автоматического выключения, реверсирования движения, натяжное устройство.
1.4 Технологическая схема использования
Запускают в действие приводные станции поперечного и продольного транспортеров. Сбрасывают навоз в каналы продольных транспортеров. В
1.5 Требования к управлению рабочей машины
К управлению рабочей машиной должны быть предъявлены следующие требования:
1 Дистанционное ручное управление.
2 Автоматическое программное управление.
3 Для безопасности обслуживающего персонала пуску автоматизированного электропривода должен предшествовать предупредительный световой сигнал.
4 Схема должна обеспечивать невозможность неправильного включения и отключения электрических цепей.
5 Для обеспечения бесперебойной работы электропривода необходимо иметь отлаженную защитную аппаратуру, обеспечивающую своевременное отключение электродвигателя в случае его перегрузки, неисправности рабочей машины или привода.
6 Схема управления должна быть простой и надежной. В ней рекомендуется применять однотипные средства автоматизации с наименьшим числом элементов, входящих в систему. Надежность установки повышается, если выполнены необходимые электрические и механические блокировки.
7 Схема управления должны обеспечивать достаточную гибкость и удобство управления. Система управления считается гибкой, если допускает простые и быстрые переходы к управлению во всех предусмотренных режимах.
8 В схеме должны предусматриваться кнопки аварийного отключения линии в разных местах протяженного помещения, позволяющие при необходимости быстро отключить линию.
9 При размещении электрооборудования следует учитывать возможность защиты его от влияния вредных воздействий.
1.6 Характеристика условий окружающей среды и требований к электрооборудованию
Для выбора рационального привода необходимо учитывать условия окружающей среды и электроснабжения. Ряд сельскохозяйственных помещений отличается высоким содержанием химически активных веществ в сочетании с высокой влажностью окружающей среды.
Категория помещения по ПУЭ – особо сырые с химически активной средой. Температура среды 5…20°С, относительная влажность при 20 °С достигает 75…100 %; потолок, стены и предметы покрыты влагой. В воздухе содержатся пары аммиака, сероводорода и углекислого газа.
Наиболее агрессивное включение атмосферы помещений – аммиак, содержание которого в животноводческих помещениях колеблется в широких пределах. Углекислый газ, взаимодействуя с водой, образует слабую неустойчивую кислоту, существенно не влияющую на изоляцию, но усиливающую коррозию металлов. При таких тяжелых условиях окружающей среды и малом числе часов работы в сутки, когда двигатели не успевают “самоосушиться”, сопротивление изоляции электрооборудования быстро снижается.
Для привода машин, работающих в животноводческих помещениях, следует применять электродвигатели сельскохозяйственного назначения. Эти двигатели имеют специальную пропитку обмоток и окраску, поэтому меньше подвержены коррозии. Рекомендуемое для таких помещений исполнение электродвигателя 4А…СУ1 или 4А…УХЛ3.
Степень защиты электрооборудования – IP44.
Электромагнитные пускатели, реле, контакторы и другие аппараты надо устанавливать в закрытых пультах, шкафах, корпусах.
Электротехническая промышленность выпускает типовые низковольтные комплектные устройства управления в виде ящиков управления. Оболочки ящиков герметизированы, для поглощения избытка влаги внутри них используется силикагель, покрытие химостойкое. Эти устройства рассчитаны на работу в наружных установках, в сырых помещениях с химически активной средой.
2 Выбор электродвигателя для привода рабочей машины
2.1 Расчет и построение механических характеристик рабочей машины под нагрузкой и на холостом ходу
В задании указана мощность
на валу рабочей машины и мощность
холостого хода рабочей машины.
Номинальная угловая скорость
рабочей машины определяется по формуле:
,
где
- линейная скорость рабочего органа,
;
- радиус барабана,
. Принимаем
.
.
Характеристики
Тип файла документ
Документы такого типа открываются такими программами, как Microsoft Office Word на компьютерах Windows, Apple Pages на компьютерах Mac, Open Office - бесплатная альтернатива на различных платформах, в том числе Linux. Наиболее простым и современным решением будут Google документы, так как открываются онлайн без скачивания прямо в браузере на любой платформе. Существуют российские качественные аналоги, например от Яндекса.
Будьте внимательны на мобильных устройствах, так как там используются упрощённый функционал даже в официальном приложении от Microsoft, поэтому для просмотра скачивайте PDF-версию. А если нужно редактировать файл, то используйте оригинальный файл.
Файлы такого типа обычно разбиты на страницы, а текст может быть форматированным (жирный, курсив, выбор шрифта, таблицы и т.п.), а также в него можно добавлять изображения. Формат идеально подходит для рефератов, докладов и РПЗ курсовых проектов, которые необходимо распечатать. Кстати перед печатью также сохраняйте файл в PDF, так как принтер может начудить со шрифтами.















