166646 (685469), страница 3
Текст из файла (страница 3)
кДж (3.2.17)
кДж (3.2.18)
-
Тепло потери окружающей среде
(3.2.19)
кДж/моль (3.2.20)
∆Нпр.р. – это теплота продуктов реакции;
Qисх.в. – это теплота исходных веществ; / 9 /
Показатели теплового баланса получения сульфата магния фармакопейного приведены в таблице 3.2.
Таблица 3.2 Тепловой баланс производства сульфата магния фармакопейного
Приход | Расход | ||
| Состав | кДж | Состав | кДж |
| 1. Тепло вносимое оксидом магния | 10067,3 | 1. Тепло расходуемое сульфатом магния | 62300 |
| 2. Тепло вносимое серной кислотой | 31809,5 | 2. Тепло расходуемое сульфатом кальция | 96,8 |
| 3. Тепло вносимое водой | 18320,4 | 3. Тепло расходуемое сульфатом железа | 78,6 |
| 4. Тепло вносимое реакцией | 2296,9 | 4. Тепло потери окружающей среды | 19,04 |
| ИТОГО | 62494,4 | 62494,4 | |
3.3 Выбор основного оборудования
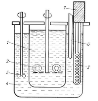
Рассмотрен основной аппарат-низкотемпературный кристаллизатор, который необходим на стадии кристаллизации магния сульфата, представленный на рис. 3.3.
Рис. 3.3 – Схема низкотемпературного кристаллизатора: 1 – раствор; 2 – кристалл; 3 – печь; 4 – термостат; 5 – мешалка; 6 – контактный термометр; 7 – терморегулятор.
Низкотемпературный кристаллизатор представляет собой сосуд с раствором 1, в котором создаётся пересыщение, необходимое для роста кристаллов 2 путём медленного снижения температуры, реже испарением растворителя.
После заполнения кристаллизатора в раствор при включенном мешальном устройстве задается мерной кружкой серная кислота реактив в количестве массовой концентрации H2SO4 0,3–0,5 г/л.
Отбор пробы раствора из анализ проводится пробоотборником через смотровой люк. Массовая концентрация H2SO4 в растворе определяется аналитическим путем.
Кристаллизатор – вертикальный аппарат, изготовленный из нержавеющей стали. Снабжен рубашкой и якорной мешалкой, объемом 10 м3.
Кристаллизация магния сульфата происходит за счет понижения температуры раствора вследствие передачи тепла охлаждающей среде. В качестве охлаждающей среды в кристаллизаторах используется техническая вода. Раствор в кристаллизаторе охлаждается в течение 15–20 часов до температуры не более 25 0С.
Температура раствора кристаллизаторе фиксируется прибором.
Подача воды в рубашку регулируется вентилем, установленным на трубопроводе поступления воды в кристаллизатор.
Применение мешалки с водяным охлаждением значительно уменьшает и даже полностью устраняет образование инкрустаций на стенках аппарата. Перемешивание раствора и водяное охлаждение позволяют увеличить скорость кристаллизации в этих аппаратах в 8–15 раз по сравнению со стационарными кристаллизаторами. Вообще следует отметить, что для кристаллизаторов периодического действия образование инкрустаций не представляет особенного больших эксплутационных неудобств, поскольку эти пристенные осадки при заполнение горячим, несколько ненасыщенным раствором полностью растворяются.
-
Расчет основного аппарата
Расчет кристаллизатора состоит из следующих условий:
-
Расход охлаждающей воды
, начальная температура на входе в аппарат
и общий коэффициент теплопередачи К в ходе процесса остаются постоянными; -
начальная температура раствора
и
и конечная температура охлаждающей воды
, отводимой из аппарат, предварительно заданы.
В кристаллизаторе с водяной рубашкой охлаждается V=2 м3 раствора МgSО4; 7Н2О от температуры
=600С до температуры
=250С. Начальная температура охлаждающей воды
=150С, коэффициент теплопередачи К=250 вт/(м2 град). Концентрация раствора при 600С
=0,575 и при 250С
=0,480. Так как теплоемкость кристаллов Скр.=1,105 кдж/(кг град) или 0,264 ккал/(кг град), то по правилу аддитивности определяем теплоемкость исходного раствора
кдж/(кг град) (3.4.1)
где св – теплоемкость воды, равная 4.19 кдж/(кг град)
Теплота кристаллизации q=254,1 кдж/кг (60 кккал/кг), плотность исходного раствора 1380 кг/м3.
Из уравнения теплового баланса определим количество тепла, которое необходимо отнять из растовра при его кристаллизации
(3.4.2)
Количество выпадающих кристаллов Gкр. Можно определить из уравнения материального баланса по сухому веществу:
(3.4.3)
Таким образом
Q= 2*1380*2,413 (60–25)*504*254,1=428307 кдж (3.4.4)
-
Определим поверхность теплопередачи. Так как объем кристаллизуемого раствора задан, а тип и размеры аппарата известны, тогда полезный объем аппарата
(3.4.5)
а его теплопередающая поверхность
(3.4.6)
-
Приняв температуру воды, выходящей из рубашки в последней момент охлаждения t2н, определим
и lnA=0.305 (3.4.7)
Отсюда средняя разность температур
=
(3.4.8)
По найденным значениям F, A и
из уравнения
(3.4.9)
определяем время кристаллизации
(3.4.10)
Из уравнения
(3.4.11)
определяем расход воды
(3.4.12)
где теплоемкость воды с2=4190 Дж/(кг град)
Общий расход воды за время кристаллизации
Gоб.п.=Gвτ=0,591*13800=8155 кг (3.4.13)
-
Расчет и подбор вспомогательного оборудования
Основным вспомогательным оборудованием является:
1. Рамный фильтр-пресс. Характеристика: сталь нержавеющая 12Х18Н10Т ФМП 2214–630/25 площадь фильтрации 25 м2, электродвигатель N- 4 кВт, п – 1500 об/мин. Фильтр-пресс состоит из 29 пар чередующихся прямоугольных плит и полых рам размером 600 х 600 мм. Плиты и рамы за счет боковых рукояток опираются на опорные балки, закрепленные в упорной плите и стойке зажимного устройства. Под действием зажимного устройства плиты и рамы находятся в сжатом состоянии между упорной и нажимной плитами. На каждую плиту надевается фильтровальная ткань-бельтинг. Каждые две плиты, с заключенной между ними рамой образуют самостоятельно работающую фильтровальную камеру. Плиты фильтр-пресса снабжены дренажными канавками для отвода фильтрата в сборные каналы. Совпадающие по оси отверстия в верхней части плит и рам образуют один общий канал для выхода фильтрата, в нижней – для подачи суспензии и промывной воды. Раствор сульфата магния нагнетается насосом в центральный канал, распределяется по фильтрующим камерам, проходит через фильтровальную ткань, стекает в сборный канал и с плотностью 1,27–1,28 г./см3 направляется в сборник фильтрованного раствора.
2. Теплообменник кожухотрубный. Характеристика: сталь 3, диаметр – 1000 мм, высота – 2000 мм, поверхность теплообмена – 40 м2
3. Холодильник. Характеристика: Сталь 3, вертикальный цилиндрический реактор: диаметр – 1800 мм, высота – 2250 мм, V – 6,3 м3, с водяной рубашкой и мешальным устройством, электродвигатель N – 5,5 кВт, п – 1500 об/мин.
4. Фильтр ЛГ. Характеристика: Сталь нержавеющаяХ18Н10Т, аппарат прямоугольной формы размером 1400х800 мм, высота – 1200 мм, с днищем в форме трапеции и открывающейся крышкой. Он представляет собой горизонтальный аппарат с днищем овальной формы и откидывающейся крышкой, выполненный из нержавеющей стали, объемом 1,2 м3. Внутрь фильтра вставляются фильтрующие элементы, изготовленные в форме рам размером 720х720 мм, на которые надевается фильтровальная ткань-фильтродиагональ. Общая поверхность фильтрации 40 м2.
При наполнении фильтра раствором жидкая фаза проходит через фильтровальную ткань и через трубки отвода фильтрата выводится в желоб-коллектор, откуда самотеком стекает в сборник фильтрованного раствора
5. Центрифуга ТВ –1200. Характеристика: Сталь нержавеющая 12Х18Н10Т ТВ-1200 центрифуга с верхней выгрузкой, Q – 250 кг/операцию, электродвигатель N – 11 кВт, п – 1500 об/мин. Маточный раствор в центрифуге под действием центробежных сил через фильтровальную сетку и отверстия в стенках ротора удаляется в сборник маточного, представляющий собой прямоугольную емкость из нержавеющей стали, вместимостью 2 м3, откуда центробежным насосом возвращается в осадитель.
6. Сушильный барабан. Характеристика: Сталь нержавеющаяХ18Н10Т, полый горизонтальный цилиндр: диаметр – 800 мм, длина – 5000 мм, поверхность сушки – 12,5 м2., электродвигатель N – 5,5 кВт, п – 1500 об/мин. Он представляет собой вращающийся цилиндрический аппарат из нержавеющей стали, установленный бандажами на приводных роликовых опорах с наклоном 1–40. Привод осуществляется от электродвигателя через редуктор на валы роликовых опор. Внутри барабана по всей его длине приварены пластины, способствующие перемешиванию и перемещению кристалла из зоны загрузки к выходу. Сушка продукта происходит за счет тепла воздуха, подаваемого в зону выгрузки, противотоком по отношению к движению кристалла.
7. Центробежный насос. Характеристика: Чугун СЧ 15–32, Q-35 м3/ч, Н-25 м однодисковый, электродвигатель N – 7,5 кВт, п – 1500 об/мин.
8. Ресивер. Характеристика: Сталь нержавеющаяХ18Н10Т. Цилиндрическая вертикальная емкость с коническим днищем: диаметр – 1800 мм, высота – 2000 мм, V – 5 м3
9. Осадитель. Характеристика: Сталь нержавеющаяХ18Н10Т. Цилиндрическая вертикальная емкость с плоским днищем: диаметр – 2000 мм, высота – 2500 мм, V – 8 м3 с мешальным устройством. Электродвигатель N – 5,5 кВт, п – 1500 об/мин.
-
Производственный контроль
В данном разделе рассмотрены основные контролирующие параметры и методы контроля, которые представлены в таблице 4.1.
Таблица 4.1 Перечень важнейших контрольных параметров производства сульфата магния фармакопейного
| Наименование стадии, процесса, места измерения о отбора проб | Контролируемый параметр | Частота и способ контроля | Нормы и технические показатели | Методы испытания и средства контроля | Кто контролирует | |||||||||||||
А) Масса порошка магнезитового каустического | Аппаратчик, технологическая карта | |||||||||||||||||
| Масса, кг | Каждая операция. | 450–500 | Весовой метод | |||||||||||||||
| Б) Серная кислота техническая | Объем, л | Каждая операция. | 510–535 | Мерный сборник | ||||||||||||||
| В) Вода техническая | Объем, м3 | Каждая операция. | 2–2,6 | Визуально до определенного уровня | ||||||||||||||
| Массовая концентрация Mg(OH)2, г/л | Каждая операция. | 1,5–2 | Метод нейтрализации. Сборник аналитического контроля №275 | Лаборант, журнал аналитического контроля | ||||||||||||||
| Плотность, г/см3 | Каждая операция. | 1,29–1,33 | Ареометр лабораторный АОН-2 ГОСТ 18481–81 шк. 1,24–1,32 или шк. 1,32–1,40 | Аппаратчик, технологическая карта | ||||||||||||||
| 2. Фильтрация раствора магния | Плотность, г/см3 | Каждая операция. | 1,27–1,29 | Ареометр лабораторный АОН-2 ГОСТ 18481 шк. 1,24–1,32 | Аппаратчик, технологическая карта | |||||||||||||
| Уровень от верха, мм | Каждая операция. | Нmaх – 200 | Релейная схема световой с датчиком контроля верхнего уровня с автоматическим отключением насоса | Аппаратчик | ||||||||||||||
| 3. Очистка раствора магния сульфата от примесей железа и марганца | Масса порошка магнезитоогот каустического, кг | Каждая операция. | 9 | Весы товарные РП-150 ЦВТ | Аппаратчик, технологическая карта | |||||||||||||
| Массовая концентрация Mg(OH)2, г/л | Каждая операция. | 2–2,5 | Метод нейтрализации. Сборник аналитического контроля №275 | Лаборант, журнал аналитического контроля | ||||||||||||||
| Масса угля активного осветляющего, кг | Каждая операция. | 6–9 | Весы технологические РП-150 ЦВТ | Аппаратчик, технологическая карта | ||||||||||||||
| Температура, °С | Каждая операция. | 90–95 | Термообразователь ТСМ-5071 гр. 23. Автоматический самопишущий мост КСМЗ-П шк. 0–180 °С, кл. т. 0,5 | – «»- | ||||||||||||||
| 4. Упарка раствора магния сульфата | Давление, МПа (кгс/см2) | Каждая операция. | 0,3–0,4 (3–4) | Манометр МТП-100 ГОСТ 2405–72 шк. 0–6МПа кл. т. 2,5 | Аппаратчик, лаборант, технологическая карта | |||||||||||||
| Плотность, г/см3 | Каждая операция. | 1,36–1,38 | Ареометр лабораторный АОН/2 ГОСТ 18481–81 Каждая операция упаривания шк. 1,32–1,40 | Аппаратчик, лаборант, технологическая карта | ||||||||||||||
| 5. Охлаждение раствора магния сульфата | Температура °С | Каждая операция. | 57–60 | Термопреобразователь ТСМ-5071, гр. 23. Автоматический самопишущий мост КСМЗ-П шк. 0–180 °С кл. т. 0,5 | Аппаратчик, технологическая карта | |||||||||||||
| Прозрачность раствора | Каждая операция. | Отсутствие мути | Визуально | Аппаратчик, технологическая карта | ||||||||||||||
-
Автоматизация и автоматизированные системы управления
В данном разделе рассмотрим выбранные средства контроля и автоматизации, которые приведены в таблице 5.1.
, начальная температура на входе в аппарат
, отводимой из аппарат, предварительно заданы.















