165943 (685431), страница 8
Текст из файла (страница 8)
Этиловый спирт ядовит, действует на центральную нервную систему, при попадании в организм в небольших количествах вызывает опьянение, в больших — состояние, близкое к наркозу, иногда заканчивающееся смертью. Предельно допустимая концентрация паров спирта в помещении 1000 мг/м3.
Диэтиловый эфир обладает наркотическими свойствами, действуя на центральную нервную систему. Пары эфира с воздухом образуют взрывоопасные смеси. Предельно допустимая концентрация паров диэтилового эфира в помещении 300 мг/м3.
Инертный газ состоит из азота (до 86%), двуокиси углерода (до t2%) и кислорода (до 2%); СО быть не должно. При большом скоплении инертного газа в помещении снижается содержание кислорода, что может привести к кислородному голоданию организма. Иногда в инертном газе содержится окись углерода; она вызывает головные боли при вдыхании небольших количеств, обморочное состояние и смерть при вдыхании больших количеств.
Азот не ядовит, но при большом скоплении в помещении снижает содержание кислорода. Технический азот, подаваемый в цех, содержит до 0,1% кислорода.
Фосфорнокислотный катализатор, содержащий не менее 48% Н3Р04 и до 52% силикагеля. Катализаторная пыль вызывает раздражение дыхательных путей. Предельно допустимая концентрация катализаторной пыли в помещении 2 мг/м3.
Ортофосфорная кислота (60—80%-ная) при попадании на кожу вызывает ожоги.
Едкий натр (40%-ный раствор) — едкая жидкость. При попадании на кожу вызывает ожоги с образованием язвочек. Особенно опасно попадание щелочи в глаза.
6.3 Основные правила работы с токсичными газами и едкими веществами
Общими средствами защиты от углеводородных газов и паров, применяемыми в производственных помещениях, являются проветривание помещений (естественная вентиляция), приточная, вытяжная и аварийная вентиляция.
В качестве индивидуальных средств защиты органов дыхания и зрения работающих используются промышленные фильтрующие противогазы. Применение фильтрующих противогазов возможно только в атмосфере, содержащей не менее 16% (об.) свободного кислорода и не более 0,5°/о (об.) вредных веществ..
Общими средствами защиты от пыли катализатора и силикагеля служат вытяжные вентиляционные и аспирационные установки, а также воздухозаборники, устанавливаемые в местах пылевыделения. Индивидуальными средствами защиты от пыли являются респираторы типа «лепесток» одноразового пользования.
Защитными средствами от едких жидкостей (кислот, щелочей) являются наголовные щитки, очки, шлем-маски от противогазов, прорезиненные фартуки и перчатки, резиновые сапоги. При работе со щелочью необходимо быть в хлопчатобумажной спецодежде, при работе с кислотой — в суконной.
При проведении работ в слабо вентилируемых помещениях, емкостях, колодцах, траншеях и т. д. применяют шланговые противогазы. В тех случаях, когда нельзя работать в шланговом противогазе, применяют газоизолирующий аппарат.
При загазованности помещения первый, кто это заметил, должен сообщить в газоспасательный отряд по телефону и начальнику смены, а сам до прибытия дежурного по отделению должен принять меры по устранению причины загазованности, усилению вентиляции и предупреждению обслуживающего персонала.
6.4 Основные правила пожарной безопасности
Взрыв или пожар могут произойти при концентрациях углеводородов, спирта, диэтилового эфира в интервале от нижнего до верхнего пределов взрываемости.
Возбудителями взрыва или воспламенения являются:
-
открытое пламя (курение или ведение огневых работ в цехе);
-
самовоспламенение продуктов (сернистого железа, образующегося в аппаратах при наличии сероводорода в перерабатываемом газе, а также углеводородных полимеров, образующихся в процессе переработки непредельных углеводородов);
-
искра при ударе металла о металл или камень;
-
образование искры при работе на неисправном электрооборудовании;
-
статическое или атмосферное электричество.
В целях соблюдения мер пожарной безопасности в цехе и недопущения пожаров и загораний необходимо весь цех (территорию, технологические установки, резервуарные парки, склады, мастерские, служебно-бытовые помещения и прочие объекты) содержать в чистоте и порядке. Кроме того, не допускается загромождение проезжих дорог, подъездов, подступов к зданиям и сооружениям, путей эвакуации, проходов и выходов из зданий, площадок вокруг производственного оборудования, подступов к противопожарному инвентарю и средствам связи посторонними предметами.
Условия проведения огневых работ в цехе такие:
-
в компрессорном отделении цеха разрешаются временные огневые работы по пайке электродвигателей, компрессоров. Двигатель, ремонтируемый с применением временных огневых работ, отключают от коммуникаций заглушками и продувают инертным газом до отсутствия в цилиндрах двигателя непредельных углеводородов;
-
систему гидратации, на которой проводятся временные огневые работы, нужно остановить. Давление из системы сбрасывают, а участок, на котором проводятся временные огневые работы, отключают заглушками от аппаратов и коммуникаций и пропаривают до полного отсутствия углеводородов; анализ воздуха в месте сварки должен показывать отсутствие углеводородов;
-
при проведении огневых работ внутри реактора требуются следующие дополнительные условия: во время проведения огневых работ с помощью вытяжной вентиляции отсасывают воздух из реактора; решетки под реактором закрывают асбестовым одеялом с целью избежать попадания искр на этот этаж отделения.
Все средства пожаротушения, пожарное оборудование и инвентарь должны содержаться на установленных местах в полной исправности и готовности к немедленному использованию.
Не допускается розлив жидких углеводородов и нефтепродуктов, а также утечка газов через фланцевые соединения, сальники насосов и запорную арматуру.
В случае возникновения пожара или аварии необходимо немедленно сообщить в пожарную команду по телефону 01 или по извещателю и одновременно принять меры по ликвидации аварии и тушению пожара имеющимися средствами пожаротушения: водой, песком, паром, асбестовыми одеялами, огнетушителями.
При тушении электрооборудования можно применять воду и пар; пенный огнетушитель разрешается использовать только после снятия напряжения.
Заключение
Производство этилового спирта в нашей стране играет важную роль в народном хозяйстве.
Гидратация этилена - наиболее эффективный способ производства этилового спирта, позволяющий экономить по сравнению с его получением из пищевого сырья на 1т этилового спирта около 4 т зерна или до 12 т картофеля.
На получение 1 т этилового спирта из пищевого сырья затрачивается от 160 чел.-час (из зерна) до 280 чел.-час. (из картофеля), из нефтехимического сырья - 10 чел.-час.; значительно меньше капитальных затрат потребуется на строительство заводов синтетического этилового спирта по сравнению с заводами пищевого этилового спирта.
Метод получения этилового спирта сернокислотной гидратацией этилена в настоящее время несколько устарел, кроме того он является небезопасным. Опасность данного метода обуславливается прежде всего использованием концентрированной серной кислоты и жёсткими технологическими параметрами процесса. Использование того или иного способа производства во многом обуславливается качеством сырья, а именно – содержанием этилена в исходной фракции.
Прямая гидратация этилена имеет ряд преимуществ перед сернокислотным методом: исключение расхода серной кислоты и минимальные потребности в других реагентах, кроме этилена и водяного пара. Кроме того, процесс прямой гидратации этилена протекает в одну стадию, что обуславливает более высокий выход спирта.
Этиловый спирт применяется в пищевой, химической промышленности, в парфюмерии и медицине, поэтому необходимо следить за соответствием получаемого спирта ГОСТам нашей страны. Сейчас в России довольно сложная ситуация с потреблением алкоголя населением. Нашей пищевой промышленности нужен контроль за качеством спирта, за подпольным производством и незаконной продажей спиртных напитков. Таким образом, возможно, уменьшить смертность населения, и употребление алкоголя станет более безопасным.
Список использованных источников
1. Валакин В.П. Получение синтетического этилового спирта. М., Химия, 1976.
2. Лебедев Н.Н. Химия и технология основного органического и нефтехимического синтеза. Изд. 3-е, перераб. М., Химия, 1981 г.
3. Справочник. Расчёты химико-технологических процессов. Под общей редакцией проф. И. П. Мухлёнова. Л., «Химия», 1976 г.
4. Справочник. Краткий справочник физико-химических величин. Изд. 8-е, пер./Под ред. А.А. Равделя и А.М. Пономарёвой. Л., Химия, 1983 г. 232с.
5. Юкельсон И.Ю.Технология основного органического синтеза. М.,Химия, 1968 г.
6. Паушкин Я.М. Нефтихимический синтез в промышленности. М.,Наука,1966 г.
7. Авторские свидетельства: №307997, №577201, №847911, №249358, №368216, №608796, №.2337967.
Приложения
Рис. 1. Схема отделения прямой гидратации этилена:
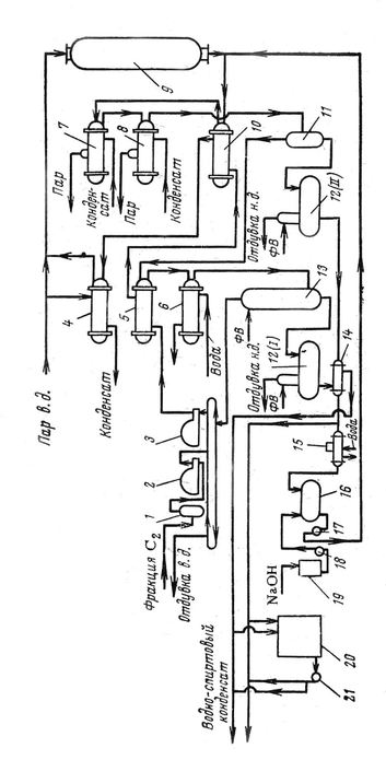
1 - буфер; 2 - компрессор свежего этилена; 3 - компрессор циркулирующего газа; 4 - паровой подогреватель; 5, 10, 14 - теплообменники; 6, 15 - холодильники; 7,8 - котлы-утилизаторы, 9 - реактор; 11 - сепаратор; 12(1), 12(11) - газоотделители; 13 - скруббер; 16, 20 - ёмкости; 17, 18, 21 - насосы; 19 - сборник; ФВ - фузельная вода
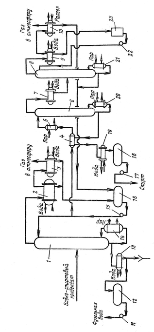
Рис.2. Схема отделения ректификации водно-спиртового конденсата:
1, 6, 8 – ректификационные колонны; 2, 3, 7, 9, 10 – конденсаторы-дефлегматоры; 4 – теплообменник; 5 – паровой подогреватель; 11, 15, 17, 22 – насосы; 12, 16, 18 – ёмкости; 14, 20, 21 – кипятильники; 23 – сборник.
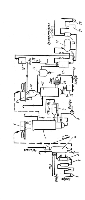
Рис. 3. Схема катализаторного отделения:
1 – воздуходувка; 2 – осушитель; 3 – паровой подогреватель; 4 – пропарочный аппарат; 5, 9 – полигональные сита; 6 – прокалочная печь; 7 – топка; 8, 13 – вентиляторы; 10 – пропиточная ванна; 11 – сушилка; 12 – бункер; 14 – отстойник; 15, 16 – сборники; 17 – смеситель; 18 – насос; 19, 20 – ёмкости; 21 – щелочной гидролизатор; 22 – вакуум-насос; 23 – калорифер; 24 – сито «Ротекс».
Рис. 4. Реактор: Рис. 5. Скруббер:
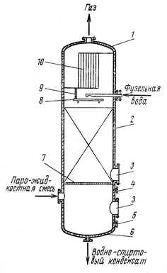
Рис. 6. Ректификационная колонна;
1 – крышка; 2, 3, 5, 6, 9 – штуцеры для термопар; 4 – люки; 7 – корпус; 8, 10 – штуцеры для замера уровня в кубе; 11 – днище; 12 – прорези; 13 – отверстия для слива жидкости; 14 – отверстия для прохода паров.
















