105239 (682918), страница 11
Текст из файла (страница 11)
Для производственного помещения участка при РМЦ, характерны зрительные работы станочников и операторов на рабочих местах по 11 а разряду.
Учитывая это, будем использовать смешанное освещение, в котором будет сочетаться естественное, а именно боковое односторонне освещение и искусственное (рабочее) освещение.
Для искусственного - лампы дневного света типа ЛДЛДЦ, а непосредственно на станках лампы накаливания НВ-25.
К рациональному освещению будут предъявляться следующие требования: соблюдение норматива освещенности, равномерное распределение светильников; в поле зрения не должна быть прямой и отраженной блеклости. Для нормального функционирования производственного процесса будут предусматриваться следующие виды освещения: ремонтное, дежурное, аварийное и специальное.
Благодаря правильно решенному цветовому интерьеру можно добиться повышения освещенности помещения. Надо так подобрать окраску и отделку, чтобы коэффициент отражения составил: для потолков 65-70%, для стен 40-70%, для полов 16-45%, для оборудования 25-50%. Цветовая гамма будет следующей: для потолков - белый, для стен - светло-серый, для оборудования зеленый; в сочетании с цветами безопасности: красный (запрещающий), белый, черный и синий (вспомогательные).
Большое влияние на самочувствие работающих оказывает шум, создаваемый оборудованием. Сильный шум вызывает перегрузку слухового аппарата, слуховое утомление, понижает внимание, воздействует на элемент центральной нервной системы, что может содействовать возникновению несчастного случая.
Уровень звукового давления в металлорежущих цехах на рабочем месте составляет 83-87 дБ, при ПДУ-80дБ, поэтому для снижения шума можно будет использовать следующие методы: уменьшение шума в источнике, рациональная планировка участка, акустическая обработка помещений, применение средств индивидуальной защиты (табл. 6.4.)
Причиной возникновения шума является вибрация. Для снижения вибрации, воздействующей на работающих, на ряду с выше указанными будем принимать следующие методы: ослабление вибрации в источнике, применение средств виброзащиты; расположение станков на 1-м этаже помещения, на отдельных фундаментальных плитах; применение амортизаторов (резиновой прокладки). Для работников проектируемого предприятия будут действовать компенсации и льготы, утвержденные законами РФ и статьями федерального закона об основах Охраны Труда РФ надбавки к зарплате за степени установления аттестацией рабочих мест, 3.1., 3.2.-12%; 3.4.-24%; льготное питание, бесплатное молоко; дополнительный отпуск; льготное пенсионное обеспечение (с уменьшением трудового стажа); санаторно-курортное лечение; льготные пенсии; обязательные медосмотры при приеме на работу и периодические. Наряду с выше изложенным, для создания в производстве нормальных санитарно-гигиенических условий большое значение имеют необходимые санитарно-бытовые помещения (табл.6.5.). Туалеты в производственных помещениях должны быть размещены не далее 75 м от рабочего места, на территории предприятия-150 м. Их оборудуют шлюзом, умывальником и напольными чашами (унитазами) из расчета 1 чаша на 15 человек.
Одним из важнейших мероприятий является соблюдение требований техники безопасности рабочими при работе на станках, стандартизированных в ГОСТ 1.26-77 «ГСС Порядок разработки и согласования требований безопасности в стандартах и технических условиях» [9]: чистку, смазку, регулировку механизмов и установку деталей производить при остановленном станке с выключенным электродвигателем; измерения и другие рабочие приемы производить только при остановленном станке; запрещается работать на неисправном станке и т.д.
Таблица 6.5. Характеристика гардеробных помещений и устройств в зависимости от групп производственных процессов
| Операции технологического процесса | Группа производственных процессов | Санитарная характеристика производственных процессов | Нормирование санитарно-бытовых помещений | Тип гардеробных, число отделений шкафа на 1 человека | Специальные бытовые помещения и устройства | |||
| Нормиру емое число рабочих | Расчетное число | |||||||
| На 1 душевую сетку | На 1 кран | душевых | кранов | |||||
| Фрезерная Токарная Сверлильная Копировально-фрезерная | 1 б | Процессы, вызывающие загрязнение веществами 3 и 4 класса опасности, тела и спецодежды | 15 | 10 | 1 | 1 | Общие два отделения | |
Требования к производственным зданиям и помещениям установлены в САНПИН, СНиП, СН, ГОСТ и ОСТ с учетом опасных и вредных производственных факторов, образующихся в процессе производства, габаритов оборудования.
6.3. Мероприятия по предотвращению несчастны случаев, обеспечению безопасности эксплуатируемого оборудования и транспортных средств
Для обеспечения безопасности эксплуатируемого оборудования и предотвращения несчастных случаев от опасностей на проектируемом производственном помещении будет соблюдать следующие размеры: минимальная площадь помещения на одного рабочего - 4,5 м2; минимальный объем на одного рабочего-16 м3, расстояние между станками по фронту - не менее 900 мм, между тыльными сторонами - не менее 800 мм; между станками, расположенными поперечно к проезду 1500 мм, от стен и колонн зданий до тыльной или боковой стороны станка - 800 мм и до фронта станка - не менее 1500 мм; пешеходный туннель, эстакада - 1,5 х. 2,1 м; транспортный и коммуникационный туннель, галерея, эстакада - 0,8 х. 1,8 м.
Основными техническими средствами охраны труда являются защитные устройства. Они стандартизированы ГОСТ 12.4.125 - 83.
Для предотвращения захвата, удара рабочими механизмами все виды передач указанных выше станков будут иметь оградительные устройства - кожухи, щиты, экраны, козырьки, планки, барьеры (сплошные и сетчатые). Кроме того будут применены: блокировочные устройства (механические, электронные, электрические, пневматические, гидравлические), устройства, к которым относятся системы защиты от поражения электрическим током, устройства сигнализации. Эти устройства окрашиваются в специальные отличительные цвета, описанные ранее.
Проектируемое производственное помещение, согласно ГОСТ 12.1.019-79, относится к классу помещений с повышенной электроопасностью.
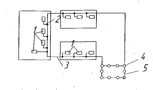
Безопасность эксплуатации при нормальном режиме работы электроустановок будет обеспечена следующими защитными мерами: подключение к системе электроснабжения с изолированной нейтралью трансформатора, выносное защитное заземление (рисунок 6.1.)
Рис. 6.1. Принципиальная схема выносного заземления
-
Заземленное оборудование
-
Заземляющие проводники
-
Магистрали
-
Заземлители (стальные уголки, трубы, швеллера и т.п., забитые в землю)
-
Полоса связи
Пожары и взрывы на предприятиях представляют большую опасность и остаются важной причиной несчастных случаев на производстве, причиняя огромный материальный ущерб.
Производственное здание проектируемого участка будет иметь 1 класс огнестойкости и категорию Д по пожаровзрывоопасности. Это определит ассортимент противопожарных средств: пожарные краны и рукава, огнетушители (пенные ОП-10 и углекислотные ОУ-5). Огнетушители будут расположены на видных местах в пределах производственного помещения.
При обнаружении нагрева трущихся деталей, появлении гари или дыма станок нужно немедленно остановить и приступить к тушению пожара имеющимися средствами, вызвать пожарную команду. Загоревшийся двигатель или электропроводку необходимо тушить сухим песком или огнетушителем (углекислотным или порошковым). При значительном распространении пожара, когда его нельзя ликвидировать имеющимися на участке средствами, рабочие будут эвакуироваться через заранее предусмотренное необходимое количество дверей.
Расчёт вероятностей появления наиболее характерных несчастных случаев на производстве
Рис. 6.2. Дерево происшествия
Таблица 6.6. Обозначение событий и их вероятности
| Обозначение | Событие | Вероятность | |
| А1 | Станок работает | 0,8 | |
| А2 | Ошибка оператора | 0,003 | |
| А3 | Посторонний находится вблизи станка | 0,15 | |
| А4 | Ремонт оборудования | 0,25 | |
| А5 | Случайное прикосновение к корпусу | 0,03 | |
| А6 | Пробой фазы | 0,025 | |
| А7 | Токопроводящие полы | 0,5 | |
| А8 | Появление нагретых поверхностей | 0,0015 | |
| А9 | Искрение электропроводки | 0,025 | |
| Б1 | Разрушение оборудования | 0,0001 | |
| Б2 | Отказ пожаровзрывозащиты | 0,00005 | |
| Б3 | Перегружение оборудования | 0,0024 | |
| Б4 | Попадание частей тела в зону резания | 0,12 | |
| Б5 | Попадание частей тела в механизмы станка | 0,0375 | |
| Б6 | Наличие потенциала на корпусе | 0,00075 | |
| Б7 | Наличие потенциала на долу | 0,0125 | |
| Б8 | Появление открытого пламени | 0,0265 | |
| В1 | Производственная травма механического характера | 0,1551 | |
| В2 | Поражение электрическим током | 0,01324 | |
| В3 | Возникновение пожара | 0,000001325 | |
| Г1 | Несчастный случай | 0,1663 |
Обозначение событий и их вероятности представлены в таблице 4.7.
Вероятности зависимых событий определялись по теоремам сложения и умножения вероятностей с учетом зависимости вероятности этих событий с вероятностями событий более высокого уровня.
Вероятность события Б3 равна:
Р(Б3 ) = Р(А1 ) • Р(А2 ) = 0,8 • 0,003 = 0,0024
Вероятность события Б4 равна:
Р(Б4) = Р(A1) • Р(А3) = 0,8 - 0,15 = 0,12 Вероятность события Б5 равна:
Р(Б5) = Р(А3) • Р(А4) = 0,15-0,25 = 0,0375
Вероятность события Б6 равна:
Р(Б6) = Р(А5) • Р( А6) = 0,03 • 0,025 = 0,00075
Вероятность события Б7 равна:
Р(Б7) = Р(А6) • Р(А7) = 0,025 • 0,5 = 0,0125
















