105189 (682859), страница 3
Текст из файла (страница 3)
За 8-10 мин до выпуска шлак разжижают добавкой плавикового шпата (~4 кг/т) так, чтобы содержание CaF2 в шлаке было 10-15%. Столь высокое содержание CaF2 необходимо для обеспечения малой вязкости и высокой рафинирующей способности шлака. Перед выпуском шлак дополнительно раскисляют порошкообразным алюминием (8.8 кг/т); необходимо, чтобы конечный шлак содержал менее 1% FeO и более 50% окиси кальция при основности 2.7-3.4.
При выпуске в ковш сначала сливают шлак, а затем металл, что обеспечивает их интенсивное перемешивание, десульфурацию и удаление неметаллических включений. Алюминий для окончательного раскисления вводят в ковш.
Плавка с рафинированием в ковше синтетическим шлаком
Технология применяется на крупнотоннажных печах емкостью 60-200 т в цехах, имеющих специальную печь для выплавки синтетического шлака.
В завалку вводят до 25% чугуна, известь (1.5-3.5%) и железную руду (2-3%). После расплавления проводят продувку ванны кислородом. Окислительный шлак сливают, в металл водят ферромарганец, рассчитывая на нижний предел содержания марганца в выплавляемой стали, и ферросилиций из расчета введения 0.15-0.20% кремния. Далее наводят небольшое количество (~ 1% от массы металла) известковистого шлака добавками извести, шамота, плавикового шпата. Восстановительный период, как таковой, отсутствует, вместо него проводиться кратковременная (~ 30 мин) доводка, в течение которой сталь доводят до заданных температуры и состава, вводя необходимые легирующие добавки. Раскисление шлак не производят.
Перед выпуском стали из печи сливают 80-90% шлака. Далее выпускают сталь в ковш с залитым туда синтетическим шлаком, который обеспечивает рафинирование металла от серы и неметаллических включений. Во время выпуска в ковш вводят ферросилиций и при необходимости ферротитан и феррованадий. После окончания выпуска в ковш вводят для окончательного раскисления. Обычно применяют синтетический известково-глиноземистый шлак (~ 55% CaO и 45% Al2O3), который заливают в ковш в количестве 4-6% с температурой 1650-1700 С.
Технология с продувкой в ковше порошкообразными реагентами
Плавку ведут, как правило, по технологии одношлакового процесса, получая металл заданного состава и с требуемой температурой. Выпущенную в ковш слать продувают порошкообразными смесями, в состав которых входят активные по отношению к сере и кислороду элементы: карбид кальция, силикокальций, гранулированный магний. Порошкообразные реагенты вдувают в струе аргона, подавая их с помощью пневмонагнетателя через погружаемую в металл футерованную фурму.
Продувка в течение нескольких минут обеспечивает снижение содержания серы, кислорода, неметаллических включений. Кроме того, при обработке жидкой стали кальцием и магнием повышаются свойства металла в результате модифицирующего воздействия этих элементов.
Плавка с рафинированием и доводкой металла вне печи
Плавку ведут по следующей технологии: расплавляют стальной лом с добавкой чугуна и проводят окислительный период с продувкой ванны кислородом, обеспечивая дефосфорацию, обезуглероживание и нагрев металла до требуемой температуры. Далее металл без шлака выпускают в ковш и транспортируют его на специальную установку, где путем различных видов внепечной обработки жидкого металла получают сталь требуемого состава и свойств. Эти установки позволяют продувать металл различными порошкообразными реагентами с целью десульфурации, раскисления и удаления неметаллических включений; обработку вакуумом и продувку аргоном с введением при этом в металл раскислителей и корректирующих добавок ферросплавов; вдувание науглероживателей, замер и корректировку температуры расплава.
-
Плавка с использованием металлизованных окатышей
Основу окатышей (губки) составляет железо с содержанием углерода от 0.2-0.5 до 2%, они содержат также некоторое количество невосстановленных окислов железа и пустую породу (в основном SiO2 и Al2O3), количество которой должно быть не более 3-7% от массы окатышей. Отличительная особенность этого сырья – малое содержание серы, фосфора, меди, никеля, хрома и других примесей, обычно содержащихся в стальном ломе (Pb, Sn, Bi, Zn, As, Sb). Это облегчает и упрощает процесс выплавки и получение стали высокого качества, высокой степени чистоты (суммарное содержание примесей в стали получается в 3-10 раз меньше, чем при выплавке из стального лома).
Если содержание металлизованных окатышей в шихте не превышает 25-30% от её массы, то технология электроплавки существенно не отличается от обычной. Переработка шихты, основу которой составляют металлизованные окатыши требует применения специфической технологии. Особенностями этой технологии являются:
-
непрерывная загрузка окатышей со скоростью, пропорциональной подводимой в печь электрической мощности, причем загрузка должна начинаться после сформирования в печи ванны жидкого металла;
-
совмещение периода плавления с окислительным (обезуглероживанием);
-
упрощение технологии плавки в связи с малым содержанием в шихте вредных примесей – серы и фосфора.
Степень металлизации окатышей должна находиться в определенных пределах, обеспечивающих кипение ванны в процессе их загрузки и плавления. Оптимальной содержание окатышей в шихте составляет 60-70% от её массы - при большем их содержании возрастает длительность расплавления и плавки в целом.
Плавку начинают с загрузки стального лома, который в количестве 30-40% от массы металлической шихты заваливают в печь одной порцией. Далее подают напряжение и после расплавления лома в сформировавшуюся жидкую ванну начинают непрерывную загрузку окатышей; обычно их загружают в зону электрических дуг с помощью автоматизированной системы через отверстие в своде печи. Скорость подачи окатышей согласуют с подводимой в печь электрической мощностью так, чтобы температура ванны был на 30-40 С выше температуры плавления металла, поскольку при более низкой величине перегрева плавление затягивается.
Период загрузки и расплавления совмещают с окислительным, т.е. проводят его так, чтобы обеспечить непрерывное окисление углерода (кипение ванны). При этом благодаря перемешиванию ускоряется плавление окатышей, обеспечиваются дегазация ванны и получение в конце периоде заданного содержания углерод в металле. Для обеспечения кипения степень металлизации окатышей должна находиться в пределах 90-97%, что соответствует остаточному содержанию кислорода в окатышах от 1.2 до 0.6% (при более низком содержании остаточного кислорода не будет кипения ванны.). При недостаточной степени металлизации существенно возрастает расход электроэнергии из-за протекания эндотермической реакции восстановления окислов железа. Для обеспечения кипения ванны металлизованное сырье должно содержать определенное количество углерода, если содержание углерода недостаточно для обеспечения кипения, то в ванну вдувают карбюризаторы.
По ходу плавления в печь загружают известь для ошлакования кислой пустой породы (SiO2 иAl2O3) окатышей. Основность шлака в связи с низким содержанием в окатышах серы и фосфора может быть меньшей, чем при плавке на шихте из стального лома и составлять 1.5-2.0. В конце периода плавления необходимо получить требуемое в выплавляемой стали содержание углерода; при недостатке углерода прибегают к вдуванию в ванну карбюризаторов, избыточный углерод окисляют путем кратковременной продувки кислородом.
После окончания плавления применяют различные варианты ведения заключительной части плавки. Один их них – нагрев металла до требуемой температуры и выпуск в ковш, где производят внепечную доводку стали и рафинирование; другой – проведение в печи кратковременной доводки, в течение которой проводят нагрев, раскисление и легирование.
-
Выплавка стали в кислых дуговых печах
Электрические печи с кислой футеровкой обычно используют в литейных цехах при выплавке стали для фасонного литья. Преимуществом кислых печей по сравнению с основными является более высокая стойкость футеровки; наряду с этим стоимость кислых огнеупоров примерно в 2.5 раза ниже стоимости основных. Поскольку при плаке стали для фасонного литья восстановительный период обычно отсутствует, длительность плавки в кислой печи меньше, чем в основной той же емкости; по этой причине, а также в связи с меньшей теплопроводностью кислой футеровки, более низким является и расход электроэнергии.
Основным недостатком кислых печей является то, что во время плавки из металла не удаляется сера и фосфор.
Завалка и расплавление шихты
Шихту составляют таким образом, чтобы содержание углерода после расплавления на 0.15-0.20% превышало содержание углерода в выплавляемой стали. Для повышения содержания углерода в шихту, наряду со стальным ломом, вводят кокс, электродный бой или чугун. Поскольку фосфор и сера под кислым шлаком не удаляются, используемый стальной лом должен содержать фосфора и серы примерно на 0.01% меньше, чем допускается в выплавляемой стали. Металлический лом не должен быть ржавым, так как окислы железа, растворяя кремнезем футеровки пода, разрушают её. В остальном требования к шихтовым материалам и порядку загрузки в печь такие же, как и при основном процессе.
Плавление в кислой печи длится 50-70 мин и протекает примерно так же, как и в основной печи. В период плавления происходит окисление кремния, марганца, железа, углерода. Образующиеся окислы принимают участие в формировании шлака. Поскольку количество этих окислов сравнительно невелико, в печь во время плавления забрасывают шлак от предыдущей плавки, сухой песок, формовочную землю и известняк, чтобы покрыть металл шлаком и уменьшить угар составляющих шихты.
К моменту расплавления шихты шлак имеет следующий состав, %: 40-50 SiO2; 15-30 FeO; 10-30 MnO; 2-6 Al2O3; 5-15 прочие окислы.
Окислительный период
Задачами окислительного периода при кислой плавке являются дегазация металла за счет кипения и нагрев металла. За время периода окисляется 0.10-0.20% углерода. Его окисление идет преимущественно за счет закиси железа, содержащейся в шлаке. Благодаря высокому содержанию FeO в шлаке окисление углерода и вызываемое им кипение ванны начинается без присадок окислителей, когда металл будет достаточно нагрет. Кипение можно интенсифицировать небольшими присадками извести или железной руды (порциями не более 0.2% от массы жидкого металла каждая). При этом происходит высвобождение FeO и повышение окислительной способности шлака.
По мере окисления углерода содержание закиси железа в шлаке уменьшается, а содержание SiO2 за счет разъедания футеровки возрастает; к концу окислительного периода оно составляет 55-60%. При высоком содержании SiO2 в шлаке и высокой температуре назначается восстановительного кремния по эндотермической реакции:
(SiO2) + 2[C] = [Si] + 2CO
Содержание кремния в металле в конце окислительного периода может достигать 0.2-0.4%.
Раскисление стали
При выплавке стали для фасонного литья восстановительный период отсутствует и сталь раскисляют осаждающим методом. Если содержание кремния в металле ниже, чем требуется в выплавляемой стали, то за 7-10 мин до выпуска в печь присаживают ферросилиций. Ферромарганец вводят либо в печь (за 3-5 мин выпуска), либо в ковш. Алюминий для окончательного раскисления вводят в ковш.
-
Отвод и очистка печных газов
Во время плавки из электропечи выделяется большое количество запыленных газов. Температура газов составляет 900-1400 С, содержание пыли в период продувки ванны кислородом доходит до 100 г/м3 газа; количество газов, выделяющихся, например, из 100-т печи в период продувки кислородом достигает 9-10 тыс. м3/ч. Для создания нормальных условий работы в сталеплавильном цехе необходимы улавливание и очистка отходящих газов.
В старых цехах с печами малой емкости применяются отсасывающие зонты, установленные над сводом. Однако они громоздки и обеспечивают неполное сгорание газов. В последние годы повсеместное распространение получает отвод газов через отверстие в своде с последующей очисткой от пыли. Наибольшее распространение получила мокрая газоочистка с использованием труб Вентури.
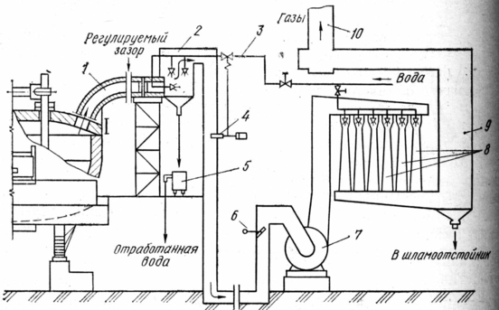
Рис. 1. Схема отвода печных газов.
Печные газы через отверстие в своде по футерованному патрубку 1 поступают в скруббер-охладитель 2; перед скруббером имеется регулируемый зазор, через который подсасывается воздух, обеспечивающий дожигание горючих компонентов аза. В скруббере 2 газ охлаждается водой, подаваемой через форсунки от водопроводной сети 3. отработанная вода собирается в баке 5. расход воды регулируют, обеспечивая охлаждение газов до температуры менее 200 С; температуру газов измеряют термопарой 4, установленной в вертикальном газопроводе. Далее газы через регулирующую заслонку 6 дымососом 7 подаются в батарею труб Вентури 8 с водяными форсунками, где пыль поглощается каплями воды. После прохождения циклонного каплеуловителя 9 газы выбрасываются в атмосферу через выхлопную шахту 10.
Во вновь сооружаемых цехах рекомендуется устанавливать печи в герметичных камерах, снабженных дверями для въезда тележек со шлаковыми и сталеразливочными ковшами и крана для завалки шихты. Камера снабжена системой отсоса газов, что предотвращает их попадание в цех; кроме того, камера существенно снижает в цехе уровень шума, вызываемого электрическими дугами.
-
Автоматизированное управление процессом плавки
Дуговая электросталеплавильная печь является мощным трехфазным агрегатом с соответствующим силовым электрическим оборудованием. Высокотемпературные дуги обеспечивают расплавление шихты и нагрев ванны до нужной температуры. Каждая плавка может быть подразделена на три основных периода:
-
расплавление загруженной в печь твердой шихты;
-
окисление (кипение) жидкой ванны;
-
раскисление ванны (восстановительный период).
Периоды плавки обуславливаются особенностями протекания физико-химических процессов и определяют различия задач системы автоматического контроля.
Управляющими воздействиями на процесс плавки в дуговой печи являются:
-
электрическая мощность;
-
напряжение питающего тока (длина дуги);
-
состав шихты, количество и состав присадок;
-
расход кислорода на продувку металла;
-
электромагнитное перемешивание ванны.
Возмущающие воздействия, прежде всего можно подразделить на две группы: а) возмущения электрического режима и б) возмущения технологического и теплотехнического режима.
Возмущения электрического режима возникают из-за обвалов шихты в период плавления, кипения металла в периоды с жидкой ванной, обгорания электродов, подъема уровня металла по мере плавления, колебаний сопротивления дугового промежутка, вызванных изменениями температурных условий в зоне дугового разряда. Возмущения технологического и теплотехнического характера связаны с нестабильностью состава шихты, нестационарностью протекания физико-химических реакций в ванне, введением присадок, износом кладки, выбиваниями и подсосом газов в печь.
К основным задачам автоматизированного управления процессом плавки в ДСП можно отнести следующие:
-
Централизованный контроль за ходом технологического процесса с сигнализацией и регистрацией отклонений от заданных параметров.
-
Управление металлургическим процессом:
-
расчет оптимального состава шихты, исходя из планируемых заданий и наличия исходных сырьевых материалов;
-
управление загрузкой печи в соответствии с рассчитанным составом шихты;
-
расчет кислорода, легирующих и шлакообразующих, обеспечивающих получение металла заданного состава и качества и экономию материалов;
-
прогнозирование момента окончания технологических периодов с обеспечением заданных значений температуры и химического состава металла.
-
Управление энергетическим режимом, обеспечивающее:
-
введение электроэнергии с учетом теплового состояния печи и тепловой энергии, вводимой в печь другими источниками;
-
максимальное использование мощности печи;
-
минимальные удельные расходы энергоносителей;
-
нормальную эксплуатацию электрического и другого печного оборудования.
-
Управление вспомогательными операциями (отбором проб, замером температуры металла и др.).
-
Сбор и обработку информации с выдачей необходимой документации, в том числе учет и регистрацию расходов шихтовых материалов, электроэнергии, кислорода и других энергоносителей, распечатка протоколов плавки.
-
Контроль за работой оборудования с сигнализацией и регистрацией неисправностей и непредвиденных остановок.
Предусматриваемый на ДСП объем средств автоматического контроля и управления должен обеспечивать поддержание с требуемой точностью заданных технологией режимов и параметров процесса электроплавки, а также безопасность эксплуатации агрегата.
Рациональный объем автоматизации новых и реконструируемых печей определяется с учетом технологически требований к управлению процессом выплавки различных марок сталей, развития электросталеплавильного производства в направлении повышения удельной мощности трансформаторов, использования данных о передовом зарубежном опыте и научных разработок в области автоматизации процесса электроплавки.
ДСП необходимо оснащать современными быстродействующими регуляторами мощности, обеспечивающими высокие технико-экономические показатели и имеющими высокую надежность. Автоматический регулятор должен поддерживать заданное соотношение между силой тока и напряжением дуги в данной фазе печи при наименьших дисперсиях, обеспечить скорость перемещения электрода не менее 5-6 м/мин. Системы управления весовым дозированием компонентов металлошихты и дозированием ферросплавов и шлакообразующих материалов должны обеспечить подачу металлошихты в бадью и ферросплавов для загрузки в печь с погрешностью не долее 0.3%.















