47507 (665839)
Текст из файла
Министерство общего и профессионального образования Российской Федерации
Томский Университет Систем Управления и Радиоэлектроники
( ТУСУР )
Кафедра Промышленной Электроники ( Пр.Э )
РЕФЕРАТ
“Лазерные средства отображения информации.”
Выполнил:
студент группы
________
Принял:
__________
Лазерные методы индикации.
Практическая осуществимость лазеров была впервые показана в 1960 г. После этого развитие лазерной техники происходило рекордными темпами.
В настоящее время существует еще много проблем, связанных с применением лазеров в области индикации, включая проблемы, касающиеся суммарной яркости, сканирования, модуляции и срока службы. Тем не менее лазер имеет много достоинств при рассмотрении его как индикаторного устройства. В их число входят высокая яркость луча, малый размер пятна и возможность работы в реальном масштабе времени.
Первые продемонстрированные лазеры были импульсного типа. В качестве основного источника света в них использовался рубин, а необходимая мощность оптической накачки вырабатывалась лампой - вспышкой. После этого были разработаны газовые лазеры непрерывного излучения и полупроводниковые лазеры. Существующий уровень техники позволяет использовать любой из основных лазерных материалов как в режиме непрерывных колебаний, так и в импульсном режиме. Мощность накачки может либо вырабатываться электрически, либо, что более часто, подводится от внешнего источника света. Однако получаемые к.п.д. еще низки: порядка нескольких процентов у импульсных лазеров и примерно 0,1% у лазеров непрерывного излучения.
Основное лазерное действие поясняется выражением “Light Amplification by Stimulated Emission of Radiation” (усиление света посредством индуцированного излучения), из начальных букв слов которого был образован термин “лазер”. При разнесении двух параллельных зеркал на расстояние, кратное длине волны испускаемого света, свет отражается обоими зеркалами и возвращается в фазе, стимулируя дальнейшее излучение. Световое излучение возникает в результате переходов электронов из возбужденного состояния в состояние с меньшей энергией. Для создания возбужденных электронов должен использоваться внешний источник энергии (обычно оптической). Этот источник энергии переводит электроны в возбужденное состояние, благодаря чему они могут излучать световую вспышку при возвращение в свое нормальное состояние. Процесс повышения энергетических уровней этих электронов называется накачкой.
Поскольку на пути между зеркалами укладывается целое число длин волн, в лазере создаются колебания, соответствующие очень узким спектральным линиям. Иногда генерируется множество частот, которым соответствуют длины волн, укладывающиеся целое число раз на длине основного пути. Еще одним важным свойством лазера является когерентный характер его излучения. Так как свет генерируется синфазно, ширина луча ограничивается дифракией.
Развертывающее устройство с бегущим лучом.
Предлагалось использовать лазер в развертывающем устройстве с бегущим лучом для освещения визуального объекта с целью последующего преобразования изображения в видеосигнал с помощью фотоумножителя. Помимо трудностей, связанных со сканированием, нужно отметить, что система может работать только на небольших расстояниях. Преобразование изображения в видеосигнал на очень больших расстояниях, таких, как в радиолокации, потребовало бы гораздо больший уровень мощности, чем достижимый в настоящее время.
Лазерный индикатор с большим экраном.
Лазер часто предлагалось использовать для получения управляемого светового потока в проекционной индикации. Схема метода представлена на рис. 1. Лазер должен быть снабжен источником энергии для отклонения и модулировании луча. Экран может быть либо активным, либо пассивным. В активном экране применяется такой же принцип, как в электролюминесцентном усилителе света, с целью получения более высоких яркостей, чем при использовании только лазера.
Величина отклонения является функцией количества разрешаемых элементов и ширины луча лазера, которая может составлять от нескольких угловых секунд до одной угловой минуты. Большая ширина луча приводит к уменьшению необходимого расстояния между проекционным объективом и экраном при тех же самых размерах экрана и разрешающей способности, но требует большего угла отклонения. Существующие лазеры дают возможность построить систему с разрешением 1000 линий и углом отклонения 16 и менее. При различных исследованиях методов отклонения лазерного луча получено от 256 до 1000 разрешаемых элементов и в горизонтальном и в вертикальных направлениях. К основным методам отклонения относятся: изменение с помощью ультразвука градиента показателя преломления, обеспечивающее отклонение на 5 ; сканирование с использованием электронно - оптической призмы и титаната бария, обеспечивающее отклонение на 1 ; использование аномальной дисперсии, обеспечивающей отклонение на 10 ; сканирование с использованием пьезоэлектрического элемента для отклонения меньше чем на 1 .
Ограниченное количество применимых методов затрудняет осуществление отклонения в лазерных индикаторах. Возникает две проблемы, связанные с ограниченными углами отклонения и малым размером пятна. Если требуемый угол отклонения мал (1 ), то приемлемой ширине экрана соответствует большое расстояние между экраном и проектором. При отклонении на 1 это расстояние должно быть равно 120 м при ширине экрана 210 см. При большом угле отклонения (20 ) требуемое расстояние между экраном и проектором уменьшается до более реального значения 6м, но встают проблемы, связанные с размером пятна и отклонением. Ширина луча постоянна у любого данного лазера. Поэтому с увеличением угла отклонения увеличивается количество разрешаемых элементов. Это, в свою очередь, требует повышения скорости сканирования (развертки), чтобы предотвращать ухудшение качества изображения. Например, если размер пятна в системе позволяет получить разрешение 4000 линий, а используется только 500 строк развертки, то изображение получится разделенным на плоскости, имеющие значительное разрешение. Ширина луча типичного лазера равна 10 угловым секундам, что обеспечивает разрешение 7200 элементов при угле отклонения 20 .
Яркость экрана В в нитах может быть вычислена с помощью выражения:
В = РКG/ПА, (1)
где Р - выходная мощность лазера, вт; К - эффективность преобразования энергии источника, лм/вт; G - усиление экрана; А - площадь эрана, м . В индикаторе должен использоваться лазер непрерывного излучения. Такие лазеры в настоящее время имеют выходную мощность порядка 1вт. В случае экрана размером 4,645 м , К = 500лм/вт, G = 3, ожидаемая яркость равна 102,9 нт. Однако современные лазеры изучают в красной области спектра со значительно меньшей эффективностью преобразования энергии.
В литературе описаны и другие методы построения лазерных систем индикации. В одной из них лазерный луч используется для скрайбирования металлического покрытия стеклянного диапозитива. При этом лазер применяется вместо пера с электромеханическим приводом. Если окажется возможным разработать соответствующие схемы отклонения, этот метод позволит получить значительно большую скорость, чем скорости в современных вычерчивающих проекторах. В этой системе для проецирования используется внешний источник света, что снижает требуемые мощность лазера и его рабочий цикл (и, следовательно, увеличивает срок службы лазера).
Основная проблема, которая еще должна быть решена, касается возможности испарения металла без повреждения стеклянного объектива (и всей проекционной системы).
К основным методам лазерной индукции относится также использование лазерного луча для записи на активном экране. Экран может быть выполнен из фотохромного, электролюминисцентного или другого материала, вырабатывающего или модулирующего свет. При использовании фотохромного экрана требуется ультрафиолетовый лазер. В случае электролюминисцентной панели идеальным является метод координатной сетки с памятью на фотоэлементах. Если выборочное стирание не требуется, то построение системы не связано с трудностями коммутации, которые обычно присущи матричным индикаторам. Выпускаемые в настоящее время электролюминисцентные панели имеют достаточный световой выход и срок службы для применения в театральных системах. При работе этих систем лазерный луч используется для включения надлежащего фотоэлемента. После этого фотоэлемент поддерживается во включенном состоянии свечением связанного с ним электролюминисцентного элемента.
Лазерная фотография.
Одним из спецефических применений лазеров в индикации является формирование голограмм. В фотографировании этого типа когерентные свойства света используются для формирования на фотопленке интерференционной картины изображения. Это осуществляется посредством расщепления лазерного луча на две части (или более), из которых одна освещает пленку непосредственно в качестве опорного луча, а другие освещают объект. От объекта свет отражается к пленке и складывается со светом опорного луча, образуя интерференционные картины.
Получаемое изображение, называемое голограммой, имеет специфические свойства. При рассматривании голограммы в свете когерентного источника получаются два изображения: действительное и мнимое. Действительное изображение можно фотографировать, помещая пленку в его плоскость, без использования объектива. Мнимое изображение можно видеть за голограммой при ее непосредственном наблюдении.
Эти изображения имеют несколько характерных особенностей. Мнимое изображение воспринимается как полное трехмерное изображение, свободное от каких - либо недостатков обычного трехмерного фотографирования. Изменяя свое положение, наблюдатель может заглянуть за лежащие за переднем планом предметы точно таким же образом, как при наблюдении исходного объекта. Еще одна необычная особенность состоит в том, что разрезание голограммы на две половины уменьшает разрешение изображения, но не изменяет его размеры. Эта особенность объясняется тем, что свет, идущий из каждой точки объекта, регестрируется на всей поверхности пленки. Существуют и другие полезные особенности, но они мало значат для индикации.
Одним из очевидных применений голограмм является объемное телевидение. Исходная голограмма может регестрироваться непосредственно на поверхности изображения в телевизионной камере. При сканировании эта голограмма преобразуется в телевизионный сигнал, который может наблюдаться на специально сконструированном приемнике. Трудности осуществления такой системы связаны с необходимостью использовать очень широкую полосу частот для передачи сигнала, совершенствовать устройства, преобразующие изображение в видеосигнал, применять когерентный свет для освещения объекта и специальный приемник. Однако голографическая фототелеграфная система может быть изготовлена при существующем состоянии техники.
Устройства отображения информации на лазерных генераторах света.
Применительно к индикаторным устройствам представляют интерес следующие свойства излучения лазеров: пространственная когерентность, временная когерентность, цвет и яркость.
Когерентность - высокая степень согласованности фаз колебаний, образующих волновой фронт. Пространственная когерентность означает жесткую взаимосвязь фаз колебаний, разделенных временным интервалом, и равнозначна узкополосности по частоте.
Лазер представляет собой когерентный источник света. Путем подбора трех источников света с соответствующими основными цветами и введения их в схему аддитивного образования цветов можно воспроизвести широкую гамму цветов. Для получения основных цветов могут быть использованы гелий - неоновые и арго - неоновые лазеры.
Пиковая яркость (кд/м ) рассматриваемого участка изображения
B = GFnKз/( S), (2)
где - световой КПД оптической системы; G - коэффициент яркости экрана; Fn - пиковое значение светового потока, лм; Кз - коэффициент заполнения, равный отношению времени пребывания луча лазера на любом элементе изображения ко времени воспоизведения этогор изображения, м .
Пиковое значение светового потока
Fn = WK C, (3)
где W - выходная мощность лазера, Вт; К - значение функции относительной видности для излучения источника света; С - коэффициент пересчета , лм/Вт. Если длина волны = 555нм, то коэффициент С=680 лм/Вт.
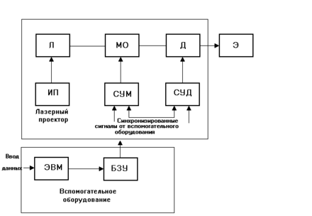
На рис. показана схема УОИ с использованием лазера. Лазер Л, оптический модулятор МО, дефлектор Д, схема управления модулятором СУМ, схема управления дефлектором СУД и источник питания ИП образуют лазерный проектор. Отображается информация на экране Э. Вспомогательное оборудование, в которое входит ЭВМ и буферно - преобразовательное запоминающее устройство БЗУ, лазерный проектор и экран обеспечивают управление процессом отображения информации, а также долговременное и кратковременное ее хранение.
При разработке УОИ на лазерах используются следующие методы : визуальная лазерная индикация,когда на экран направляется собственный свет лазера; индикация с активным экраном,когда луч лазера применяется лишь для управления световым излучением некоторого активного материала экрана;лазерно-лучевой световой клапан,когда луч лазера обеспечивает местное управление оптическими параметрами некоторого материала (его коэффициентом отражения или коэффициентом пропускания),а отдельный источник обычного типа дает свет для проекции на экран;лазерный генератор изображения с непосредственным воздействием на объемный резонатор (такой генератор позволяет получить двумерное изображение непосредственно от лазерного источника).
При отображении информации используют способ “последовательной выдачи”, когда луч лазера последовательно обходит все точки поверхности экрана, либо способ “выборочного отображения”,когда луч лазера направляется только на те элементы экрана,в которые вводится информация.
Модулятор света предназначен для наложения изменяющейся во времени информации на излучение лазера путем изменения во времени его яркости. Если изменения информации синхронизированы с перемещением луча дефлектора, то информация превращается в зрительно воспринимаемое изображение.
К основным характеристикам модулятора относят ширину полосы частот, характеристики светопропускания и воспроизведения полутонов, контрастные характеристики, рассеиваемую мощность, линейность и требования к модулирующему сигналу. Требуемая полоса частот модулятора зависит от необходимого качества изображения и способа отображения. При последовательной выдаче число строк
n =2*0,75df(1-C0)/(fkRc), (4)
Характеристики
Тип файла документ
Документы такого типа открываются такими программами, как Microsoft Office Word на компьютерах Windows, Apple Pages на компьютерах Mac, Open Office - бесплатная альтернатива на различных платформах, в том числе Linux. Наиболее простым и современным решением будут Google документы, так как открываются онлайн без скачивания прямо в браузере на любой платформе. Существуют российские качественные аналоги, например от Яндекса.
Будьте внимательны на мобильных устройствах, так как там используются упрощённый функционал даже в официальном приложении от Microsoft, поэтому для просмотра скачивайте PDF-версию. А если нужно редактировать файл, то используйте оригинальный файл.
Файлы такого типа обычно разбиты на страницы, а текст может быть форматированным (жирный, курсив, выбор шрифта, таблицы и т.п.), а также в него можно добавлять изображения. Формат идеально подходит для рефератов, докладов и РПЗ курсовых проектов, которые необходимо распечатать. Кстати перед печатью также сохраняйте файл в PDF, так как принтер может начудить со шрифтами.
















