VADIM_3 (664677)
Текст из файла
ветвях находятся по выражению:
Iij = (Ui – Ui)Yуij. (4.10)
Алгоритм позволяет расчитать и токи КЗ за ветвями, оканчивающимися точкой КЗ. Данные ветви узловой проводимости не учитываются. Ток КЗ и напряжение в I – м узле при КЗ за такой ветвью находятся по формулам:
Ii = Uн.c./(Zcc + Zn); (4.11)
Ui = Uнi – U н.c. Zic/(Zcc +Z n) (4.12)
Где Zn – сопротивление ветви, которая заканчивается точкой КЗ.
Результаты расчетов токов КЗ для обоих вариантов даны в приложении. Как видно из результатов расхождения не существенны.
отчет по схеме с напряжением в цепи ниже 1кВ
общие параметры схемы :
Базисная мощность: Sb = 10.000 MBA
Номинальная мощность КЗ ЭС: Sc = 10.000 MBA
Номииальное напряжение: Un = 400.000 В
Трансформатор (Т1):
Тип ТСЗ-160/10
Напряжение КЗ = 5.500 %
Номитальная мощность=0.160 MBA
Потери активной мощности при КЗ=2.700кВ
Рубильник (S1):
Переходное сопротивление = 0.000 мОм
Автомагические выключатели :
| Пемен • | | га,[м0м] | 1 ха,[м0м] | 1rka,[м0м] |
| SF1 | 1.100 | 0.500 | 1.800 |
| SF2 | 1.100 | 0.500 | 1.800 |
| SF3 | 1.100 | 0.500 | 1.800 |
| SF4 | 1.100 | 0.500 | 1.800 |
| SF5 | 1.100 | 0.500 | 1.800 |
| SF6 | 1.100 | 0.500 | 1.800 |
| SF7 | 1.100 | 0.500 | 1.800 |
| SF8 | 1.100 | 0.500 | 1.800 |
| SF9 | 1.100 | 0.500 | 1.800 |
| SF10 | 1.100 | 0.500 | 1.800 |
Шины и кабельные линии :
| 1 Элемен | r,[м0м] | х,[м0м] | 1,[м] |
| Ш1 | 0.000 | 0.000 | 0.000 |
| Ш2 | 0.000 | 0.000 | 0.000 |
| ШЗ | 0.000 | 0.000 | 0.000 |
| KL1 | 0.130 | 0.700 | 20.000 |
| KL2 | 0.130 | 0.700 | 30.000 |
| KL3 | 0.130 | 0.700 | 58.300 |
| KL4 | 0.130 | 0.700 | 37.000 |
| KL5 | 0.130 | 0.700 | 62.500 |
| KL6 | 0.130 | 0.700 | 69.800 |
| KL7 | 0.130 | 0.700 | 45.500 |
| KL8 | 0.130 | 0.700 | 72.000 |
| KL9 | 0.130 | 0.700 | 78.000 |
Асинхронные двигатели :
| 'хемек • | Рпош,[кВт] | 1 kpd | Соs |
| AD1 AD2 AD3 AD4 | 158.000 142.700 132.800 107.100 | 1 0.920 1 0.920 1 0.920 1 0.920 | 0.90 0.90 0.90 0.90 |
Сопротиление ЭС: Хс=1.000 рaчетные сопротивления элементов
| Элемент | Хе, [мОм] | Re, [мОм] |
| Т1 | 52.347 | 16.875 |
| SF1 | 2.900 | 0.500 |
| SF2 | 2.900 | 0.500 |
| SF3 | 2.900 | 0.500 |
| SF4 | 2.900 | 0.500 |
| SF5 | 2.900 | 0.500 |
| SF6 | 2.900 | 0.500 |
| SF7 | 2.900 | 0.500 |
| SF8 | 2.900 | 0.500 |
| SF9 | 2.900 | 0.500 |
| SF10 | 2.900 | 0.500 |
| Ш1 | 0.000 | 0.000 |
| Ш2 | 0.000 | 0.000 |
| Ш3 | 0.000 | 0.000 |
| KLI | 2.600 | 14.000 |
| KL2 | 3.900 | 21.000 |
| KL3 | 7.580 | 40.800 |
| KL4 | 4.810 | 25.900 |
| KL5 | 8.120 | 43.700 |
| KL6 | 9.070 | 48.800 |
| KL7 | 5.910 | 31.800 |
| KL8 | 9.360 | 50.400 |
| KL9 | 10.340 | 54.600 |
Отчет по схеме напряжением в цепи вьше 1кВ
Общие параметры схемы :
Базисная мощность: Sb = 10.000 MBA
Мощность К3 ЭС: Sk = 100.000 MBA
Наприжени» ЭС: Ues = 110.000 кВ
Базисное напряжение: Ub = 6.300 кВ
Базисный ток: 16(110) = 0.052 кА
Базисный ток: 16(10) = 0.902 кА
Трансформатор (Т1):
Тип =ТМН 6300/115
Напряжение КЗ = 10.500 %
Номинальная мощность 6.300 MBA
Линии :
| Элемент | Xud,[Ом/км] | 1,км |
| ВЛ1 | 0.400 | 10.000 |
| KL1 | 0.063 | 0.050 |
| KL3 | 0.063 | 0.050 |
| KL5 | 0.400 | 0.186 |
| КL8 | 0.400 | 0.045 |
| КL10 | 0.400 | 0.110 |
| KLII | 0.063 | 0.050 |
Асинхронные двигатели :
| Элемент | Pnom,[кВт]| | Kpd | Cos |
| АД1 | 1 630.000 1 | 1 0.940 1 | 0.91 1 |
| АД2 | 1 0.000 1 | 1 0.000 1 | 0.00 1 |
| АД3 | 1 0.000 1 | 1 0.000 1 | 0.00 1 |
| АД4 | 1 630.000 1 | 1 0.940 1 | 0.91 1 |
Синхронные двигатели :
| Элементы | Snom,[кВт] | Xd |
| СД1 | 0.000 | 0.000 |
| СД2 | 0.000 | 0.000 |
| СДЗ | 0.000 | 0.000 |
| СД4 | 0.000 | 0.000 |
Расчетные сопротивления элементов
ЭС: Хс =0.100
L1 X = 4.400
Т1 Х = 0.167
KL1 Х = 0.000
KL3 Х = 0.000
KL5 Х = 0.004
KL8 Х = 0.000
KL10 Х = 0.000
KL11 Х = 0.000
СД1 Х = 0.000
СД2 Х = 0.000
СДЗ Х = 0.000
СД4 Х = 0.000
Расчетные токи асинхронных двигателей
АД1 Iad = 70.099
АД4 Iad = 70.099
Tоки КЗ
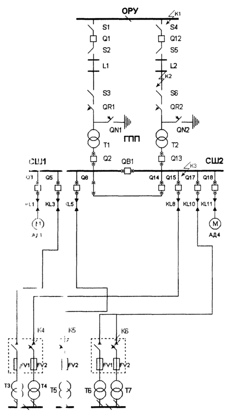
Kl Ik = 5.825 кА
К2 Ik = 2.712 кА
КЗ Ik » 3.536 кА
К4 Ik = 3.336 кА
К5 Ik = 3.323 кА
Кб Ik = 3.235 кА
Ударные токи КЗ :
Kl iy = 15.883 кА
К2 iy = 6.830 кА
КЗ iy = 6.870 кА
К4 iy = 7.826 кА
К5 iy = 7.876 кА
Кб iy = 7.845 кА
5. ЫБОР И ПРОВЕРКА КОММУТАЦИОННОЙ АППАРАТУРЫ НА НАПРЯЖЕНИЕ 10 кВ.
5.1.Расчет и выбор защитных устройств высоковольтной сети.
Для защиты всех оходящих линий к установке принимаю комплектные распределительные устройства (шкафы КРУ), которые предчазны для приема и распределения электроэнергии трехфазнго переменного тока промышленной частоты, состоят из набора типовых шкафов и поставляются заводом - изготовителем в полностыо смонтированном виде со всей аппаратурой и всеми соединени ми главных и вспомогательных цепей.tt рас? ределительных устройствах 6000 В установим ячейки типа К-59 не базе галомаслянного выключателя ВК -10- 20/бЗОУЗ;»•• РУ ( ЮОВ обогатительной фабрики -14 дат;
ti РУ ( ЮОВ пульпонасосной станции -10 шт;к РУ ( ЮОВ насосной станции оборотной воды -13 шт;Ныбо| КРУ сводим в таблицы (5.1);(5.2);(5.3); для обогатительной фабрики, » ульпонасосной станции и насосной станции оборотной воды.
5 2. Проверка на устойчивость основного электрооборудования высоковольтной схемы.
После выбора комплектных распределительных устройств, а также определения токов короткого замыкания, необходимо проверить выбранное сечение кабелей на термическую стойкость и токам короткого замыкания.
Характеристики
Тип файла документ
Документы такого типа открываются такими программами, как Microsoft Office Word на компьютерах Windows, Apple Pages на компьютерах Mac, Open Office - бесплатная альтернатива на различных платформах, в том числе Linux. Наиболее простым и современным решением будут Google документы, так как открываются онлайн без скачивания прямо в браузере на любой платформе. Существуют российские качественные аналоги, например от Яндекса.
Будьте внимательны на мобильных устройствах, так как там используются упрощённый функционал даже в официальном приложении от Microsoft, поэтому для просмотра скачивайте PDF-версию. А если нужно редактировать файл, то используйте оригинальный файл.
Файлы такого типа обычно разбиты на страницы, а текст может быть форматированным (жирный, курсив, выбор шрифта, таблицы и т.п.), а также в него можно добавлять изображения. Формат идеально подходит для рефератов, докладов и РПЗ курсовых проектов, которые необходимо распечатать. Кстати перед печатью также сохраняйте файл в PDF, так как принтер может начудить со шрифтами.















