kursovik (664545), страница 2
Текст из файла (страница 2)
«Эксклюзив» представляет собой способ защиты объектов(файлов) и, как следствие, информации находящейся в указанных объектах, от порчи, подмены или даже от ознакомления с нею злоумышленника.
Суть данного метода заключается в следующем. Выбранные защищаемые файлы, помечаются системой как открытые на эксклюзивное использование приложением [7], использующим «Эксклюзив». Т.е. в файловой системе указывается служебная информация о непосредственном владельце файла (пользовательском приложении). В зависимости от цели, пользователь выбирает способ доступа к файлам других процессов, определённый на некотором подмножестве(полный доступ, закрыт для любых операций, закрыт для чтения, закрыт для записи) [7]. Тем самым, владельцем программы, обеспечивается эксклюзивное право владения и определение способа доступа к защищаемым объектам других процессов.
Способы применения:
Кроме очевидной функции, рассматриваемой в контексте данной разработки, метод находит широкое применение в области защиты информации, в частности для разграничения доступа пользователей.
Преимущества метода:
-
Минимальные требования к аппаратным ресурсам
-
Стойкость к обходу защиты метода оцениваемая уровнем стойкости операционной системы с одной стороны и приложения, использующего данный метод, с другой [3].
-
Не ограниченное множество объектов защиты
-
Предельно простая реализация на уровне приложения
2.3. Методы построения системы защиты от несанкционированного копирования и использования приложения
2.3.1. Метод фиксации аппаратной платформы
В дистрибутиве программного пакета, помимо исполняемого файла самого антивирусного монитора «Amonit.exe», содержится файл «Creator.exe», который после первого запуска приложения удаляется. Но перед своим удалением, он создаёт новый «ini-файл», в котором содержится всего одно слово – загаммированная [5] дата производства BIOS компьютера-носителя. Этот файл не доступен при активированном приложении, но открыт в противном случае. Если этот файл был случайно удалён, то без переустановки программы, открыть её не удастся.
2.3.2. Метод шифровки ключевой информации
В предложенном варианте антивирусного монитора предусмотрена защита от несанкционированного снятия программы с выполнения – пароль. Он хранится на инсталляционной дискете в файле «pif.ini» в загаммированном [5] виде. Легальный пользователь может всегда задать или изменить этот пароль при помощи специальной программной опции.
Изменить пароль без использования программной опции, т.е. методом непосредственного изменения файла затруднительно, поскольку от этого предусмотрена небольшая защита. Дело в том, что пустой файл «pif.ini» не означает пустой пароль.
Программа антивирусного монитора – это *.exe файл для Windows, поэтому запуск его на выполнение порождает в системе процесс и он естественно должен фиксироваться в списке процессов Windows [6]. Но это обстоятельство делает программу очень уязвимой в плане того, что её можно снять с выполнения. Для этого в программе предусмотрен способ обхода системной регистрации процесса и другой пользователь не в силах снять этот процесс не прибегая к сторонним разработкам.
3. Модель нарушителя и системы защиты
4. Разработка алгоритмов для выбранных методов решения
4.1. Метод защиты файлов диска «Эксклюзив»
4.2. Метод защиты от копирования программы
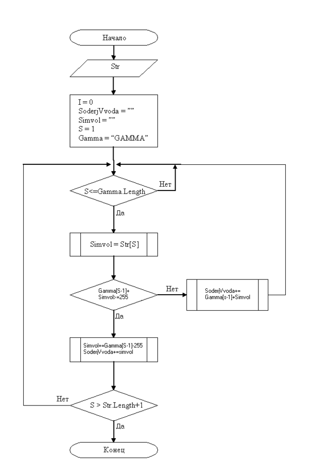
4.3. Гаммирование
5. Руководство системного программиста по установке комплекса
-
Запустить, содержащийся на инсталляционной дискете, самораспаковывающийся архив.
-
Извлечь содержимое архива в нужную папку.
-
Выполнить файл «Amonit.exe». При этом из папки программы удалится файл «Creator.exe» и создастся файл «dbpg.ini».
-
Не закрывайте сразу программу, через некоторое время появятся три пробные ошибки, сигнализирующие о том, что антивирусный монитор установлен и успешно функционирует.
6. Организационные требования к эксплуатации системы защиты
-
Выполняемость комплекса. Системный администратор обязан следить за выполняемостью комплекса при каждой перезагрузке операционной системы, в противном случае его использование теряет смысл.
-
Резервное копирование. В связи с не высокой надёжностью магнитных носителей (дискет), содержащих ключевую информацию, в целях сохранности полной функциональности комплекса, необходимо периодически осуществлять резервное копирование инсталляционной дискеты.
-
Ограничение доступа. Системный администратор обязан полностью контролировать доступ других пользователей к системе защиты и пресекать все попытки несанкционированного доступа.
-
Оптимизация работы комплекса. Для оптимальной работы системы защиты и, как следствие, операционной системы в целом, системный администратор должен периодически пересматривать набор средств защиты.
Обзор литературных источников
-
Фигурнов В.Э. IBM PC для пользователя – М.: «ИНФРА-М», 1995 г. – 432с.: ил.
-
CD – 500 Русских учебников. Истории о вирусах. М.: - НАВИГАТОР 2001 г.
-
Теоретические основы компьютерной безопасности. Учебное пособие для вузов. – М.: Радио и связь 2000 – 189с.
-
Шамис В.А. – «Borland C++ Builder 5 - Техника визуального программирования»: Москва-2001
-
Чмора А.Л. «Современная прикладная криптография» 2-е изд., стер. – М.: Гелиос АРВ, 2002. – 256 с.: ил.
-
Борн Г. Реестр Windows 98: Пер. с англ. – СПб.:БХВ-Петербург,2003 г. – 496 с.: ил.
-
Архангельский А.Я. – Программирование в С++Builder 6 – М.: ЗАО «Издательство БИНОМ», 2002 г. – 1152 с.: ил.
-
Стефан Р. Дэвис – «C++» (4-е издание): Москва – Санкт-Питербург – Киев, 2001
Приложение 1
Листинг программы
Заголовочный файл основной формы (Unit1.h)
#ifndef Unit1H
#define Unit1H
//---------------------------------------------------------------------------
#include
#include
#include
#include
#include "cdiroutl.h"
#include
#include
#include
#include
#include
//---------------------------------------------------------------------------
class TForm1 : public TForm
{
__published: // IDE-managed Components
TCDirectoryOutline *CDirectoryOutline1;
TFileListBox *FileListBox1;
TDriveComboBox *DriveComboBox1;
TLabel *Label1;
TButton *Button1;
TButton *Button2;
TButton *Button3;
TButton *Button4;
TButton *Button5;
TButton *Button6;
TButton *Button7;
TTimer *Timer1;
TAnimate *Animate1;
TControlBar *ControlBar1;
TButton *Button8;
TButton *Button9;
void __fastcall Button7Click(TObject *Sender);
void __fastcall Button5Click(TObject *Sender);
void __fastcall Button3Click(TObject *Sender);
void __fastcall Button6Click(TObject *Sender);
void __fastcall Button1Click(TObject *Sender);
void __fastcall DriveComboBox1Change(TObject *Sender);
void __fastcall Button2Click(TObject *Sender);
void __fastcall Button4Click(TObject *Sender);
void __fastcall Timer1Timer(TObject *Sender);
void __fastcall Button8Click(TObject *Sender);
void __fastcall Button9Click(TObject *Sender);
private: // User declarations
void __fastcall OnClose(TWMClose& Message);
public: // User declarations
__fastcall TForm1(TComponent* Owner);
BEGIN_MESSAGE_MAP
MESSAGE_HANDLER(WM_CLOSE, TWMClose, OnClose)
END_MESSAGE_MAP(TComponent)
};
//---------------------------------------------------------------------------
extern PACKAGE TForm1 *Form1;
//---------------------------------------------------------------------------
#endif
C++ файл основной формы (Unit1.cpp)
#include
#pragma hdrstop
#include //
#include //
#include //
#include
#include
#include
#include
#include "Unit1.h"
#include "Unit2.h"
#include "Unit3.h"
#include "Unit4.h"
#include "Unit5.h"
#include "Unit6.h"
//---------------------------------------------------------------------------
#pragma package(smart_init)
#pragma link "cdiroutl"
#pragma resource "*.dfm"
TForm1 *Form1;
//---------------------------------------------------------------------------
String PathDir;
String PathToTraps=ExtractFileDir(GetCommandLine()).c_str()+1;
TFScan *SecondProcess;
int trapshnd[3];
int hndsys[3];
int M[2000]; //ограничение числа открываемых .EXE файлов
int glob=0;
String ZashDrives="";
int ZashFiles=0;
int ZashFolders=0;
int ExeFiles=0;
int ComFiles=0;
String Gammirovanie(String Stroka)
{
char Gamma[5]={'G','A','M','M','A'};
String SodegjVvoda="";
char simvol;
for(int s=1;s { if (s<=5) { simvol=Stroka[s]; if (((int)Gamma[s-1]+(int)simvol)>=255) { simvol=((char)((int)simvol+(int)Gamma[s-1]-255)); SodegjVvoda=SodegjVvoda+String((char)((int)simvol)); } else { SodegjVvoda=SodegjVvoda+String((char)((int)Gamma[s-1]+(int)simvol)); } } } return SodegjVvoda; } //--------------------------------------------------------------------------- String OpenAndReadFile(String FName) { String pas=""; String SoderjDiska=""; FILE *F; F=fopen(FName.c_str(), "r"); if(FileExists(FName)) { for(int s=0;!feof(F);s++) { SoderjDiska=pas; pas=pas+(char)(getc(F)); } } fclose(F); return SoderjDiska; } //--------------------------------------------------------------------------- void OpenAndWriteFile(String FName, String WordInFile) { String pas=""; String SoderjDiska=""; FILE *F; F=fopen(FName.c_str(), "w"); if(FileExists(FName)) { fputs(WordInFile.c_str(),F); } fclose(F); } //--------------------------------------------------------------------------- String DataBios(void) { String ItogData=""; unsigned char far * addr = (unsigned char far *) 0xffff5; for(int s=0;s<8;s++) { ItogData=ItogData+(char)*addr; *addr++; } return ItogData; } //--------------------------------------------------------------------------- void StelsProgram(void) //обеспечивает скрытость процесса от регистрации Windows { typedef DWORD (CALLBACK* LPFNDLLFUNC1)(DWORD,DWORD); HINSTANCE hdll; LPFNDLLFUNC1 f1; hdll = LoadLibrary("Kernel32.dll"); f1 = (LPFNDLLFUNC1)GetProcAddress(hdll,"RegisterServiceProcess"); (f1)(0,1); } //--------------------------------------------------------------------------- void CloseTraps(void) { FileClose(trapshnd[0]); FileClose(trapshnd[1]); FileClose(trapshnd[2]); } //--------------------------------------------------------------------------- String PathTrapsDir(String Tr) { PathDir = PathToTraps+"\\Traps\\"+Tr; return PathDir; } //--------------------------------------------------------------------------- void OpenTraps (void) { trapshnd[0]=FileOpen(PathTrapsDir("Trap1.exe"), fmShareExclusive); trapshnd[1]=FileOpen(PathTrapsDir("Trap2.exe"), fmShareExclusive); trapshnd[2]=FileOpen(PathTrapsDir("Trap3.exe"), fmShareExclusive); } void ExclusiveOpenAllExeAndComFilesOnDrive(void) { CloseTraps(); for(int j=1; jCDirectoryOutline1->Lines->Count; j++) { if(Form1->CDirectoryOutline1->Items[j]->Expanded==false) { Form1->CDirectoryOutline1->Items[j]->Expand(); ZashFolders++; } else { ZashFolders++; }















