38339 (660673), страница 2
Текст из файла (страница 2)
4. Зафиксировав положение индикатора, шкалу устанавливают на нулевое положение, поворачивая ободок.
5. Поднимая и опуская измерительный стержень за головку, проверяют постоянство показаний индикатора. Если наблюдается отклонение стрелки от нуля, настройку повторяют.
6. Отведя стержень, снимают блок мер.
При измерении меру заменяют изделием, и наконечник опускают на его поверхность. Отсчет по шкале индикатора показывает отклонение размера изделия от размера меры в сотых долях миллиметра. При абсолютных измерениях, порядок настройки тот же. Базой для настройки служит поверхность предметного стола стойки или поверочной плиты. По указателю определяют число миллиметров в размере.
Область применения индикаторов расширяется благодаря использованию приспособлений. Струбцина для установки на валы (рис. 6,а) имеет скобу 3 с губкой 2, которая перемещается винтом 1. К струбцине привинчивается стержень 4 с хомутом 5 для крепления державки 6 с индикатором 7. Прямой (рис. 6, б) и угловой (рис. 6, б) рычаги применяют при измерениях в труднодоступных местах. Рычаги 9 под действием измерительного стержня 12 индикатора поворачиваются вокруг оси 10 кронштейнов 11, прикрепленных к гильзе индикатора, и упираются сферическими наконечниками 8 в поверхность изделия.
4)Оптико-механические приборы (оптиметры, оптикаторы, контактные интерферометры, длиномеры, измерительные машины, микроскопы и проекторы) предназначены для высокоточных измерений размеров и отклонений геометрической формы изделий дифференциальным методом. Конструктивно они представляют собой измерительные трубки (головки), устанавливаемые на стойках. В измерительном механизме трубок оптиметров и оптикаторов сочетаются механический и оптический рычаги, поэтому такие приборы иногда называют рычажно-оптическими.
Принцип действия оптического рычага показан на рисунке
зеркало 1 падает луч света 2 и отражается на шкалу прибора 3. Если зеркало наклонить на угол а, то отраженный луч сместится по шкале на величину I, пропорциональную расстоянию L шкалы от зеркала: I = 2aL. Механический рычаг связывает измерительный стержень прибора с поворачивающимся зеркалом. Оптическая система — совокупность оптических узлов и деталей (линзы, призмы, зеркала, объективы, окуляр и т. д.), преобразует малые повороты зеркала в удобные для отсчета перемещения светового потока с изображением указателя по шкале прибора.
По положению линии измерения оптиметры делят на вертикальные (0В) и горизонтальные (ОГ), а по способу отсчета показаний—на окулярные (ОВО, ОГО) и экранные (ОВЭ, ОГЭ).
Основные характеристики оптиметров по ГОСТ 5405—75
| Типы прибора | |||
| Показатели | ОВО-1, | ОГО-1, | |
| ОВЭ-02 | ОВЭ-1 | ОГЭ-1 | |
| Диапазон измерения, мм | 0—100 | 0—200 | 0—500 |
| Цена деления, мкм | 0,2 | 1,0 | 1,0 |
| Пределы измерения по шкале, мм | ±0,025 | ±0,1 | ±0,1 |
| Допускаемая основная погрешность | |||
| ность, мкм, на участке шкалы, ми: | |||
| от 0 до ±0,015 | ±0,07 | — | — |
| свыше ±0,015 | ±0,1 | — | .— |
| от 0 до ±0,06 | — | ±0,2 | • ±0,2 |
| свыше ±0,06 | — | ±0,3 | ±0,3 |
| Вариация показаний, мкм | £(,02 | 0,1 | 0,1 |
5) Линейки поверочные изготовляются следующих типов: ЛД — лекальные с двухсторонним скосом (рис. 7, а); ЛТ—лекальные трехгранные (рис. 7,6); ЛЧ—лекальные четырехгранные (рис. 7, в); ШП — с широкой рабочей поверхностью прямоугольного сечения (рис. 7, г); ШД—с широкой рабочей поверхностью двухтаврового сечения (рис. 7,и); ШМ—с широкой рабочей поверхностью, мостики (рис. 7, е); УТ—угловые трехгранные (рис. 7, ж).
Лекальные линейки выпускаются двух классов точности: 0 и 1. Лекальные линейки предназначены для контроля прямолинейности. Лезвие линейки накладывают на поверхность изделия .Сзади, на уровне глаз контролера, помещают источник света и наблюдают просвет между линейкой и изделием. Размер просвета определяют по «образцу просвета» При хорошей освещенности и определенном навыке просвет размером 3—5 мкм можно оценить с погрешностью ±1 мкм. Непрямолинейность равна наибольшему просвету hmax.. (рис.8,а) .Линейки с широкой рабочей поверхностью применяют для поверки прямолинейности и для поверки плоскостности узких поверхностей Размеры l X Ь линеек различных типов имеют следующие значения: для линеек типа ШП 205Х5—630Х10 мм;
линеек типа ШД 630Х4—4000 X 30 мм; линеек типа ШМ 400 X 50 — 3000 X 110 мм. Линейки выпускаются трех классов точности: 0, 1 и 2. При контроле прямолинейности методом «линейных отклонений» рис.8, б линейку 1 укладывают рабочей поверхностью на две одинаковые концевые меры 3 размером b0, установленные на проверяемой поверхности 2. Для уменьшения погрешностей измерений из-за прогибов линейки опоры располагают в точках наименьшего прогиба (точки Эри), которые отмечены рисками на боковой поверхности линеек, Точки Эри лежат на расстоянии 0,233l от концов линейки. На боковой поверхности линейки наносят мелом отметки на расстояниях, равных 0,1l. В отмеченных точках 0, 1, 2, ..., 10 измеряют расстояние Ьi, между поверхностями линейки и изделия, вводя между ними блоки концевых мер или щупы 4. По результатам измерений, определяют разность hi=(bо — bi). Построив график, как показано на рис. 8, в через точки h0 и hi проводят прямую линию ОА. Отклонение от плоскостности поверхности hmax находят как расстояние от линии ОА до наиболее удаленной точки профиля.
Решения об отнесении технического устройства к средствам измерений и об становлении интервалов между поверками принимает Госстандарт России.
Измерения должны осуществляться в соответствии с аттестованными в установленном порядке методиками.
Порядок разработки и аттестации методик выполнения измерений определяется Госстандартом России. Конкретные методы измерений определяются видом измеряемых величин, их размерами, требуемой точностью результата, быстротой процесса измерения, условиями, при которых проводятся измерения, и рядом других признаков.
Каждую физическую величину можно измерить несколькими методами, которые могут отличаться друг от друга особенностями как технического, так и методического характера. В отношении технических особенностей можно сказать, что существует множество методов измерения, и по мере развития науки и техники, число их все увеличивается. С методической стороны все методы измерений поддаются систематизации и обобщению по общим характерным признакам. Рассмотрение и изучение этих признаков помогает не только правильному выбору метода и его сопоставлению с другими, но и существенно облегчает разработку новых методов измерения.
Для прямых измерений можно выделить несколько основных методов: метод непосредственной оценки, дифференциальный метод, нулевой метод и метод совпадений.
При косвенных измерениях широко применяется преобразование измеряемой величины в процессе измерений.
Рис. 3. Индикатор часовой типа ИЧ
Рис. 4 Индикатор торцовый типа ИТ-2
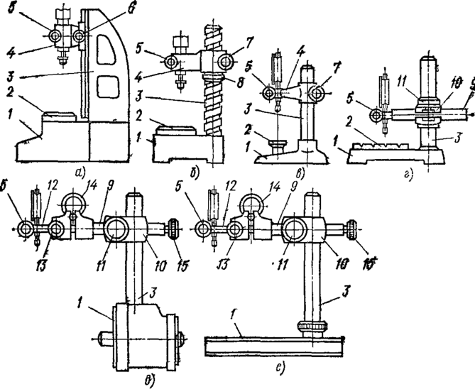
Рис. 5. Стойки и штативы
а—г-сгойки типа C-I; C-Ii; C-III; C-IV; д— е— штативы типа Ш-1, lll-tf;
1— основание, 2— предметный стол для установки изделия; 3— колонка;
4—кронштейн; 5—винт крепления измерительной головки; 6—маховик перемещения кронштейна (кремальера), 7—винт зажима кронштейна;
5— гайка; 9— стержень; /О—хомут; //—зажимной винт; 12— державка;
1З—винт крепления державки; 14—пружинное кольцо; 15—винт микроподачи для точной установки измерительной головки на размер
,
Рис. 8. Методы контроля
прямолинейности /
План
1.Средства измерений
2.Штанкгнциркуль
3.Микромктр
4.Индикаторы часовые
5.Оптико-механические приборы
6.Линейки поверочные
7.Приложения
Использованная литература
1.Васильев А.С. «Основы метрологии и технические измерения» 1980 г.
2.Закон «Об обеспечении единства измерений» от 28.04.2001 г.
3.Махоня И.Т. «Справочник инструментальщика по техническим измере
ниям» 1984 г.
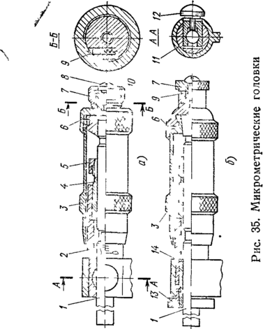
Рис.1 Микрометрические головки
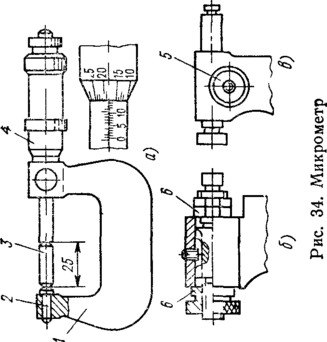
Рис.2 Микрометр
Рис.6 Приспособлнния к индикаторам















