25092 (654604)
Текст из файла
На правах рукописи
РАЗРАБОТКА МЕТОДОВ И СРЕДСТВ ПОВЕРКИ И КАЛИБРОВКИ ГЕОДЕЗИЧЕСКИХ ПРИБОРОВ ДЛЯ ИЗМЕРЕНИЯ ПРЕВЫШЕНИЙ
Специальность 25.00.32 – Геодезия
Автореферат диссертации на соискание ученой степени
кандидата технических наук
Общая характеристика работы
Актуальность темы диссертации. В настоящее время в области геодезических измерений происходит переход от оптических методов измерений к оптико-электронным. При этом развитие и совершенствование оптико-электронных приборов для измерения превышений, повышение их точности, надежности и степени автоматизации приводят к необходимости создания новых методов и средств контроля их метрологических характеристик. Это, в свою очередь, требует разработки новых технологий и средств их метрологической поверки, калибровки и сертификации. Этой актуальной задаче и посвящена данная диссертационная работа.
В общем разработка современных эталонных средств в метрологии направлена на обеспечение единства измерений, сокращение времени испытаний, повышение их точности и надежности, оперативную обработку полученных данных.
Методология поверок и калибровок высокоточных приборов для измерения превышений тахеометрами и нивелирами регламентируется рядом специально разработанных стандартов, устанавливающих основные метрологические характеристики. Эта документация рассчитана в основном для оптических приборов, поверочные схемы оптико-электронных устройств не достаточно разработаны.
В настоящее время в геодезической метрологии следует выделить постановку задачи разработки и исследований новых методов и средств поверки и калибровки современных оптико-электронных и цифровых приборов для измерения превышений, реализованных виде соответствующих поверочных стендов.
Основными требованиями к техническим и метрологическим характеристикам стендов для поверки и калибровки оптико-электронных (цифровых) геодезических приборов для измерения превышений являются:
- многофункциональность стендового оборудования;
- уменьшение времени поверки и калибровки геодезического прибора;
- автоматизация процесса измерений;
- использование альтернативных эталонных мер – кодовых и растровых датчиков, лазерных интерферометров, жезлов и концевых мер длины;
- увеличение точности считывания с кодовых, растровых инкрементальных датчиков угла или длины.
Следовательно, задачи создания универсального стендового оборудования для метрологических исследований современных оптико-электронных приборов для измерения превышений являются на данный момент актуальными.
Целью работы является разработка методов и средств поверки и калибровки геодезических приборов для измерения превышений.
Для достижения поставленной цели сформулированы и решены следующие научные задачи:
1. Проведен анализ существующих методов и средств исследования, поверки и калибровки приборов для измерения превышений.
2. Разработаны методы и средства определения основных метрологических характеристик геодезических приборов для измерения превышений.
3. Разработаны и исследованы соответствующие теме диссертации стенды универсального метрологического комплекса УМК-М.
Объект исследования - методы и используемые в них эталонные средства калибровки геодезических приборов для измерения превышений на примере линейного растрового измерительного преобразователя, лазерного интерферометра, коллиматоров, концевых мер длины и инварных жезлов.
Методика исследования. Выполненные в диссертационной работе исследования основаны на анализе опубликованных данных, выполнении теоретических и практических исследований и экспериментальной проверке достоверности этих результатов.
Научная новизна работы заключается в следующем:
1. Разработан эталонный стенд и технология исследования короткопериодической погрешности измерения вертикальных углов геодезическими приборами.
2. Разработана и исследована методика поверки и калибровки системы лазерного трекера для измерения превышений и вертикальных углов на эталонном стенде.
3. Разработаны и реализованы методы поверки и калибровки системы "нивелир – рейка": а) при помощи измерительного преобразователя; б) на оптико-механическом компараторе; в) с использованием концевых мер длины.
Практическая значимость работы:
1. Разработанные методы и стенды использованы в поверочной установке МИИГАиК УМК-М, на которую от Федерального Агентства по техническому регулированию и метрологии получен Сертификат об утверждении типа средств измерений.
2. По результатам исследований диссертанта на методику измерений университетом подана заявка на изобретение и получено положительное решение.
Апробация работы. Результаты работы докладывались и обсуждались на трех научно-технических конференциях (МИИГАиК, 2005-2007 гг.), на научно-технической конференции "НТТМ-2006"(г.Москва: ВВЦ 2006 г.), на международном форуме GEOFORM+ 2006 (г.Москва: "Сокольники", 2006г.), на международном конгрессе "ГеоСибирь-2006" (г.Новосибирск), на международных выставках - INTERGEO 2006 и 2007 (Германия, г.Мюнхен, 2006г, г.Лейпциг, 2007г).
Публикации. По теме диссертационной работы опубликовано 7 печатных работ.
Объем и структура работы. Диссертационная работа состоит из введения, трех глав, заключения и списка использованных источников информации, содержащего 51 наименование. Работа изложена на 144 страницах машинописного текста, содержит 56 рисунков, 6 таблиц и 10 приложений.
ОСНОВНОЕ СОДЕРЖАНИЕ РАБОТЫ
Во введении обоснованы актуальность темы и основные направления исследований; сформулирована цель работы и ее научная новизна.
Первая глава. В ней проведен аналитический обзор современных методов и приборов для измерения превышений. Рассмотрена классификация средств поверки оптических и оптико-электронных геодезических приборов для измерения превышений. Проведен анализ методов и средств исследований нивелиров и реек, систем измерения вертикальных углов геодезических приборов.
Рассмотренные в первой главе существующие методы и средства исследований нивелиров и реек предусматривают определение накопленной погрешности измерения превышения системы "нивелир – рейка". А так же исследование накопленной погрешности самой нивелирной рейки. На сегодняшний день не существуют методы и стенды для исследования короткопериодической погрешности, и во всех методиках используется только одно эталонное средство измерения превышений.
На основании проведенного анализа существующих методов и средств метрологического исследования тахеометров можно сделать следующие выводы:
методы сличения и калибровки при помощи многогранных призм, панорамная установка, стенд на основе волоконно-оптических элементов позволяют обеспечить требуемую точность поверки одного из параметров, но с другой стороны имеют ряд существенных недостатков, таких как невозможность автоматизации, сложность конструкции, недостаточная стабильность фиксации эталонных углов, длительное время исследования;
коллиматорные стенды при широком распространении и отработанности конструкции не обеспечивают автоматизации процесса измерений.
Актуальным является разработка современного универсального метрологического комплекса для проведения поверок и калибровок геодезических приборов, основные требования к которому заключаются в том, что должны быть использованы:
-
многогранные эталонные призмы, погрешность изготовления < 0,5”;
-
автоколлиматоры для задания референтных направлений с точностью наведения < 0,2”;
-
растровые измерительные преобразователи с дискретностью отсчитывания < 0,5мкм;
-
лазерные интерферометры с погрешностью < (1мкм + 1pmm),
и удовлетворены следующие требования:
-
минимизация времени исследований (за счет сокращения числа измерений и автоматизации процесса поверки и калибровки, компьютерной обработки измерительной информации);
-
обеспечение соответствующих климатических условий для эталонных стендовых исследований;
-
обеспечение единой метрологической базы поверки и калибровки нивелиров и тахеометров;
-
применение оптимальных альтернативных эталонных средств измерений (СИ) (призмы, инварные и композитные жезлы, автоколлиматоры, растровые датчики);
-
использование современных эталонных СИ для поверки и калибровки нивелиров и тахеометров.
Следует отметить, что с появлением кодовых лимбов и штрих-кодовых реек большую роль играет погрешность считывания с мер. Погрешность считывания зависит в основном из двух видов погрешностей: погрешностей нанесения делений на меру и погрешностей интерполяции электрического сигнала. Эти погрешности, в свою очередь, носят длиннопериодический (накопленный) и короткопериодический (внутришаговый) характер. Для исследования короткопериодической (внутришаговой) погрешности не разработано методик и средств поверки и калибровки.
С целью устранения этих недостатков в МИИГАиК при участии автора выполнены разработки и исследования универсального метрологического комплекса (УМК-М) для поверки и калибровки современных оптико-электронных приборов при непосредственном участии автора.
Вторая глава. Во второй главе рассмотрены разработанные методы проведения исследований метрологических установок и стендов для поверки и калибровки геодезических приборов для измерения превышений.
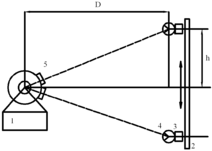
Метод исследования короткопериодической погрешности измерения вертикальных углов геодезических приборов. Важной задачей при исследовании оптико-электронных геодезических приборов является испытание систем, измеряющих вертикальные углы. В измерительных растровых системах доминирующей составляющей суммарной погрешности является короткопериодическая (внутришаговая) погрешность. Для исследования короткопериодической погрешности предлагается способ косвенного измерения определения эталонного значения вертикального угла. При известных значениях превышения h и измеренном горизонтальном положении D вычисляется угол , равный: = arctg h /D, очевидно:
что при D = 10 м и h< 100 мм обеспечивает погрешность измерений с h = 0,003 мм и D = 3 мм, получаем < 0,6”, что вполне приемлемо для высокоточных угломерных приборов (УП). Эталонное превышение h следует устанавливать, руководствуясь длиной растрового преобразователя, целесообразней проходить с некоторым шагом. Для задания такого эталонного превышения используется растровый измерительный преобразователь линейного вида, погрешность которого не превышает 0,003 мм. Горизонтальное проложение D от исследуемого прибора до визирной цели может быть измерено светодальномером. Погрешность определения вертикального угла соизмерима с погрешностью визирования на цель. Чтобы ослабить влияние погрешности визирования, на разработанном стенде может быть использован разрезной фотодиод для фиксации референтного направления, наведение на ось симметрии диода может производиться полупроводниковым лазером. Лазерный излучатель при этом устанавливается на трубу исследуемого прибора в непосредственной близости от визирной оси. Схема метода представлена на рис.1.
Рис. 1. Схема исследования короткопериодической погрешно-сти измерения вертикального угла (ВУ) угломерными приборами.
1 – УП, 2 – растровая мера, 3 – считывающая головка растрового преобразователя, 4 – разрезной фотодиод, 5 – лазерная насадка.
Метод позволяет определить короткопериодическую (внутришаговую) погрешность измерения вертикального угла. Так же по результатам исследования может быть выявлена калибровочная характеристика.
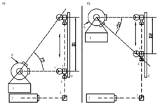
Метод поверки системы лазерного трекера для измерения превышений и вертикальных углов. Лазерный трекер является геодезическим средством измерения и, в соответствии с законом о единстве измерений, требует проведения метрологической поверки или калибровки. Погрешность измерения вертикальной координаты "Z" (превышения) современных лазерных трекеров составляет порядка 20 мкм. Для проведения поверки и калибровки системы лазерного трекера для измерения превышений в данной работе разработан метод, позволяющий исследовать как накопленную погрешность измерения превышения, так и короткопериодическую (внутришаговую) составляющую погрешности.
Для проверки точности измерения вертикальной координаты предложено использовать в качестве эталонного средства измерения растровый измерительный преобразователь, погрешность определения превышения которого не превышает 3 мкм. Для проведения поверки целесообразней выбрать вертикальный диапазон измерения превышений, соответствующий диапазону исследуемого прибора. Методика проведения поверки заключается в измерении одинаковых превышений по растровому измерительному преобразователю и лазерному трекеру. Вполне возможно применить альтернативное эталонное средство поверки – лазерный интерферометр (погрешность 1мкм+1ppm), как отдельно, так и совместно с растровым измерительным преобразователем. При проведении исследования отсчеты по всем трем приборам берутся одновременно и затем сравниваются. Отражатели трекера и интерферометра должны перемещаться совместно с растровым измерительным преобразователем вдоль меры. За эталонное превышение принимается значение, измеренное растровым измерительным преобразователем, а значение, измеренное интерферометром, используется как контрольное. Эталонное превышение по растровому преобразователю сравнивается с превышением, измеренным лазерным трекером (рис.2).
Рис.2. Схема поверки системы лазерного трекера для измере-ния превышений и вертикальных углов:
а) схема поверки при положительных значе-ниях углов наклона, б) схема поверки при отрицательных значе-ниях углов наклона, 1-поверяемый лазерный трекер, 2-лазерный интерферометр, 3-разворачивающий блок интерферометра, 4-отражатель интерферометра, 5-растровый измерительный преобразователь, 6-стеклянная растровая мера, 7-отражатель трекера, 8-поворотная головка трекера.
Калибровку проводят в помещении с постоянной температурой и давлением, при минимальном времени проведения измерений.
Методы поверки и калибровки системы "нивелир – рейка". Основной метрологической погрешностью нивелира является средняя квадратическая погрешность измерений превышений на 1 км нивелирного (двойного) хода. Пути её выявления весьма трудоемки, и получение инструментальной погрешности нивелирования затруднительно. Для решения этой задачи в диссертации разработаны и исследованы методы и средства калибровки системы "нивелир-рейка".
Метод исследования системы "нивелир – рейка" при помощи растрового измерительного преобразователя. Метод разработан для получения инструментальных погрешностей системы "нивелир – рейка". В качестве эталонного средства при калибровке предложено использовать растровый измерительный преобразователь, погрешность измерения которого не превышает 3 мкм. Исследуемый нивелир устанавливается на подвижную каретку вертикального стенда совместно с растровым преобразователем. Нивелиры могут быть, как цифровые, так и оптические. В соответствии с исследуемым нивелиром выбирается рейка со штрих-кодом или с оцифрованной шкалой. Рейка устанавливается на неподвижный столик и приводится в отвесное положение с помощью круглого накладного уровня и подъемных винтов столика.
Методика проведения калибровки заключается в измерении одинаковых значений вертикальных перемещений с помощью растрового измерительного преобразователя и нивелира по рейке. При проведении калибровки предусмотрена возможность применения альтернативного эталонного средства – лазерного интерферометра (погрешность 1мкм+1ppm). Для этого отражатель интерферометра закрепляется совместно с нивелиром и измерительным преобразователем. На рис.3 представлена схема проведения калибровки системы "нивелир – рейка".
В момент проведения исследования отсчеты по нивелиру, интерферометру и датчику измерительного преобразователя берутся одновременно и затем сравниваются. Отражатель интерферометра и нивелир должны перемещаться совместно с растровым измерительным преобразователем вдоль меры (рис.3(а)). Эталонное превышение сравнивается с превышением, измеренным нивелиром по рейке.
Рис.3. Схема калибровки системы "нивелир – рейка",
а) когда нивелир перемещается вдоль растровой меры, б) когда рейка перемещается вдоль растровой меры: 1-исследуемый нивелир, 2-лазерный интерферометр, 3-разворачивающий блок интерферометра, 4-отражатель интерферометра, 5- растровый измерительный преобразователь, 6-стеклянная растровая мера, 7- нивелирная рейка.
Разработанный метод позволяет получить инструментальную погрешность системы "нивелир – рейка", как длиннопериодическую, так и короткопериодическую составляющие. Для разделения погрешностей отдельно нивелира и отдельно рейки следует эталонировать нивелирную рейку (например, на компараторе) и затем учесть погрешность рейки.
Метод исследования системы "нивелир – рейка" на компараторе – основывается, как и в предыдущем методе, на компарировании или сравнении. Для проведения калибровки используются два эталонных средства измерения превышений: Это лазерный интерферометр (погрешность 1мкм+1ppm) и инварный жезл (погрешность 10мкм). Метод заключается в том, что перемещение рейки и эталонного жезла осуществляется в горизонтальном положении по направляющим рельсам на подвижной тележке. Основой данного метода является существенно усовершенствованный оптико-механический компаратор МИИГАиК (рис.4). На изолированных "малых" фундаментах (12) с интервалом в 1м закреплены рельсы (3), выставленные в горизонт и по азимуту. На рельсах установлена подвижная каретка (1). На "больших" фундаментах, расположенных за рельсовым путем, закреплена направляющая (7) длиною 3,5м, на которой располагаются микроскопы (5), имеющие возможность перемещения по этой направляющей. Направляющая с микроскопами располагается над рельсовым путем. На расстоянии 25м по направлению рельсов на бетонной основе устанавливается нивелир (8); с другой стороны – лазерный интерферометр (11) и блок опорного канала (10), для измерения интерферометром на подвижной каретке закреплен уголковый отражатель (9). Для разворота изображения рейки на направляющей закреплено наклонное зеркало (6), которое имеет возможность юстировки. Для проведения измерений на каретку одновременно или по очереди устанавливаются инварный жезл (4) и исследуемая рейка (2). Если за эталонное средство принимается только инварный жезл, то температура следует измерять с точностью порядка 0,10С. При использовании интерферометра, как правило, параметры окружающей среды берутся с датчиков интерферометра.
Рис. 4. Принципиальная схема стенда.
Как и в предыдущем методе, разработанный метод позволяет выявить длиннопериодические и остаточные погрешности измерения превышений, но не позволяет в полной мере оценить короткопериодические погрешности. Это связанно с ограниченностью задания минимального превышения ценой деления рейки. Но в методе предлагается задавать эталонные превышения интерферометром; это даст возможность выявление короткопериодической погрешности измерения превышения системы "нивелир – рейка".
Метод исследования системы "нивелир – рейка" с использованием концевых мер длины основан на сравнение эталонных превышений, задаваемых при помощи концевых мер длины (КМД), с измеренными превышениями нивелиром по рейке. Для изменения высоты точки в разработанном методе используются концевые меры длины II разряда, погрешность размера которых не превышает 0,4 мкм (при температуре 200С). Эталонные превышения задаются в диапазоне 0200мм с шагом от 0,2мм до 10мм, что позволяет выявить короткопериодические погрешности на отдельном участке рейки. Таким образом, существует возможность исследовать инструментальную погрешность системы "нивелир – рейка".
Для выполнения исследования нивелир устанавливается на жесткое основание, на выбранном расстоянии устанавливается горизонтальный столик с отшлифованной поверхностью. На столик поочередно устанавливаются и притираются КМД различной высоты, на меры ставится нивелирная рейка с накладным уровнем. При установке различных КМД и рейки снимается отсчет по нивелиру. Результатом калибровки являются графики погрешности измерения высоты КМД.
Предлагаемый метод является более функциональным, так как позволяет производить исследование на больших расстояниях между нивелиром и рейкой, а так же позволяет проводить испытания как в лабораторных, так и в полевых условиях.
Представленные во 2-ой главе разработки позволяют:
-
исследовать короткопериодическую погрешность измерения вертикального угла геодезических приборов – теодолитов, тахеометров;
-
исследовать инструментальную погрешность системы "нивелир – рейка" при помощи растрового измерительного преобразователя;
-
исследовать инструментальную погрешность системы "нивелир – рейка" на компараторе;
-
исследовать инструментальную погрешность системы "нивелир – рейка" с использованием концевых мер длины;
-
провести калибровку координатных систем типа лазерный трекер.
Третья глава. В этой главе представлены разработанные стенды для поверки и калибровки, входящие в разработанную при участии автора поверочную установку УМК-М.
Стенд УМК-М для поверки и калибровки систем геодезических приборов для измерения вертикальных углов (Вертикальный стенд) – рис. 5.
Рис.5. Схема стенда для исследования тахеометров при измерении ВУ.
В точках К1,К3,К4,К5,К6, установлены коллиматоры (в качестве коллиматоров использованы зрительные трубы теодолитов типа Т2), а в точке Т – поверяемый теодолит. Взаимное расположение коллиматоров таково, что обеспечивает измерение вертикальных углов (ВУ) от 00до450 и от 00до - 450.
Для испытаний геодезических приборов необходимо знать эталонный угол. Для измерения эталонных углов были использованы высокоточные приборы: оптический теодолит Т1 и электронный тахеометр фирмы "Leica" TPS 1100 (m = 0,5”). Были произведены измерения всех вертикальных углов двенадцатью приемами. В результате измерений были получены средние квадратические погрешности (СКП) для средних значений ВУ из 12-ти приемов (см. табл. 1).
Таблица 1
| Прибор | Теодолит Т1 | Тахеометр TPS 1100 | ||||||
| +40 | +250 | +450 | -450 | +40 | +250 | +450 | -450 | |
| m | 2,9” | 2,6” | 2,3” | 3,8” | 3,2” | 2,6” | 3,1” | 2,6” |
Как видно из табл. 1, СКП эталонных углов, измеренных двумя разными по точности приборами, одинаковые. Отсюда можно сделать вывод, что определяющим фактором в полученных результатах является фокусное расстояние коллиматоров (зрительные трубы Т2, f=300мм). Полученные СКП эталонных углов показали, что испытание на разработанном стенде можно проводить только тех геодезических приборов, точность которых сопоставима с полученной или ниже.
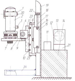
Стенд УМК-М для исследования короткопериодической погрешности систем геодезических приборов для измерения вертикальных углов – рис.6
представляет собой вертикально установленный на изолированном фундаменте швеллер 19, на котором расположена станина 18 с подвижной кареткой 15. На станине жестко закреплена оправа 6 растровой меры 5 (LID-300 (HEIDENHAIN)), длина меры 200 мм, дискретность отсчитывания 0,5 мкм. На каретке расположены считывающая головка 4 LID-300, нивелир Ni-007 (поз.2), блок разрезного четырех площадочного фотодиода 1. Отражатель исследуемого тахеометра (на рис. 6 не показан) – жестко закреплен на уровне разрезного фотодиода на корпусе Ni-007 с противоположной стороны.
Рис.6. Схема вертикального стенда для исследования тахеометров.
Сигналы с разрезного фотодиода через аналого-цифровые преобразователи (АЦП) и электронного счетчика 21 LID-300 выводятся на ЭВМ. Растровая мера служит в качестве эталонной при измерении перемещений подвижной каретки, нивелир Ni-007 и разрезной фотодиод служат датчиками опорного направления при исследовании оптических приборов и приборов с лазерными указателями. Исследуемый теодолит (тахеометр) устанавливается на поворотном прецизионном столе, расположенном на изолированном фундаменте, расстояние между прибором и стендом – 9,8м (см. рис.5). Результаты испытаний тахеометра представлены на графике (рис. 7).
Рис. 7. Погрешности измерения вертикального угла тахеометром Leica TPS1100 на отражатель.
Из графика видно, что точность измерения вертикального угла при наведении на уголковый отражатель составляет 8”. Отсюда можно сделать вывод, что использование уголкового отражателя не приемлемо. Для исследований следует использовать разрезной фотодиод и полупроводниковый лазер для фиксации референтных направлений. В полученных результатах наблюдается закономерность, она возникает из-за не вертикальности движения каретки с отражателем вдоль стеклянной растровой меры (систематическая погрешность).
Исследование систематической погрешности вертикального стенда УМК-М с помощью лазерного интерферометра. Для этих исследований использован лазерный интерферометр фирмы HewlettPackard HP5528A с погрешностью измерения расстояний 1мкм+1ppm.
По результатам многократных измерений построен график погрешности (рис.8). В данном эксперименте систематическая погрешность не превышают 50 мкм. Полученные значения являются калибровочными и их следует вводить как поправки при поверке и калибровке тахеометров (нивелиров) на вертикальном стенде.
Рис.8. Cистематическая погрешность работы стенда.
Стенд УМК-М для поверки и калибровки системы "нивелир – рейка" – рис. 3(а). В отличие от исследования ВУ, при исследовании нивелиров на подвижный столик устанавливается нивелир (1) (оптический, цифровой, лазерный). Нивелир устанавливался на горизонтальном столике вертикального стенда. Расстояние от прибора до рейки составляло порядка 3 метров. Винт микроподачи обеспечивает перемещение в вертикальном направлении подвижной части со столиком и нивелиром. Инварная метровая штрих-кодовая рейка (7) устанавливается неподвижно (для оптических нивелиров используется метровая инварная рейка с 5мм делениями). На подвижной каретке закреплена считывающая головка Lid-300 (HEIDENHAIN) (5), растровая мера длиной 200мм (6) установлена в корпусе, жестко связанном с неподвижным, вертикально расположенным на фундаменте, швеллером. Мера изготовлена из стекла, коэффициент линейного расширения которого составляет 10мкм/м градус. Погрешность отсчитывания составляет порядка 3мкм. Перемещение в вертикальном направлении отображается на цифровом блоке VRZ 735 (HEIDENHAIN) с дискретностью 0,5 мкм.
Рис. 9. Результаты исследования нивелира DiNi10 и 1м штрих-кодовой инварной рейки.
Рис. 10. Результаты исследования нивелира DiNi12 и 1м штрих-кодовой инварной рейки.
На графиках (рис. 9 и 10) показаны результаты исследования цифровых нивелиров DiNi10, DiNi12 и 1 метровой инварной штрих-кодовой рейки.
Из графиков видно, что погрешность определения превышения по инварной штрих-кодовой рейке цифровым нивелиром DiNi10 не превышает 0,05 мм, а DiNi12 – не превышает 0,015 мм. На графиках (рис. 9 и 10) показаны результаты исследования на одном из участков рейки, выбор именно этих участков обусловлен наибольшей величиной погрешности.
Горизонтальный стенд УМК-М для поверки и калибровки системы "нивелир – рейка". Основой разработанного стенда является оптико-механический компаратор МИИГАиК, существенно доработанный и усовершенствованный (см. рис.4).
Для совместного исследования нивелира и рейки применялась методика, разработанная в главе 2. Зная расстояние между микроскопами по инварному жезлу, мы имеем возможность переместить подвижную каретку на это расстояние. Вводим штрих рейки в бисектор микроскопа и снимаем отсчеты по нивелиру. Затем перемещаем каретку с рейкой так, чтобы тот же штрих рейки попал в бисектор другого микроскопа, и снимаем отсчеты по нивелиру. Разность двух соответствующих отсчетов даст нам перемещение. Также возможны исследования c использованием лазерного интерферометра.
В табл. 2 показаны результаты исследования цифрового нивелира DiNi12 и 3 метровой инварной штрих кодовой рейки.
Из результатов исследований следует, что инструментальная погрешность измерения метровых интервалов при помощи системы "цифровой нивелир DiNi12 – инварная 3-х метровая штрих-кодовая рейка" не превышает 0,06 мм.
Таблица 2
| Метровые интервалы | Номинальная длина метровых интервалов рейки полученная на УМК-М | Длина метровых интервалов измеренных цифровым нивелиром DiNi12 | Погрешности измерения метровых интервалов цифровым нивелиром DiNi12 с учетом поправок за компарирование рейки на УМК-М | |||||||
| ход прямо | ход обратно | среднее | ||||||||
|
| мм |
| мм |
| мм |
| мм | мм | ||
| 1 | 1м | +0,009 | 1м | +0,01 | 1м | -0,01 | 1м | +0,000 | -0,009 | |
| 2 | 1м | +0,007 | 1м | +0,01 | 1м | +0,02 | 1м | +0,015 | +0,008 | |
| 3 | 1м | +0,003 | 1м | +0,01 | 1м | -0,01 | 1м | +0,000 | -0,003 | |
| 4 | 1м | -0,012 | 1м | +0,02 | 1м | +0,00 | 1м | +0,010 | +0,022 | |
| 5 | 1м | -0,005 | 1м | -0,01 | 1м | -0,02 | 1м | -0,015 | -0,010 | |
| 6 | 1м | -0,021 | 1м | -0,01 | 1м | +0,00 | 1м | -0,005 | +0,016 | |
| 7 | 1м | -0,008 | 1м | +0,02 | 1м | +0,02 | 1м | +0,020 | +0,028 | |
| 8 | 1м | -0,007 | 1м | +0,01 | 1м | -0,01 | 1м | +0,000 | +0,007 | |
Погрешность метровых интервалов инварной 3-х метровой штрих-кодовой рейки не превышает 0,02 мм. Инструментальная погрешность самого цифрового нивелира DiNi12 при измерении метровых интервалов не превышает 0,04мм.
Исследование системы "нивелир – рейка" с использованием концевых мер длины. Для проведения эксперимента было выбрано три высокоточных нивелира: оптический Н-05 и два цифровых DiNi10 и Dini12, а также рейки: инварная для оптического нивелира, инварная и четыре деревянных рейки для цифровых нивелиров. Все три прибора были установлены на штативы на одинаковом расстоянии от нивелируемых точек и на приблизительно одной высоте. Три точки установки реек представляли собой неподвижные горизонтальные площадки (предметный столик). Расстояния от нивелиров до трех точек нивелирования составляли: 3,5 м; 13,7 м; 29,0 м соответственно. Для изменения высоты точки использовались концевые меры длины (КМД), погрешность размера которых не превышала 0,4 мкм (при температуре 200С). Размер КМД составлял от 0,5 мм до 200 мм.
На нивелируемую точку по очереди устанавливались рейки и снимались отсчеты. Затем на точку устанавливали концевую меру размера 0,5мм и снова поочередно ставили рейки и снимали отсчеты. Изменение высоты при помощи концевых мер проводилось от нуля (пустая площадка), до 200 мм. Шаг изменения высоты: от 0 до 10 мм составлял 0,5 мм; от 10 до 100 мм составлял 10мм; от 100 до 200 мм составлял 20мм; между мерой в 1 мм и 1,5 мм устанавливалась мера в 1,2 мм. Такая методика была использована на каждой из трех нивелируемых точек. Реализованная методика представляет собой нивелирование из середины.
В результате исследования получено, что отклонения в превышениях, определенных нивелиром Н-05 по инварной рейке с 5-ти миллиметровыми делениями, составили порядка 0,2мм. Отклонения в превышениях, определенных нивелиром DiNi 10 по инварной штрих-кодовой рейке, не превышают 0,1мм. Отклонения, определенные нивелиром DiNi 12 по инварной штрих-кодовой рейке, не превышают 0,05 мм. Можно сделать вывод, что нивелир DiNi 12 является более точным.
Методика проведения эксперимента в полевых условиях почти не отличается от методики в лаборатории. Разница лишь в том, что было добавлено расстояние 50м и подобрано максимальное расстояние 86,5м, на котором нивелиры DiNi 10 и DiNi 12 могли отсчитывать по рейке.
Из проведенных исследований вытекают следующие выводы. С ростом расстояния от нивелира до рейки растет и погрешность определения превышения. Максимальная погрешность измерения превышений нивелиром DiNi10 на 3,5м составила 0,2мм, на 13,5м – 0,2мм, на 29,0м – 0,5мм, на 50м – 0,6мм и на 86,5м погрешность достигла 1,2мм. Максимальная погрешность измерения превышений нивелиром DNi12 на 3,5м составила 0,15мм, на 13,5м – 0,25мм, на 29,0м – 0,35мм, на 50м – 0,55мм и на 86,5м погрешность достигла 1,2мм.
Проведенные исследования метода калибровки систем "нивелир – рейка" с помощью концевых мер длины продемонстрировали возможность выявления инструментальной погрешности. В результате исследований выявлены инструментальные погрешности, которые в дальнейшем могут быть учтены при разработке методик и инструкций по нивелированию различных классов.
Результаты поверки и калибровки системы лазерного трекера для измерения превышений. Лазерный трекер (рис.11) является высокоточным средством измерения и, в соответствии с законом о единстве измерений, требует проведения метрологической поверки или калибровки.
Исследование проводилось в соответствии с разработанной в главе 2 методикой. Для исследования был предоставлен лазерный трекер фирмы "FARO". Заявленная фирмой погрешность измерения вертикальной координаты "Z" или превышения составляет 18мкм + 3ppm .
Рис. 11. Лазерный трекер "FARO".
Рис. 12. График погрешностей измерения превышений лазерным трекером.
При такой заявленной погрешности в качестве эталонного средств был выбран растровый измерительный преобразователь с погрешностью 3мкм, а в качестве альтернативного – лазерный интерферометр с погрешностью 1мкм+1ppm. Для исследования погрешности измерения превышения в диапазоне от -450до+450 работа проводилась при двух установках лазерного трекера. Трекер был установлен на расстоянии 200мм от отражателя. Данные условия вызваны тем, что длина растровой меры измерительного преобразователя составляла 200мм.
По результатам исследований был построен калибровочный график (рис. 12) погрешностей измерения превышений лазерным трекером. В результаты поверки были внесены поправки за систе-матическую погрешность хода подвижной каретки. Эти исследования показали, что инструментальная погрешность измерения превышения лазерным трекером не превышает 30 мкм, однако при изменении горизонта инструмента происходит "скачок", это может свидетельствовать о наличие неучтенной погрешности.
ВЫВОДЫ
-
Разработаны методы поверки и калибровки геодезических приборов для измерения вертикальных углов и превышений, позволяющие повысить точность измерений. И использование прецизионных линейных преобразователей и лазерных интерферометров позволяет экспериментально исследовать наличие короткопериодической погрешности поверяемого средства измерения.
-
Разработанные методы и средства поверки и калибровки геодезических приборов позволяют:
-
исследовать короткопериодическую погрешность измерения вертикального угла геодезических приборов – теодолитов, тахеометров;
-
исследовать инструментальную погрешность системы "нивелир – рейка" при помощи растрового измерительного преобразователя;
-
исследовать инструментальную погрешность системы "нивелир – рейка" на компараторе;
-
исследовать инструментальную погрешность системы "нивелир – рейка" с использованием концевых мер длины;
-
провести калибровку координатных систем типа лазерный трекер.
-
На основе разработанных методов и средств поверки и калибровки геодезических приборов для измерения превышений или вертикальных углов разработаны специальные стенды, входящие в состав "Универсального метрологического комплекса МИИГАиК" (УМК-М).
-
На разработанных стендах проведены соответствующие исследования геодезических приборов, которые показали работоспособность, надежность и достаточную точность "Универсального метрологического комплекса МИИГАиК" (УМК-М).
-
По результатам исследований на методику измерений университетом подана заявка на изобретение и получено положительное решение. Получен официальный документ – "Сертификат эталонного средства измерения", что позволит проводить поверки и калибровку геодезических приборов – нивелиров, теодолитов, тахеометров, а также средств измерений в машиностроении, находящихся в эксплуатации в государственных и коммерческих предприятиях, организациях и фирмах.
СПИСОК ОПУБЛИКОВАННЫХ РАБОТ ПО ТЕМЕ ДИССЕРТАЦИИ
-
Голыгин Н.Х. Степочкин А.А. Травкин С.В. Бахарев Е.С.Исследование оптико-электронных геодезических приборов и устройств для аттестации //Изв. вузов. Геодезия и аэрофотосъемка. – 2005. - №5. – С. 123 – 135.
-
Голыгин Н.Х., Травкин С. В., Стенд для аттестации вертикальных угловых измерительных систем геодезических приборов. // Изв. вузов. Геодезия и аэрофотосъемка. – 2006. - №2. – с. 128 – 131.
-
Травкин С. В. Метод определения погрешности измерения превышения высокоточными нивелирами с использованием концевых мер длины //Изв. вузов. Геодезия и аэрофотосъемка.–2006–№3–С.97–100.
-
Бахарев Е.С., Голыгин Н.Х., Травкин С.В., Хиноева О.Б., Ямбаев Х.К. Измерительный комплекс для аттестации угловых и линейных измерительных систем УМК-М//Приборы, 2006,-№5(71). –С. 50-54.
-
Хиноева О.Б., Жданова Е.С., Целикова А.А., Травкин С.В., Исследование угловых измерительных систем геодезических приборов – Сб. научных докладов научно-практической конференции "Научно-техническое творчество молодежи – путь к обществу, основанному на знаниях". Москва, 2006, – С. 246-248.
-
Клименок И.В., Быков К.И., Ласунова Е.А., Травкин С.В., Исследование цифровых нивелиров на компараторе УМК-М – Сб. научных докладов научно- практической конференции "Научно-техническое творчество молодежи – путь к обществу, основанному на знаниях". Москва, 2006, – С. 242-244.
-
Травкин С.В., Ямбаев Х.К., Голыгин Н.Х., Степочкин А.А., Стенд для поверки и калибровки нивелиров и реек, заявка о выдаче патента Российской Федерации на изобретение М кл. G01 с 7/00, № 031539, 10.08.2006.
Характеристики
Тип файла документ
Документы такого типа открываются такими программами, как Microsoft Office Word на компьютерах Windows, Apple Pages на компьютерах Mac, Open Office - бесплатная альтернатива на различных платформах, в том числе Linux. Наиболее простым и современным решением будут Google документы, так как открываются онлайн без скачивания прямо в браузере на любой платформе. Существуют российские качественные аналоги, например от Яндекса.
Будьте внимательны на мобильных устройствах, так как там используются упрощённый функционал даже в официальном приложении от Microsoft, поэтому для просмотра скачивайте PDF-версию. А если нужно редактировать файл, то используйте оригинальный файл.
Файлы такого типа обычно разбиты на страницы, а текст может быть форматированным (жирный, курсив, выбор шрифта, таблицы и т.п.), а также в него можно добавлять изображения. Формат идеально подходит для рефератов, докладов и РПЗ курсовых проектов, которые необходимо распечатать. Кстати перед печатью также сохраняйте файл в PDF, так как принтер может начудить со шрифтами.
















