24937 (654538)
Текст из файла
Содержание
1. Знаки закрепления геодезических сетей.
2. Состав геодезических работ при возведении зданий.
1. Знаки закрепления геодезических сетей
Точки геодезических сетей закрепляют на местности знаками. По местоположению знаки бывают грунтовые и стенные, заложенные в стены зданий и сооружений; металлические, железобетонные, деревянные, в виде откраски и т.д. По значению – постоянные, к которым относятся все знаки государственных геодезических сетей, и временные, устанавливаемые на период изысканий, строительства, реконструкций, наблюдений и т.д.
Постоянные знаки
Постоянные знаки закрепляют подземными знаками – центрами. Конструкции центров обеспечивают их сохранность, и неизменность положения в течение длительного периода времени. Как правило, подземный центр представляет собой бетонный монолит, закладываемый ниже глубины промерзания грунта и не в насыпной массив. У поверхности земли в монолите устанавливают чугунную марку, на которую наносят центр в виде креста или точки. Положению этого центра соответствуют координаты x и y и во многих случаях отметки Н. Для того чтобы с одного знака был виден другой (смежный), над подземными центрами устанавливают наружный знак в виде металлических или деревянных трёх- или четырёхгранных пирамид или сигналов. Пирамиды или сигналы имеют высоту 3…30м и более. Геодезический сигнал с подземным центром и столиком предназначен для установки измерительных приборов и настила для работы на нем наблюдателя. Верх сигнала или пирамиды заканчивается визирной целью, на которую столик устанавливают также отражатель, если расстояние между пунктами измеряют светодальномером. Для спутниковых измерений сигналы и пирамиды строить не надо.
Как правило, пункты разбивочных сетей и сетей сгущения закрепляют подземными центрами, такими же, как и пунктами не требуется. Иногда над ними устанавливают Г- образные металлические или деревянные вехи. В городах знаки могут закладывать в зданиях и сооружениях, в этом случае их называют стенными. Государственные высотные сети всех классов закрепляют на местности грунтовыми реперами. Стенные реперы закрепляют в фундаментах устойчивых сооружений – водонапорных башен, капитальных зданий, каменных устоев мостов мостов и т.д.. В стенных реперах высоту определяют для центра отверстия в сферической головке.
Временные знаки
Точки съёмочных, а иногда и разбивочных сетей закрепляют временными знаками – деревянными или бетонными столбами, металлическими штырями, отрезками рельсов и т.д. на рисунках показаны образцы.
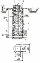
Рис.1 Закрепление основных или главных разбивочных осей здания свыше 5 этажей, сооружения высотой свыше 15м с продолжительностью строительства до 0,5 года.
1 - деревянная крышка; 2 - металлическая пластина размером 200´200´10 мм; 3 - металлическая труба Æ30 мм; 4 - якорь; 5 - бетон класса В7,5; 6 – песок.
1 - металлическая пластина размером 200´200´15 мм; 2 - заклепка из металла; 3 -анкер Æ 15 мм; 4 - металлическая труба Æ 50-70 мм; 5 - бетон классов В7,5 - В12,5; 6 - якорь; 7 - песок; 8 - два слоя рубероида РЧ = 320;h1 соответствует наибольшей глубине промерзания грунта; h2 определяется по таблице
Рис. Закрепление разбивочных осей на скалах и бетоне
1 - дюбель-гвоздь; 2 - скала, бетон; 3 - обозначение знака (откраска)
Рис. Закрепление разбивочных осей линейных сооружений.
а, б - геодезические знаки; в - схема закрепления знаков разбивочных осей; 1 - временный знак из дерева или металла Æ 15-30 мм; 2 - опознавательная веха Æ 50 - 80 мм; 3 - постоянный знак из дерева Æ 100 мм или металла Æ 80 мм. Их закрепляют в земле на глубину до 2м.
В верхней части такого знака крестом, точкой или риской отмечают местоположение центра или точки с высотной отметкой. При продолжительности использования (более полугода) временные знаки закладывают на глубину 0,5 м (минимальное расстояние до подземных коммуникаций от поверхности грунта принято 0,7м). При наличии твердого покрытия и отсутствии интенсивного движения транспорта используют штыри из отрезков арматуры и труб, деревянные столбики рис.2. В процессе строительства на возведенных конструкциях и близрасположеных зданиях высоты и створы осей фиксируют отрасками.
2. Состав геодезических работ при возведении зданий
К зданиям относятся жилые, общественные, производственные здания. В группу производственных зданий входит и часть сооружений: здравоохранения (бальнео- и грязелечебницы и т.п.), физкультурно-оздоровительные и спортивные (скрытые и крытые стадионы, оздоровительные площадки и т. п.) Жилые здания включают в себя: квартирные дома различной этажности, протяженности и конфигурации, дома для престарелых, инвалидов, общежития и т.д. В жилых зданиях могут быть предусмотрены нежилые (нетиповые) этажи, хозяйственные постройки и помещения. Инженерное оборудование жилых домов включает в себя: лифты (в зданиях с планировочной отметкой пола верхнего этажа от земли свыше 14 м); хозяйственно-питьевое, противопожарное и горячее водоснабжение; канализацию, водостоки, отопление; вентиляцию; электротехнические устройства (электроосвещение, силовое электрооборудование, телефонизацию, радиофикацию, телевизионные антенны, домофоны и др.). Общественные здания включают в себя следующие группы зданий: для образования, воспитания и подготовки кадров; научно-исследовательские, проектные, управленческие и общественные организации; здравоохранения и отдыха; физкультурно-оздоровительные; культурно-просветительские и зрелищные; торговли, общественного питания и бытового обслуживания; для транспорта; предназначенные для непосредственного обслуживания населения, коммунального хозяйства и др. В перечисленных группах зданий существует ряд более мелких делений на типы зданий. Отличаются они, главным образом, конфигурацией и этажностью. Инженерное оборудование общественных зданий в основном то же, что и в жилых. Производственные здания включают в себя здания заводов, фабрик и других промышленных предприятий и характеризуются большими модульными размерами пролетов, шагов колонн, высот этажей. Как правило, производственные здания связываются технологическими сборочными линиями. Нередко внутри зданий прокладываются железнодорожные пути, галереи, площадки и лестницы для обслуживания грузоподъемных кранов, световые фонари на крышах. K сооружениям специального назначения относятся: подземные и надземные емкости для хранения жидкостей и газов, гидротехнические, транспортные и др. Инженерное оборудование производственных зданий включает в себя систему приборов, аппаратов, машин, коммуникаций, обеспечивающих подачу и отвод жидкостей и газов, электроэнергии и др.
По конструктивным признакам здания бывают: каменно-кирпичные; монолитные, возводимые из монолитного железобетона в скользящей, секционно-переставной и щитовой опалубках; крупноблочные, возводимые из блоков, изготовляемых индустриальным методом; крупнопанельные, когда стеновые и внутренние панели, а также панели перекрытий являются несущими элементами конструкции; каркасные, когда основными несущими элементами служат колонны, ригели и плиты перекрытий; объемно-блочные, когда конструкция здания формируется из объемных элементов полной заводской готовности (комнаты, санузлы и т.п.). По конфигурации здания возводятся: односекционные (один подъезд), удлиненные (свыше двух секций) и сложной конфигурации, включая круглые здания, здания с разворотом и смещениями секций. Геодезические работы в гражданском строительстве можно рассматривать как комплекс измерений, вычислений и построения на чертежах и в натуре, обеспечивающих, во-первых, правильное и точное размещение зданий и сооружений и, во-вторых, возведение их конструктивных элементов в соответствии с геометрическими параметрами проекта и требованиями нормативных документов. Решение этих задач осуществляется поэтапно, в зависимости от стадий строительно-монтажного производства, начиная с принятия решения о проведении строительства объекта и заканчивая его сдачей. Можно выделить следующие этапы производства геодезических работ.
Выбор площадки под строительство:
сбор, анализ и обобщение материалов.
Строительное проектирование:
Топографо-геодезические изыскания; Геодезическое обеспечение других видов изысканий; Обеспечение строительного проектирования дополнительными исходными данными. Изготовление строительных конструкций: Контроль за соблюдением геометрических параметров элементов, в которых формируются строительные конструкции; статистический контроль геометрических параметров изготовленных строительных конструкций.
Подготовительный период строительства:
Создание геодезической разбивочной основы; Инженерная подготовка территории, включающая в себя планировочные работы, прокладку подземных коммуникаций и подъездных дорог;
Основной период строительства:
вынос в натуру осей конструктивных элементов; геометрическое обеспечение строительно-монтажного производства при возведении подземных и надземных частей зданий; исполнительная съёмка законченных строительством элементов и составление исполнительной документации; подготовка комплекта исполнительной геодезической документации к сдаче. Окончание строительства: Составление и сдача технического отчёта о результатах, выполненных в процессе строительства геодезических работ; Составление исполнительного генерального плана, специальных исполнительных инженерных планов, профилей, разрезов.
3
Характеристики
Тип файла документ
Документы такого типа открываются такими программами, как Microsoft Office Word на компьютерах Windows, Apple Pages на компьютерах Mac, Open Office - бесплатная альтернатива на различных платформах, в том числе Linux. Наиболее простым и современным решением будут Google документы, так как открываются онлайн без скачивания прямо в браузере на любой платформе. Существуют российские качественные аналоги, например от Яндекса.
Будьте внимательны на мобильных устройствах, так как там используются упрощённый функционал даже в официальном приложении от Microsoft, поэтому для просмотра скачивайте PDF-версию. А если нужно редактировать файл, то используйте оригинальный файл.
Файлы такого типа обычно разбиты на страницы, а текст может быть форматированным (жирный, курсив, выбор шрифта, таблицы и т.п.), а также в него можно добавлять изображения. Формат идеально подходит для рефератов, докладов и РПЗ курсовых проектов, которые необходимо распечатать. Кстати перед печатью также сохраняйте файл в PDF, так как принтер может начудить со шрифтами.















