24766 (654438), страница 6
Текст из файла (страница 6)
Бульдозеры применяться при заработки талых и мерзлых пород до V категории и после предварительного механического или буровзрывного рыхления. При мощности россыпи до 10 м и более, растоинии транспортирования породы до 150 м, и угле подъема до 180.
Из выше перечисленных способов наиболее подходящим для разработки россыпного месторождение «Вача» является бульдозерный.
Бульдозерный способ разработки удовлетворяет всем параметрам и характеристикам месторождения. Так крепость пород по СНИПу на месторождении составила IV. А при использования бульдозеров и механического рыхления породы данным способом возможна разработка пород до V категории, средняя мощность пласта (с учетом предохранительной рубашки и задирки) не превышает 3 м. Расстояние транспортирование песков бульдозерами также не будет превышать максимальной рациональной для бульдозеров т. к. используется вывоз песков их разреза автосамосвалами.
3.1.3 Режим работы и
производственная мощность предприятия
Режим организации работ карьера раздельной добычи “Вача”:
сезонный с вахтовыми условиями труда, непрерывной рабочей неделей в две смены продолжительностью по 12 часов из которых: обед-1час, плановые предупредительные работы-1 час, два перерыва для отдыха по 15 минут.
Продолжительность сезона для различных видов работ, принимается из графика годового распределения среднемесячных температур наружного воздуха по району (смотри рисунок 1.1):
-
продолжительность буровзрывных работ 290 суток;
-
продолжительность вскрышных работ 260 суток с 20 марта по 26 ноября;
-
продолжительность промывочных работ 150 суток с 3 мая, по 11 октября.
Производительность карьера определяется исходя из запасов песков, способа разработки и производительности промприбора.
Средне годовая производительность карьера по вскрыше торфов составит:
где АП/П – среднегодовая производительность промприбора, Аn =114000 м3 (смотри таблицу 3.1);
n – количество промывочных приборов, n=2 шт.;
Кв – коэффициент вскрыши, Кв=8,2
Годовая производственная мощность карьера
А= Ат +( АП/Пּ n) = 1722000+(105000ּ 2)= 1932000 м3 (3.3)
Срок отработки россыпи составит:
N = Vп / (Ап/пּ 2)= 1036800 / (105000ּ2) = 5 (3.4)
Производственная мощность предприятия обеспечивается следующим оборудованием: промывочными приборами ПГШ – II – 50 (2 шт.), экскаватором КАТО-1500GV, бульдозерами D 355 A (2 шт.) и Т-170 (2 шт.), буровым станком 2СБШ-250 МН, автосамосвалами БелАЗ –540А (3 шт.), экскаватором ЭШ 15 / 90А.
3.2 Осушение россыпи
Цель осушения месторождения заключается в следующем: отвод избытка воды с поверхности осушаемой территории; понижение уровня грунтовых вод и уменьшения влажности залежи; обеспечение прочной опоры для используемой техники при разработке.
Сооружения для отвода поверхностных и подземных вод подразделяют на две группы:
1 Поверхностные (канавы, котлованы);
2 Подземные (штреки, горизонтальные скважины).
В зависимости от назначения канавы делятся на руслоотводные, нагорные, водосборные и капитальные (водосточные).
Способы осушения заключается в проведении следующих мероприятий:
-
отвод русла рек из карьерного поля;
-
ограждение карьера от поверхностных весенних и ливневых вод.
Отвод русла реки за промышленный контур россыпи в проекте не предусматривается, так как р. Вача находится за пределами россыпи.
Для атмосферных осадков, которые попадают в карьер и для вод талых пород сооружаем дренажную канаву.
Капитальная траншея обеспечивает доступ к вскрышным и добычным уступам.
Продольный уклон россыпи составил 0,0003, а поперечный уклон россыпи 0,045.
Продольный и поперечный уклон россыпи значительно большие, следовательно, вода будет собираться в углу нижней части россыпи, а дальше будет проходить по капитальной траншее. В траншее будет проходить дорога с уклоном 30 0/00 , при количестве атмосферных и талых вод 0,005 м3/с вода будет проходить по обочине и не будет препятствовать движению.
Длина капитальной траншеи принята 334 м .
Водосборная канава служит для сбора атмосферных осадков и для вод талых пород, которые попадают в карьер, а затем переходит в водосточную канаву.
Длина водосборной канавы будет равна длине капитальной траншеи,
Lк = 334 м.
В траншее будет проходить дорога с уклоном 30 0/00 , при количестве атмосферных и талых вод 0,005 м3/с вода будет проходить по обочине и не будет препятствовать движению.
Для отвода поверхностных вод, стекающих в карьер с более возвышенных мест в период весеннего снеготаяния и после ливневых дождей, проводят нагорные канавы.
Скорость течения воды в канаве определяется из того что скорость течения воды в канаве (v) не должна превышать размывающею скорость (vРАЗМ) и не должно быть меньше скорости течение при которой происходит заиливание канавы (vЗАИЛ).
Высота потока в канаве определяется:
где Q10 – 10% обеспеченность стока, максимальная, Q10=1,75 м3/с;
β – ширена отвала бульдозера, β=3,2 м;
vРАЗМ – скорость размыва, vРАЗМ =2,04.
где α – коэффициент крупности наносов, α=0,5.
Площадь сечения канавы определяется:
где b – ширена канавы по дну, b=3,2 м;
m – заложение откосов, m=1 (450);
h – высота канавы, определяется путем подбора.
Смоченный период определяется:
Гидравлический радиус канавы определяется как:
Коэффициент Шизи определяется:
где п – коэффициент шероховатости канавы, п=0,018;
у – эмпирический коэффициент, у=0,167.
Уклон канавы определяется:
Расход воды определяется как:
Расчет проведен для высоты потока в канаве равной 0,5 м. Аналогичный расчет проводим для высот 0,4; 0,3 и 0,2 м. Результаты заносим в таблицу 3.1.
Таблица 3.1 – Расчет параметров нагорной канавы
| № | b, м. | h, м | w, м2 | х, м | R, м | С | i | Q, м3/с |
| 1 | 3,2 | 0,5 | 1,8 | 4,4 | 0,4 | 47,7 | 0,002 | 2,4 |
| 2 | 3,2 | 0,4 | 1,68 | 4,1 | 0,35 | 46,6 | 0,002 | 1,77 |
| 3 | 3,2 | 0,3 | 1,44 | 3,8 | 0,3 | 45,4 | 0,002 | 1,16 |
| 4 | 3,2 | 0,2 | 1,05 | 3,6 | 0,2 | 42,5 | 0,002 | 0,56 |
Далее строим график зависимость расхода воды в канаве от высоты потока воды в канаве, см. рис 3.1.
Рисунок 3.1 - График зависимость расхода воды в канаве от высоты потока
воды в канаве.
Из графика видно, что при данном расходе воды 1,75 м3/с высота потока воды в канаве буде равна 0,39 м.
К полученной высоте потока прибавляем необходимую безопасную высоту.
где ε – необходимый надводный борт, по ТБ, ε = 0,45 м.
Таким образом, глубина нагорной канавы будет равна 1 м.
Определяем объем нагорной канавы:
где ВПОВ, ВПОН – ширина канавы поверху и понизу соответственно, ВПОВ=5,2 и ВПОН=3,2;
L – длина нагорной канавы (принята с проекта), L=1950 м.
Рисунок 3.2 – Сечение нагорной канавы.
Затраты на проведение нагорной канавы определяются как:
где ЦБ170 – стоимость затрат на 1 м3 для бульдозера Т 170, ЦБ170 = 9,3 руб. (см. табл. 3.15) .
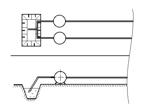
Осушение карьера в случае ливневых вод предусмотрено водоотливной установкой состоящей из двух грунтовых насосов ГРТ 400/40.
Выбор насосной установки:
где zСУТ – максимальная суточная норма осадков, zСУТ = 0,06 м;
SВС – площадь водосбора, SВС = 262500 м2.
Таким образом выбор насосной установки необходимо проводить исходя из максимального водопритока в час, из этого условия выбирается грунтовый насос ГРТ 400/40 в количестве 2 шт., суммарной производительностью 800 м3/ч.
Насосы располагаются параллельно, такая комбинация позволяет увеличить производительность насосов до 800 м3/ч (суммарно), а напор оставить прежним 40 м.
Схематично соединение насосов показано на рисунке 3.3.
Рисунок 3.3 – Схема соединения насосов ГРТ 400/40
-
Вскрытие месторождения
Работы по вскрытию включает совокупность работ, проводимых с целью создания доступа к горизонту залежи, т.е. обеспечения непосредственной транспортной связи этого горизонта с поверхностью и размещения горных машин.
Вскрытие состоит из проведения горных выработок или строительства специальных сооружений (выносных канав, котлованов, выездов, траншей, плотин).
При экскаваторной разработке вскрытие россыпи осуществляется двумя способами: без проведения выработок и с независимым вскрытия отдельных горизонтов.
При вскрытии без проведения выработок оборудования располагается на поверхности россыпи и используется как для вскрышных, так и для добычных работ.
При независимом вскрытии горизонтов используют две технологические схемы: транспортная и бестранспортная. При бестранспортной разработке выработки проводятся, только если экскаватор производит вскрытие без применения транспортных средств. На экскаваторных разработках с применением транспорта работы по вскрытию включает проведения траншей, устройство выездов, сооружения насыпей и съездов, планировку площадок для экскаваторов и транспортных средств. При этом способе россыпь разрабатывается одним или несколькими уступами (в зависимости от мощности россыпи).
Проектом принят независимое вскрытие отдельных горизонтов с применением транспортной технологии.
-
Схема вскрытия
Схема вскрытия карьерного поля включает в себя капитальную траншею и четыре разрезных траншеи. Четыре разрезные траншеи необходимы для вскрытия исходи из условия экскавации торфов. Вскрытие месторождения производиться экскаваторам ЭШ 15/90 А. Экскаватор проходит разрезную траншею №1, после того как из неё будет убран и вывезен золотоносный пласт песков, она засыпается торфами разрезной траншеи №2, так как предусмотрено расположение отвалов вскрыши в отработанное пространство. И так далее, разрезная траншея №2 засыпается торфами из №3, а та в свою очередь из №4. При этом достигается низкий коэффициент переэкскавации kПЕР=0,2, так же уменьшаться работы по рекультивации нарушенных земель
Сменная норма выработки экскаватора ЭШ 15/90 А определяется из выражения:













