74144-1 (652824)
Текст из файла
Добыча нефти с помощью насосов
По статистике только чуть более 13% всех скважин в России эксплуатируются фонтанным и газлифтным способами (Хотя эти скважины дают более 30% всей российской нефти). В целом статистика по способам эксплуатации выглядит так:
| Способ эксплуатации | Число скважин, % | Средний дебит, т/сут | Добыча, % от общей | ||
| нефти | жидкости | нефти | жидкости | ||
| Фонтанный | 8,8 | 31,1 | 51,9 | 19,5 | 9,3 |
| Газлифтный | 4,3 | 35,4 | 154,7 | 11,6 | 14,6 |
| УЭЦН | 27,4 | 28,5 | 118,4 | 52,8 | 63,0 |
| ШСН | 59,4 | 3,9 | 11,0 | 16,1 | 13,1 |
| Прочие | 0,1 | - | - | - | - |
ШСН – Штанговые скважинные насосы;
УЭЦН – установки центробежных электронасосов.
Эксплуатация скважин штанговыми насосами
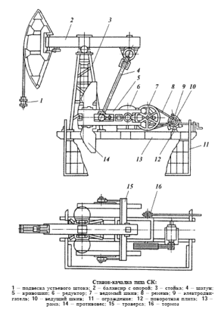
Вообще, у обывателя при разговоре о нефтяном деле всегда появляется образ двух станков: первый из них – это буровой станок, второй – станок-качалка. Изображения этих двух устройств встречаются всюду в нефтегазовой отрасли: на эмблемах, плакатах, гербах нефтяных городов и пр. Поэтому, я думаю, что внешний вид станка-качалки известен всем. Все же, на всякий случай, вот как выглядит станок-качалка.
Рисунок 15.1.
Если кто не видел такое устройство в жизни, то в кино уж точно встречал.
Станок-качалка и есть один из элементов эксплуатации скважин штанговым насосом. По сути, станок-качалка является приводом штангового насоса, расположенного на дне скважины. Этот насос по принципу действия очень похож на ручной насос велосипеда, который возвратно-поступательные движение преобразует в поток воздуха. Нефтяной насос возвратно-поступательные движения от станка-качалки преобразует в поток жидкости, которая по насосно-компрессорным трубам (НКТ) поступает на поверхность.
Если уж по порядку описать происходящие процессы при данном виде эксплуатации, то получится следующее:
На электродвигатель станка-качалки подается электричество. Двигатель вращает механизмы станка-качалки так, что балансир станка начинает двигаться как качели и подвеска устьевого штока получает возвратно-поступательные движения. Далее энергия передается через штанги – длинные стальные стержни, скрученные между собой специальными муфтами. В свою очередь от штанг энергия передается штанговому насосу, который захватывает нефть и подает ее наверх.
Эксплуатация скважин штанговыми насосами характерна тем, что к добываемой нефти не предъявляются строгие требования, которые имеют место при других способах эксплуатации, такие как наличие мех.примесей, высокий газовый фактор и пр. Так же данный способ эксплуатации отличается достаточно высоким КПД.
В России изготавливаются станки-качалки 13 типоразмеров по ГОСТ 5688-76. Штанговые насосы производят ОАО «Элкамнефтемаш» г.Пермь и ОАО «Ижнефтемаш» г.Ижевск.
Эксплуатация скважин бесштанговыми насосами.
Для отбора из скважин больших количеств жидкости используют лопастный насос с рабочими колесами центробежного типа, обеспечивающий большой напор при заданных подачах жидкости и габаритах насоса. Наряду с этим, в нефтяных скважинах некоторых районов с вязкой нефтью необходима большая мощность привода относительно подачи. В общем случае эти установки носят название электропогружные электронасосы. В первом случае — это установки центробежных электронасосов (УЗЦН), во втором — установки погружных винтовых электронасосов (УЗВНТ).
Скважинные центробежные и винтовые насосы приводятся в действие погружными электродвигателями. Электроэнергия подводится к двигателю по специальному кабелю. Установки ЭЦН и ЭВН довольно просты в обслуживании, так как на поверхности имеются станция управления и трансформатор, не требующие постоянного ухода.
При больших подачах УЭЦН имеют достаточный КПД , позволяющий конкурировать этим установкам со штанговыми установками и газлифтом.
При этом способе эксплуатации борьба с отложениями парафина проводится достаточно эффективно с помощью автоматизированных проволочных скребков, а также путем нанесения покрытия внутри поверхности НКТ.
Межремонтный период работы УЭЦН в скважинах достаточно высок и составляет до 600 сут.
Скважинный насос имеет 80—400 ступеней. Жидкость поступает через сетку в нижней части насоса. Погружной электродвигатель маслозаполненный, герметизированный. Во избежание попадания в него пластовой жидкости устанавливается узел гидрозащиты. Электроэнергия с поверхности подается по круглому кабелю, а около насоса — по плоскому. При частоте тока 50 Гц частота вращения вала двигателя синхронная и составляет 3000 мин(-1).
Трансформатор (автотрансформатор) используют для повышения напряжения тока от 380 (напряжение промысловой сети) до 400— 2000 В.
Станция управления имеет приборы, показывающие силу тока и напряжение, что позволяет отключать установку вручную или автоматически.
Колонна НКТ оборудуется обратным и сливным клапанами. Обратный клапан удерживает жидкость в НКТ при остановках насоса, что облегчает запуск установки, а сливной освобождает НКТ от жидкости перед подъемом агрегата при установленном обратном клапане.
Для повышения эффективности работы для вязких жидкостей скважинные винтовые насосы с погружным электродвигателем. Установка скважинного винтового насоса, подобно установке ЭЦН, имеет погружной электродвигатель с компенсатором и гидрозащитой, винтовой насос, кабель, обратный и сливной клапаны (встроенные в НКТ), оборудование устья, трансформатор и станцию управления. За исключением насоса, части установки идентичны.
Список литературы
Для подготовки данной работы были использованы материалы с сайта http://ngfr.ru/
Характеристики
Тип файла документ
Документы такого типа открываются такими программами, как Microsoft Office Word на компьютерах Windows, Apple Pages на компьютерах Mac, Open Office - бесплатная альтернатива на различных платформах, в том числе Linux. Наиболее простым и современным решением будут Google документы, так как открываются онлайн без скачивания прямо в браузере на любой платформе. Существуют российские качественные аналоги, например от Яндекса.
Будьте внимательны на мобильных устройствах, так как там используются упрощённый функционал даже в официальном приложении от Microsoft, поэтому для просмотра скачивайте PDF-версию. А если нужно редактировать файл, то используйте оригинальный файл.
Файлы такого типа обычно разбиты на страницы, а текст может быть форматированным (жирный, курсив, выбор шрифта, таблицы и т.п.), а также в него можно добавлять изображения. Формат идеально подходит для рефератов, докладов и РПЗ курсовых проектов, которые необходимо распечатать. Кстати перед печатью также сохраняйте файл в PDF, так как принтер может начудить со шрифтами.















