14390 (648411), страница 3
Текст из файла (страница 3)
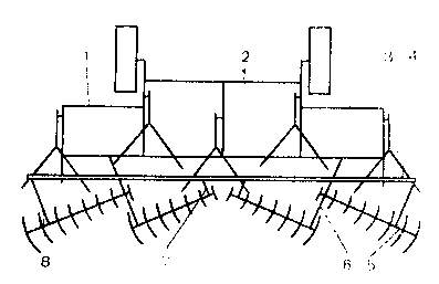
рис. 9
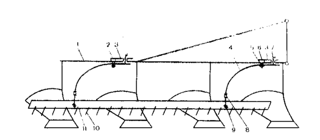
рис. 11
рис. 12
Техническая характеристика комбинированной почвообрабатывающей машины
Ширина захвата, м 4
Рабочая скорость, км/ч 8…15
Производительность, га/ч 4…5
Масса удельная, кг/м 180
Тяговый класс трактора, кН 1,4
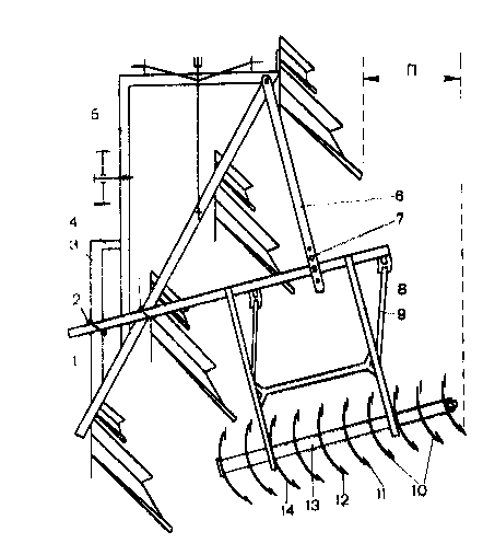
Борона дискозубовая коническая с коэффициентом унификации, равным 0,94, сконструирована на основе секции серийно выпускаемых дисковых лущильников ЛДГ-5, ЛДГ-10, ЛДГ-15, на базе которых созданы бороны шириной захвата 5, 10, 15 м. Собранные дискозубовые секции бороны имеют форму лежащего на боку усечённого конуса. Диски каждой секции имеют разный диаметр, уменьшаясь на 15 мм постепенно с 450 до 330 мм (рис. 13). К дискам двумя болтами М10×35 прикреплены зубья длиной 60 мм от борон «Зигзаг». Количество их выбрано так, чтобы сохранить примерно равную длину дуги режущей части диска между зубьями.
рис. 13
Техническая характеристика конической дискозубовой бороны на базе лущильника ЛДГ-10
Ширина захвата на лугах при угле атаки 15°, м 11,5
Ширина захвата на зяби при угле атаки 30°, м 10,0
Рабочая скорость, км/ч 8…18
Производительность, га/ч 8…15
Удельная металлоёмкость, кг/м 240
Масса одной секции без учёта рамы, кг 120
Ширина захвата одной секции с девятью дисками, м 1,4
Используя отдельные секции дискозубовой конической бороны, составляют следующие комбинированные почвообрабатывающие машины с энергосберегающими режимами агрегатов (рис. 14 – 18).
На пахотных агрегатах число дисков на бороне доводят до 10 (диаметр меньшего диска 330 мм), а тип отвалов корпусов плугов выбирают в зависимости от принятой основной обработки почвы. Весьма эффективно применение в таком сочетании корпусов Т.С.Мальцева. Угол атаки секций конических борон равен 30°.
Комплектование плугов коническими боронами наиболее желательно при вспашке дернины и глыбистой почвы. На рисунке 12 буквой П показано перекрытие предыдущего прохода для обеспечения слитности поверхности поля. На 8-м и 9-м корпусных плугах устанавливают две дискозубовые секции (рис. 13).
Дискозубовая коническая борона удобна и эффективна со всеми видами плоскорезов. Для совмещения основной плоскорезной обработки с поверхностной (рис. 14) квадратный вал секции лущильника удлиняют на 800 мм и дополнительно устанавливают четыре диска (рис. 15), что позволяет использовать агрегат вместо плуга, одновременно заделывая органику, и применять такой агрегат также и под раннюю зябь.
Орудие для снегозадержания используют на посевах при малой толщине снежного покрова, когда известными снегопахами нельзя или невозможно проводить накопление снега.
рис. 14
рис. 15
рис. 16 рис. 17
Для составления этого агрегата нет необходимости в новых органах, а достаточно иметь либо сцепку СП-11, либо раму дискового лущильника ЛДГ-5, либо ЛДГ-10 и шарнирно присоединить к одной из них батареи дисковых катков с двусторонней конической поверхностью от сеялок СЗП-3,6 или СЗП-2,1 (рис. 19).
рис. 18
Техническая характеристика орудия для снегозадержания
Ширина захвата, м 6,7
Рабочая скорость, км/ч 6…8
Тяговый трактор МТЗ-82, Т-150К
Картофелекопатель для сложных почвенно-климатических условий с коническими сепараторами. Новые сепараторы, которыми снабжен серийный картофелекопатель КТН-2Б, основаны на принципе работы конической бороны: пальцы-ворошилки совершают движение с различной окружной скоростью по длине конического барабана, поэтому легко расчленяют слитную массу
рис. 19 тяжелосуглинистой почвы, подаваемой лемехами. Сепараторы устанавливают в следующем порядке: вначале рассеивающий, диаметр пальцев которого уменьшается от середины к краям от 190 до 150 мм, затем собирающий сепаратор, длина пальцев которого уменьшается в обратном направлении – от края к центру. Пальцы двух сепараторов при встречном движении заходят друг за друга. Это необходимо для разбивания выкопанного пласта. Чтобы не повредить клубни, пальцы изгибают по архимедовой спирали и на них надевают резиновые шланги. Валы с подшипниками и приводные цепи шагом 25,4 мм, а также приводные звёздочки для сепараторов с числом зубьев 25 и 22 заимствуются от комбайна «Дружба». Диаметр прутиков для пальцев – 12 мм. Лонжероны рамы картофелекопателя усиливают двумя дополнительными уголками 65×40 мм, длиной 900 мм. Межцентровое расстояние первого сепаратора от задней звёздочки подъемного элеватора – 400 мм, а между двумя сепараторами – 350 мм. Для того чтобы в процессе сепарации клубни не забрасывались в соседние рядки, сверху сепараторы покрывают пологом.
Техническая характеристика переоборудованного картофелекопателя
Ширина захвата, м 1,4
Рабочая скорость, км/ч 6…8
Производительность, га/ч 0,9
Число пальцев на одном роторе 48
Число рядов пальцев на роторе 12
Шаг цепей, мм 25,4
Организационная структура внедрения в производство настоящих рекомендаций, как показал опыт, следующая:
изготовление и испытание образцов рабочих органов и орудий для поверхностной обработки почвы в передовом хозяйстве;
проведение районного семинара с демонстрацией агрегатов в работе для главных специалистов хозяйств;
изготовление и внедрение агрегатов в каждом хозяйстве района под контролем специалистов РАПО;
проведение научно-технического совета МСХ республики или области;
внедрение рабочих органов и орудий для поверхностной обработки почвы в республиканском (областном) масштабе с проведением республиканского семинара главных специалистов всех районов, с привлечением республиканской печати, радио, телевидения, с рассылкой инструкции по изготовлению в каждое хозяйство;
отчетность в МСХ РСФСР об изготовлении и внедрении приспособлений на конкретных площадях.
Экономическая эффективность технологий и технических средств поверхностной обработки почвы
Экономическая эффективность рекомендуемых средств определяется повышением урожая сельскохозяйственных культур без учета снижения эксплуатационных затрат.
Комбинированная почвообрабатывающая машина. Эффективность ее применения показана в таблице 8 (результаты по совхозу «Новоматнский» Бакалинского района Башкирской АССР, 1982 г.)
Таблица 8
Эффективность предпосевной подготовки почвы под различные культуры комбинированной почвообрабатывающей машиной
| Культура | Предпосевная обработка почвы | Прибавка урожая, ц/га | Площадь, га | ||
| Комбинированным культиватором | КПС-4+4БЗСС-1 | ||||
| Урожайность, ц/га | |||||
| Свекла кормовая Эккендорфская желтая | 260 | 230 | 30 | 83 | |
| Кукуруза, зелёная масса | 165 | 154 | 11 | 620 | |
| Пшеница яровая Московская 35 | 25,0 | 23,8 | 1,2 | 860 | |
| Горох Чишминский 242 | 11,2 | 7,9 | 3,1 | 977 | |
| Ячмень Носовский 9 | 25,2 | 23,9 | 1,3 | 600 | |
| Овёс Астор | 26,1 | 24,7 | 1,4 | 710 | |
| Гречиха Бирская | 2,8 | 1,9 | 0,9 | 45 | |
| Вика Льговская | 23 | 21,3 | 1,7 | 50 | |
Борона дискозубовая коническая. Поскольку главное назначение новой бороны – улучшение качества боронования многолетних трав перед поливом, то эффективность ее определяем по прибавке урожая зелёной массы многолетних трав, полученной в производственных опытах в ОПХ «Центральное» Лаишевского района Татарской АССР (рассмотрены варианты по люцерне за два укоса), ц/га:
без боронования 246,6
3 БЗТС-1 267,0
БИГ-3 276,95
Коническая борона 348,75
Если взять, что средняя урожайность люцерны при обработке почвы 3 БЗТС-1 и БИГ-3 составляет 272 ц/га, то превышение урожайности при обработке конической бороной составляет 348,75 – 272,0=76,8 ц/га, или 12,3 ц корм. ед. (в 1 ц зелёной массы люцерны содержится 0,16 ц корм. ед.) Себестоимость 1 ц зелёной массы люцерны 1,44 руб. Следовательно, сумма от прибавки урожая с 1 га люцерны без учёта снижения себестоимости равна: 1,44 руб.×76,8 ц/га=110,6 руб/га. Прибыль на площади 3945 га составила 99 243 руб., или 25 руб/га.
Орудие комбинированного снегозадержания. Эффективность определена в ОПХ «Столбищенское» Лаишевского района ТАССР по стоимости зерна погибших озимых культур. При норме высева озимой ржи 1,8 ц/га и себестоимости 13 руб/ц средний экономический эффект от предотвращения гибели озимых от вымерзания составляет 1,8×13=23,4 руб/га.
Картофелекопатель для сложных почвенно-климатических условий на производственных опытах в колхозе «Ленин Юлы» Бавлинского района ТАССР показал следующий результат в сравниваемых вариантах на переувлажненной тяжелосуглинистой почве, ц/га:
копка серийной копалкой КТН-2Б 78
копка опытной копалкой 120
За счёт снижения потерь при новом способе копки картофеля (42 ц/га) и себестоимости 1 ц картофеля 12 руб. экономический эффект составляет 42 ц×12 руб.=504 руб/га.
Общая агротехническая, эксплуатационная, экономическая эффективность базовых почвообрабатывающих машин ТатНИИСХ предоставлена в таблицах 9 – 14.
Таким образом, рекомендуемые технологии поверхностной обработки почвы и технические средства для их выполнения имеют значительные преимущества перед существующими и возможно их применение в более широких масштабах в сложных почвенно-климатических условиях Поволжья, Урала и других зон.
Таблица 9
Сравнение рабочих показателей культиваторов (по данным Поволжской МИС)
| Показатель | Комбинированный культиватор КПС-4К | КПС-4+4БЗСС-1 | КШУ-12 |
| Агрегатируется | МТЗ-80 | МТЗ-80 | Т-150К |
| Ширина захвата, м | 4 | 4 | 12 |
| Рабочая скорость, км/ч | 7,8…10,4 | 7,5…9,9 | 8,0…9,8 |
| Загрузка двигателя, % | 63 | 66 | 61 |
| Производительность, га/ч | 3,73 | 3,48 | 9,2…11,36 |
| Тяговое сопротивление, кН | 8,0 | 8,54 | 19,79 |
| Масса, кг | 876 | 882 | 3210 |
| Удельная металлоёмкость, кг/м | 219 | 220,5 | 267,5 |
| Гребнистость, см: | 0…0 | 4,9 | 3,7 |
| на второй культивации | 2,1…1,9 | 4,7…3,4 | 4,4…4,1 |
| на третьей культивации | |||
| Подрезание сорняков, % | 100 | 100 | 100 |
| Выравненность, % | 98 | 95 | 96 |
| Глубина обработки поперёк хода, см | 10,6 | 10,3 | 10,7 |
| Среднее квадратическое отклонение, см | 1,15 | 1,15 | 1,15 |
| Глубина обработки по ходу, см | 10,6 | 10,3 | 10,7 |
| Среднее квадратическое отклонение, см | 0,75 | 1,15 | 1,30 |
| Крошение, % | |||
| на второй культивации | 84 | 79,2 | 78,9 |
| на третьей культивации | 96,9 | 95,7 | 94,2 |
| Глыбы свыше 100 мм, % | 0,0 | 2,7 | 5,0 |
| (вторая культивация) | |||
| Плотность почвы в слоях, см: | |||
| до прохода | |||
| 0…5 г/см² | 1,29 | 1,29 | 1,29 |
| 5…10 г/см² | 1,19 | 1,19 | 1,19 |
| после прохода: | |||
| 0…5 г/см² | 1,25 | 1,18 | 1,24 |
| 5…10 г/см² | 1,17 | 1,10 | 1,05 |
Таблица 10















