diplom (647897), страница 6
Текст из файла (страница 6)
В целях безопасности загрузку сырья и взятие пробы следует производить только после остановки мешалки. Во время работы ее резервуар должен быть закрыт решеткой.
Наибольшей плотности и монолитности фарша можно достигнуть при перемешивании фарша под вакуумом. Для этой цели используют вакуумные фаршемешалки, корыто которых закрыто крышкой, имеющей резиновые уплотнители для создания герметичности при откачке воздуха.
На ряде мясокомбинатов для приготовления фарша установлены шнековые мешалки непрерывного действия. На Останкинском мясоперерабатывающем комбинате работает комбинированная (ротационная) машина, которая взвешивает, измельчает и перемешивает сырье. Эта машина заменяет волчок, куттер и мешалку. Производительность её 2...3 т/ч. При приготовлении и выдержке колбасного фарша на воздухе возможно появление объемной неоднородности и изменение цвета фарша в результате окисления. Воздух, попадающий в фарш, образует пустоты, которые сохраняются в фарше при набивке в оболочку и в готовом продукте. Это является причиной неоднородности продукта по объему и массе. Во избежание этого разработана система деаэрации колбасного фарша и непрерывной подачи его для шприцевания в оболочку. Фарш насосом подается в зону тонкого измельчения непрерывнодействующего куттера, где вследствие быстрого вращения ножевого устройства и возникновения центробежной и гравитационной сил образуется непрерывный относительно тонкий слой фарша. Измельчение в этом куттере происходит под вакуумом. Тонкоизмельченный и деаэрированный фарш непрерывно поступает в зону выгрузки, а затем насосом перекачивается в цевку с надетой на нее оболочкой, в которую выдавливается фарш. После набивки оболочку перевязывают через определенные интервалы, получая отдельные батончики.
Шприцевание и формовка. За последние 20 лет были разработаны методы и машины, позволяющие шприцевать колбасный фарш в искусственные, белковые и натуральные оболочки, а также накладывать на них скрепки.
Готовый фарш направляют для изготовления батонов. Цель процесса— придание формы и предохранение фарша от внешних влияний. Формовку можно выполнять вручную (фаршированные колбасы) или с помощью шприцев (шприцевание). Перед шприцеванием естественные кишечные оболочки замачивают в чанах и промывают проточной водой. Проверяют целость и прочность оболочек.
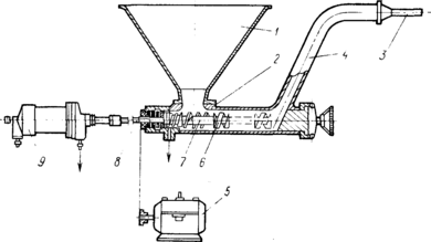
Шприцы (рис.2.13) представляют собой машины, работающие по принципу насосов периодического или непрерывного действия. Шприцы периодического действия в зависимости от привода могут быть механические, гидравлические и пневматические.
Оболочки наполняют фаршем через цевки, на которые натягивают оболочки. Цевки — это металлические трубки с коническим расширением на конце, прикрепляемые к патрубку шприца. При шприцевании необходимо пользоваться цевками, диаметр которых соответствует диаметру оболочки (от 16 до 60 мм). Шприцы могут быть одно-, двух-, многоцевочные.
Фарш набивают при различном давлении в зависимости от плотности набивки у различных видов колбас. Вареные колбасы шприцуют с наименьшей плотностью. Излишняя плотность набивки фарша вареных колбас в оболочку приводит к ее разрыву во время варки батонов вследствие расширения содержимого. Копченые колбасы, наоборот, шприцуют с наибольшей плотностью, так как объем батонов сильно уменьшается в результате последующей сушки изделии.
Рис. 2.13. Колбасный шприц: 1- бункер; 2- корпус; 3- цевка; 4- выходная насадка; 5- электропривод; 6,7- нагнетающая и питающая части шнека; 8- шток; 9 - гидропривод.
Производительность шприцев периодического действия зависит от времени, затрачиваемого на выполнение вспомогательных и активных операций (машинное время), а также от диаметра цевки и кишечной оболочки и вида фарша (плотности). С целью увеличения производительности для ускорения надевания оболочки на цевку на многих мясокомбинатах используют различные приспособления, например вертушки с двумя цевками, запасные трубки, на которые предварительно надевают оболочку, а затем сдвигают се с трубки на цевку, механические кишконадеватели и т. п.
В промышленности широко применяют шприцы-дозаторы CAM-50 и CAM-80 (ГДР). Эти машины пригодны для шприцевания всех видов фаршей, а также и выработки дозированных сосисок.
Непрерывнодействующие шприцы имеют высокую производительность, удобны для включения в поточно-механизированную линию производства колбас. Кроме того, при работе на этих шприцах создаются лучшие санитарно-гигиенические условия работы по сравнению с работой на шприцах периодического действия. Наибольшее распространение получили шприцы с эксцентриково-лопастными и шнековыми вытеснителями. Примером эксцентриково-лопастных шприцев могут быть машины конструкции Неведомского и Скрыпника.
Шприц конструкции Неведомского пригоден для шприцевания фарша вареных и полукопченых колбас, содержащих шпик. Производительность шприца до 1500 кг/ч. В последних моделях этих шприцев имеется устройство для дозирования и перекручивания оболочки. Шприц конструкции Скрыпника пригоден для шприцевания структурно-однородного фарша. Производительность шприца до 2000 кг/ч.
Шнековые вакуум-шприцы непрерывного действия могут работать индивидуально и в поточно-механизированных линиях. Хорошо работают вакуум-шприцы непрерывного действия «Идеал» и шприц-дозатор 158 (Чехословакия), эксцентриково-лопастные шприцы «Беккер» (ФРГ), «Глоуб К°» (США), «Стоук и Далтон» (Англия).
Для увеличения плотности батоны вяжут шпагатом. По вязке различают вид и сорт колбасы. Вяжут колбасы вручную. В отличие от колбас сосиски не вяжут, а перекручивают. Эта операция механизирована. В агрегате Еленича, например, сосиски дозируются и перекручиваются автоматически. Одинаковые по длине колбасные батоны можно получить и на линкерах (США), в которых с помощью зажимного устройства и металлических скрепок заполненная колбасная оболочка разделяется на одинаковые по длине участки. Если использовать искусственные стандартные оболочки, то на линкерах, так же, как и на автоматах Еленича, можно вырабатывать батончики одинаковой массы. Производительность линкеров 30 батонов в минуту (масса батона 100...400 г). На Ленинградском мясокомбинате сконструирована машина для вязки сарделек.
Столы для вязки колбас (стационарные и конвейерные) устанавливают вплотную к шприцам.
В процессе шприцевания вместе с фаршем в оболочку может попадать воздух. Для удаления воздуха из батонов на последующих стадиях производства оболочки накалывают (штрикуют) проволочным приспособлением с четырьмя остриями (штриковка). Вискозные (целлофановые) оболочки во избежание последующего разрыва штриковать нельзя.
После вязки или перекручивания батоны навешивают на палки и размещают на рамах, которые передвигают по подвесным путям. Если нет подвесных путей, то пользуются напольными тележками с закрепленными на них наглухо рамами. Батоны вместе с палками в этом случае приходится загружать и выгружать при производстве каждой последующей технологической операции. На раме должен быть только один вид и сорт колбасы. Норма размещения колбас на одну раму 100...250 кг, в зависимости от вида колбас.
Батоны на рамах не должны соприкасаться один с другим, иначе соприкасающиеся участки батонов изолируются от воздействия теплого воздуха и дымовых газов и не обрабатываются, получаются слипы (необжаренные и непроваренные участки), ухудшается товарный вид и снижается стойкость колбас.
Внешний вид колбас является существенным фактором, определяющим потребительские свойства продукта.
Осадка колбасных изделий
Осадка является первой операцией завершающего этапа технологического процесса — термической обработки колбасных изделий, во время которого колбасы и копчености доводятся до кулинарной готовности. Осадка происходит в специальных камерах, где поддерживается определенный температурно-влажностный режим.
В зависимости от вида колбасных изделий осадка бывает кратковременной и длительной. Кратковременной осадке подвергают вареные колбасы, сосиски и сардельки (2...4 ч), полукопченые колбасы (4...6 ч) и варено-копченые колбасы (24...48 ч); длительной осадке сырокопченые и сыровяленые колбасы (5... 7 сут).
Колбасы, прошедшие осадку, значительно лучше обжариваются, так как при этом меньше выделяется влаги, которая замедляет процесс обжарки и зачастую приводит к осаждению смолы и сажи.
При кратковременной осадке вареных, полукопченых и варено-копченых колбас происходит некоторое уплотнение фарша, подсушивание оболочек и продолжается развитие реакций, связанных со стабилизацией окраски.
Для интенсивного удаления испаряющейся влаги камеры для кратковременной осадки оборудуют воздухоохладителями. При длительной осадке, наоборот, должна быть естественная циркуляция воздуха, потому что при искусственной на периферии батона может образоваться корочка засохшего фарша, которая будет препятствовать диффузии влаги из центральной части. При длительной осадке, кроме подсушки оболочки и уплотнения фарша, протекают сложные ферментативные и микробиологические процессы. В результате этих процессов формируется специфический вкус и аромат, происходит вторичное структурообразование, стабилизируется окраска.
Сырые (вяленые, копченые) колбасы изготавливают без тепловой обработки, достаточной для пастеризации продукта, поэтому на первом плане необходимо рассмотреть современные представления о сущности формирования структуры сырых колбасных изделии в процессе их осадки, о характере и роли микрофлоры.
Структурные изменения колбас при осадке. Формирование структуры— необходимая предпосылка получения продукта с надлежащими товарными показателями. Оно также в какой-то мере влияет на его пищевую ценность. Сущность процесса формирования структуры продукта можно представить как превращение клеточной структуры животных тканей в вязкопластическую (способную к течению) структуру, характерную для сырого фарша.
Процесс деструкции начинается с механического разрушения клеточной структуры измельчающими механизмами и завершается в той или иной степени в результате частичного ферментативного распада белков в период осадки колбас. Монолитная структура, свойственная готовому продукту, начинает формироваться с момента наполнения фаршем оболочки.
Фарш сырых колбас состоит из крайне неоднородных по составу, размерам и форме частиц. Прерывная твердая фаза представлена гидратированными белковыми мицеллами, жировыми частицами, инкапсулированными структурообразной белковой оболочкой, остатками разрушенных мышечных волокон и жировых клеток, обрывками соединительной ткани, кровеносных и лимфатических сосудов и нервных волокон. Непрерывная жидкая фаза представляет собой водный раствор белковых и низкомолекулярных органических и неорганических веществ.
По характеру и прочности связей между дисперсными частицами, образующими прерывную фазу, в обоих случаях фарш можно отнести к обратимо разрушающимся коагуляционным структурам. Частицы прерывной фазы в таких структурах связаны друг с другом молекулярными силами, действующими через прослойку непрерывной фазы, с которой они связаны более прочно, чем друг с другом. Связи подобного типа называются коагуляционными. Возникновение коагуляционных связей обусловлено наличием на поверхности частиц избытка поверхностной энергии. Их прочность сравнительно невелика и к тому же ослабляется тем, что они действуют через прослойку непрерывной фазы. Поэтому они легко разрываются, но также легко восстанавливаются во времени. Поэтому и структура в целом после ее разрушения способна самопроизвольно восстанавливаться с течением времени, т. е. обладает тиксотропными свойствами.
В процессе шприцевания, когда оболочка через цевку наполняется фаршем при больших скоростях его течения, структура фарша разрушается, происходит разрыв ее сплошности. В этих условиях последующее сравнительно быстрое обезвоживание во время копчения или сушки в какой-то мере способствует фиксации последствий разрушения структуры. Готовый продукт может также получиться с дефектами структуры (пористость).
Отсюда вытекает необходимость выдержки колбас в течение времени, достаточном для полного восстановления структуры, т. е. осадки, при условии, чтобы в продукте не возникло существенного перепада влажности между периферийной и центральной частями. Этому условию отвечает возможность более низкой температуры и высокая относительная влажность воздуха во время осадки. Если фарш был изготовлен с измельчением мяса на куттере и вакуумировался, продолжительность осадки должна быть меньше, чем обычно (по данным ВНИИМПа, около 2 сут). При этом не следует упускать из виду и дополнительное назначение осадки: создание условий, необходимых в дальнейшем для желательного направления развития микрофлоры в фарше.
Роль микрофлоры. При производстве мясных продуктов присутствие и жизнедеятельность микроорганизмов в зависимости от их биологических свойств и условий развития могут иметь как отрицательное, так и положительное значение. Отрицательная роль заключается в том, что микроорганизмы могут явиться источником заболеваний либо отравлений и приводить к порче продуктов.
Говоря о положительной роли микроорганизмов, обычно имеют в виду их влияние на аромат, вкус, консистенцию, санитарно-гигиеинческое состояние продукта, а также их способность тормозить окисление компонентов продукта.
Технологический процесс изготовления сырокопченых н сыровяленых колбас требует длительной выдержки сырья при небольшой плюсовой температуре, т. е. в условиях хотя и замедляющих, но не исключающих деятельность тканевых ферментов и микрофлоры. В этом случае микробиальные процессы развиваются не только на поверхности, но и в глубине.
Все это говорит о том, что, придавая большое значение положительному влиянию молочнокислых микроорганизмов на формирование аромата сырокопченых и сыровяленых колбас, необходимо учитывать н то нежелательное действие, которое они могут оказать на цвет готовых колбасных изделий.
Важная роль некоторых видов микрофлоры как технологического фактора подтверждается как прямым, так и косвенным путем. При выработке сырых колбас с течением времени постепенно изменяется состав микрофлоры как внутри, так и на поверхности продукта. Это связано с тем, что на состав и развитие микрофлоры влияют постепенное обезвоживание среды и повышение концентрации соли.
Обжарка и копчение
После осадки вареные колбасы, сосиски и полукопченые колбасы поступают в обжарку. Легкой обжарке подвергают фаршированные колбасы и некоторые сорта ливерных колбас. Ливерные колбасы обжаривают для придания специфического запаха и привкуса. Копченые изделия не обжаривают.
Обжарка. После осадки колбасы направляют в обжарочные камеры для обжарки. Обжарка — это кратковременная обработка поверхности колбасных изделий коптильным дымом при высоких температурах перед их варкой.
Цель обжарки — повышение механической прочности оболочки и поверхностного слоя продукта, уменьшение их гигроскопичности. Продукт становится более устойчивым к микроорганизмам, поверхность его окрашивается в буровато-красный цвет с золотистым оттенком и появляется приятный специфический запах и привкус коптильных веществ.
Изменение гигроскопичности, механических свойств и повышение устойчивости по отношению к микроорганизмам происходят в результате дубящего действия некоторых составных компонентов дыма на белковые вещества кишечной оболочки и поверхностного слоя продукта. В результате взаимодействия белков (главным образом коллагена) с альдегидами при дублении образуется более упорядоченная структура, следовательно, увеличивается ее прочность. Под влиянием тканевых ферментов разрушаются пептидные связи в цепях, они становятся менее доступными для ферментов. Число гидрофильных центров уменьшается, а вместе с этим снижается и способность белков к набуханию.
Приобретение окраски поверхностью продукта связано с проникновением фенольной фракции дымовых газов. При этом главенствующую роль играет температура. И, как доказательство этому, при сухом нагреве и отсутствии дымовых газов, если температура достаточно высокая, получается сходный результат.
Во время обжарки при повышении температуры в толще продукта до 25...35°С наступает момент, благоприятный для развития микрофлоры и повышения активности ферментов. Это способствует цветообразованию.















