10681 (646651)
Текст из файла
Структура и свойства мембранных липидов
Прежде чем перейти к биологическим мембранам, следует детально проанализировать структуру липидного бислоя, а также термодинамические принципы, определяющие его стабильность. Кроме того, некоторые липиды самопроизвольно образуют структуры, не имеющие бислойной организации, и эти липиды, как полагают, играют особую роль в мембранах. Мы рассмотрим структуру и термодинамику водно-липидных систем, уделяя основное внимание тем характеристикам, которые позволяют глубже понять свойства биологических мембран.
1. Жидкие кристаллы
С помощью ренгтеноструктурного анализа установлена с высоким разрешением пространственная структура ряда мембранных липидов. К ним относится лизофосфатидилхолин, димиристо-илфосфатидная кислота, димиристоилфосфатидилхолин, дилауроилфосфатидилэтаноламин, димиристоилфосфатилглицерол и цереброзид. Кристаллы этих липидов содержат очень мало воды, однако пространственная структура липидов в них оказалась подобна той, которую они имеют в полностью ги-дратированном состоянии. На рис. представлена пространственная структура некоторых из этих мембранных липидов в кристаллах. Атомы углерода остатка глицерола и соответствующие атомы Сфингозина выделены черным цветом. На рис. указаны некоторые структурные параметры, используемые для описания конфор-мации липидов.
Рассмотрим кристаллическую структуру дилауроилфосфатидил-этаноамина и укажем наиболее характерные ее особенности.
-
Площадь, приходящаяся на молекулу, составляет 39 А2.
-
Полярная головка в целом ориентирована параллельно плоскости бислоя. При этом аминогруппа образует водородную связь с неэтерифицированными атомами кислорода фосфатной группы соседней молекулы. Остаток глицерола ориентирован перпендикулярно плоскости бислоя.
-
Жирнокислотная цепь sn-2 сначала идет параллельно поверхности бислоя, а после второго углеродного атома направляется в глубь бислоя.
-
Ацильные цепи расположены перпендикулярно поверхности бислоя и, за исключением начального участка sn-2 жирнокислотной цепи, максимально вытянуты, т. е. имеют полностью-ти/имс-конфигурацию.
Кристаллические структуры фосфатидилхолина и цереброзида во многом сходны со структурой фосфаридилэтаноламина, хотя и
имеют ряд важных отличий. Наиболее значительное и явное из них состоит в наклоне ацильных цепей, сильно выраженном в случае цереброзида. Этот наклон связан с наличием стерических препятствий для упаковки молекул. Объемные полярные головки фосфати-дилхолина и цереброзида не позволяют им упаковываться в сравнительно простые структуры, как в случае дилауроилфосфатидилэта-ноламина. Площадь S, необходимая для размещения этих головок, превышает величину 39 А2, приходящуюся на поперечное сечение ацильных цепей каждой молекулы. В случае цереброзида эта проблема решается за счет наклона ацильных цепей по отношению к плоскости бислоя. В результате существенно увеличивается площадь проекции поперечного сечения ацильных цепей на плоскость бислоя. На рис. схематично показано, как благодаря наклону цепей сохраняется взаимодействие между цепями соседних молекул и обеспечивается размещение объемных полярных групп. Жирнокислотные цепи димиристоилфосфатидилхолина отклоняются от нормали к поверхности бислоя всего на 12°, тогда как в случае цереброзида это отклонение достигает 41°. Проблема упаковки объемных полярных групп диацилфосфатидилхолина может быть решена путем поочередного смещения соседних молекул вдоль нормали к бислою, как схематически показано на рис. Л Имеются убедительные данные и о значительном наклоне цепей в гелевой фазе полностью гидратированных липидных бислоев. Это наглядный пример того, как простые стерические соображения, учитывающие «форму» липидных молекул, оказываются весьма полезными при рассмотрении пространственной структуры липидов.
В кристаллах всех изученных липидов, за исключением фосфа-тидной кислоты, начальный участок 5«-2-жирнокислотной цепи направлен параллельно поверхности бислоя. Об этой особенности расположения цепей свидетельствовали также результаты ЯМР-иссле-дований фосфатидилэтаноламиновых и фосфатидилхолиновых бислоев, а также фосфолипидов в мембранах Е. coli. Физиологическая значимость этой структурной особенности неясна. Однако отмечалось, что в яичном фосфатидилхолине средняя длина sn-2-жирнокислотной цепи равна 18 углеродным атомам, а средняя длина sn-1-цепи — 16. По-видимому, это позволяет скомпенсировать излом жирнокислотной цепи во втором положении остатка глице-рола так, что обе ацильные цепи оказываются погруженными в бислой на одну и ту же глубину.
Итак, можно отметить пять основных особенностей кристаллической структуры, которые важны при рассмотрении строения липидных бислоев.
1. Все изученные структуры имеют ламеллярную организацию с таким же расположением полярных и неполярных групп, как и в бислое.
-
Некоторые липиды, например фосфатидилхолины и церебро-зиды, имеют объемные полярные головки, из-за чего возникают затруднения при упаковке молекул. Соотношение между указанными молекулярными параметрами играет важную роль при упаковке мембранных липидов не только в кристаллах, но и в модельных мембранах, а также, вероятно, и в биологических мембранах.
-
Как правило, полярные головки липидных молекул расположены в плоскости бислоя, что способствует образованию межмолекулярных водородных связей.
-
Ацильные цепи находятся в полностью-трансконфигурации.
-
В большинстве случаев.ул-2-жирнокислотные цепи начинают углубляться в бислой только после атома С-2.
Эти структурные особенности характерны и для ламеллярных систем, образуемых водно-липидными смесями в фазе геля и/или в жидкокристаллической фазе. Изучение пространственного строения липидов в кристаллах имеет важное значение при рассмотрении конформационного состояния липидов в биологических мембранах.
2. Водно-липидные смеси
Смеси липидов с водой отличаются выраженным полиморфизмом. Даже индивидуальные очищенные липиды в гидратированном состоянии могут находиться в нескольких структурных модификациях. Какая из структур преобладает, зависит от таких параметров, как концентрация липида, температура, давление, ионная сила и рН. Особенно полезным при изучении типов структурной организации водно-липидных систем оказался метод дифракции рентгеновских лучей. При этом чаще всего варьируют концентрацию липида и температуру, а полученные данные представляют в виде фазовой диаграммы, показывающей, какую структуру система имеет в различных областях диаграммы «температура — концентрация». Наряду с дифракцией рентгеновских лучей для определения фазовых границ водно-липидных систем часто используют дифференциальную сканирующую калориметрию. Эти исследования проводят обычно при высоких концентрациях липида, однако многие структуры, обнаруженные при таких условиях, образуются также в липидных дисперсиях при большом избытке воды.
Основные типы структурной организации водно-липидных систем схематично представлены на рис. 2.4.
-
Ламеллярная жидкокристаллическая фаза, Считают, что именно в этой фазе находится основная масса липидов в биологических мембранах. Как свидетельствуют данные дифракции рентгеновских лучей, для этой фазы характерно упорядоченное расположение слоистых структур при значительной неупорядоченности ацильных цепей.
-
Ламеллярная гелевая фаза. Она образуется при низкой температуре теми липидами, которые формируют слоистые структуры. В этой фазе молекулы упакованы более плотно, а ацильные цепи намного более упорядочены и находятся преимущественно в полнос-тью-трянс-конфигурации, как и в липидных кристаллах. Поскольку цепи максимально вытянуты, толщина бислоя в фазе геля выше, чем в жидкокристаллической фазе. Плотность фазы геля несколько выше плотности жидкокристаллической фазы. В случае липидов, имеющих объемные полярные головки, ацильные цепи наклонены относительно поверхности бислоя подобно тому, как это наблюдается в некоторых липидных кристаллах. Наклон цепей обычно обозначают штрихом Интересно, что дисперсии фосфатидилхолина в растворах, содержащих некоторые спирты, в том числе и глицерол, образуют необычную фазу геля, в которой противолежащие половины «бислоя» своими ациль-ными цепями полностью проникают друг в друга. Биологическая роль этого явления неясна.
3. Гексагональная фаза I. В этом случае липидные молеку-
лы формируют цилиндрические структуры, поверхность которых образована полярными головками и контактирует с водой. Сами цилиндры упаковываются с образованием гексагональной решетки.
4. Гексагональная фаза II. Липиды также образуют цилиндры, но в этом случае полярные группы обращены внутрь цилиндра и формируют водный канал. Упаковка самих цилиндров также является гексагональной.
Очень важно, что некоторые липиды образуют небислойные структуры. Действительно, многие очищенные мембранные липиды не образуют стабильных бислоев, а предпочитают находится в гек-
сагональной фазе Ни. В качестве примера можно упомянуть ненасыщенные фосфатидилэтаноламины, а также такой гликолипид, как моногалактозилдиацилглицерол. Причины такого поведения и его возможная биологическая значимость обсуждаются в следующих разделах.
2.1 ГИДРАТАЦИЯ ЛИПИДОВ
Параметры можно определить по данным дифракции рентгеновских лучей. Как правило, те параметры, которые зависят главным образом от длины ацильных цепей, почти не меняются при увеличении содержания воды в системе. Гидратация липидов происходит в результате связывания воды с полярными головками. Процесс гидратации активно изучали методами 'Н- и 2Н-ЯМР. Результаты, полученные при изучении фос-фатидилглицерола, фосфатидилхолина и фосфатидилэтаноламина методом 2Н-ЯМР, говорят о наличии гидратной оболочки из 11 — 16 молекул воды на одну молекулу липида. Эти молекулы быстро обмениваются с молекулами воды, находящимися в основном объеме. Согласно другим измерениям, полярная головка фосфатидилэтаноламина связывает меньше воды, чем полярная головка фосфатидилхолина. Было высказано предположение, что в случае ненасыщенных фосфатидилэтаноламинов слабая гидратация благоприятствует образованию неламеллярной гексагональной фазы Ни.
Многие липиды набухают в воде. Липиды, которые не несут заряда или являются в целом электрически нейтральными, не набухают совсем или набухают лишь в ограниченной степени до предельной толщины водной прослойки между ламеллами. При избытке воды сосуществуют две фазы — мультиламеллярная липидная фаза и вода, находящаяся в основном объеме. Заряженные липиды склонны к неограниченному набуханию и могут включать воду между ламеллами вплоть до пороговой точки, когда образуются две фазы — полностью гидратированные моноламелярные везикулы, находящиеся в равновесии с водой в основном объеме. Степень набухания и относительная стабильность мульти- и моноламеллярных структур определяются электростатическими взаимодействиями. При низкой ионной силе происходит дестабилизация мультиламеллярных структур. Неограниченное набухание может происходить и в том случае, когда в смеси липидов содержится всего несколько процентов заряженных липидов.
Поляризация молекул воды вблизи полярных липидных головок приводит к сильному отталкиванию при сближении двух бислоев. Эта «гидратационная сила» удерживает гидратированные бислои на расстоянии не менее 30 А друг от друга. Именно она создает основной энергетический барьер, который следует преодолеть, пытаясь осуществить слияние мембран. Возможно, фосфатидилэтаноламиновые везикулы склонны к агрегации именно потому, что степень гидратации их полярных головок относительно низка.
Исследования, проведенные методом ЭПР с помощью спиновых меток, способных реагировать на полярность своего окружения на различной глубине от поверхности бислоя, показывают, что вода частично проникает в углеводородную область бислоя, находящуюся в жидкокристаллическом состоянии. По данным нейтронного рассеяния, когда бислой находится в состоянии геля, вода не проникает глубже глицеролового остова липидных молекул.
2.2 ФАЗОВЫЕ ДИАГРАММЫ ОДНОКОМПОНЕНТНЫХ ВОДНО-ЛИПИДНЫХ СИСТЕМ
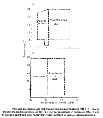
На рис. 2.5 представлена фазовая диаграмма в координатах температура—концентрация для двух распространенных гликолипидов, выделенных из растений. Дигалактозилдиацилгли-церол образует стабильную ламеллярную фазу. При низком содержании воды имеется только гидратированная фаза, а при содержании воды 20% сосуществуют две фазы — мультиламеллярная гидратированная липидная фаза и вода основного объема. К неограниченному набуханию ДГДГ не способен.
На приведена фазовая диаграмма для дипальмитоилфос-фатидилхолина. Этот липид существует в ламеллярной форме при самых разных условиях. При добавлении воды он «набухает» до тех пор, пока между слоями не скопится максимально возможное количество воды. В этой точке образуется двухфазная система, представляющая собой взвесь мультиламеллярных липо-сом. Обратите внимание, что между фазой геля и жидкокристаллической ламеллярной фазой имеется еще одна фаза. Это так называемая «рифленая» фаза. В этой фазе поверхность бислоя на электронных микрофотографиях имеет волнообразный вид. Температурный фазовый переход Р0, -» La называется главным, а переход ц, -» Р^, — предпереходом.
Характеристики
Тип файла документ
Документы такого типа открываются такими программами, как Microsoft Office Word на компьютерах Windows, Apple Pages на компьютерах Mac, Open Office - бесплатная альтернатива на различных платформах, в том числе Linux. Наиболее простым и современным решением будут Google документы, так как открываются онлайн без скачивания прямо в браузере на любой платформе. Существуют российские качественные аналоги, например от Яндекса.
Будьте внимательны на мобильных устройствах, так как там используются упрощённый функционал даже в официальном приложении от Microsoft, поэтому для просмотра скачивайте PDF-версию. А если нужно редактировать файл, то используйте оригинальный файл.
Файлы такого типа обычно разбиты на страницы, а текст может быть форматированным (жирный, курсив, выбор шрифта, таблицы и т.п.), а также в него можно добавлять изображения. Формат идеально подходит для рефератов, докладов и РПЗ курсовых проектов, которые необходимо распечатать. Кстати перед печатью также сохраняйте файл в PDF, так как принтер может начудить со шрифтами.














