5329 (643633), страница 2
Текст из файла (страница 2)
Рівні сил виробничих шумів (в дБ):
– обдирочний верстат95-105;
– токарний верстат93-96;
– стругальний верстат97;
– ковальський цех98;
– штампувальний цех112;
– клепальний цех117;
– реактивний двигун до 130 (больовий поріг людини);
– ракетний двигун до 170.
Аеродинамічні шуми є головною складовою шуму вентиляторів, повітродувок, компресорів, газових турбін, випусків пари і повітря в атмосферу, двигунів внутрішнього згорання і ін. У двигуні внутрішнього згорання основним джерелом шуму є шум систем випуску і впуску. Аеродинамічний шум в джерелі може бути понижений збільшенням зазору між вінцями лопаток, підбором співвідношення чисел направляючих і робочих лопаток; поліпшенням аеродинамічних характеристик припливної частини компресорів, турбін і тому подібне Часто заходи з ослаблення аеродинамічних шумів в джерелі бувають недостатніми, тому застосовується звукоізоляція джерел і установка глушників.
Гідродинамічні шуми виникають внаслідок:
– стаціонарних процесів;
– нестаціонарних процесів в рідинах (кавітація, турбулентність потоку, гідравлічний удар).
Заходи боротьби:
– поліпшення гідродинамічних характеристик насосів;
– вибір оптимальних режимів роботи;
– при гідроударах – правильне проектування і експлуатація гідросистеми.
Електромагнітні шуми виникають в електромашинах і устаткуванні. Причини – взаємодія феромагнітних мас під впливом змінних магнітних полів.
Заходи захисту:
– конструктивні зміни в електромашинах, наприклад, виготовлення скошених пазів якоря ротора;
– у трансформаторах – щільніше пресування пакетів, використання демпфуючих матеріалів.
Інтенсивний шум, викликаний вібрацією, можна зменшити покриттям вібруючої поверхні матеріалом з великим внутрішнім тертям (гума, азбест, бітум), при цьому частина звукової енергії поглинається. Процес поглинання звуку відбувається за рахунок переходу енергії коливаючи частинок повітря в теплоту внаслідок втрат на тертя в порах матеріалу. Найчастіше як звукопоглинальна облицьовка застосовується конструкція у вигляді шару однорідного пористого матеріалу певної товщини, укріпленого безпосередньо на поверхні обгороджування або віднесеного від нього на деяку відстань (рис. 3.).
Рис. 3. Звукопоглинальна облицьовка 1 – стіна (стеля); 2 – звукопоглинальний матеріал; 3 – захисна оболонка; 4 – захисний перфорований шар; 5 – повітряний проміжок
Якщо стіни приміщення виконані прозоро або площа вільної поверхні недостатня для встановлення плоскої звукопоглинальної облицьовки, для зменшення шуму застосовують об'ємні штучні звукопоглиначі (мал. 4.). Це об'ємні тіла, заповнені звукопоглинальним матеріалом і підвішені до стелі рівномірно по приміщенню на певній висоті.
Рис. 4. Об'ємні штучні звукопоглиначі
В даний час застосовуються звукопоглинальні матеріали:
– ультратонке волокно;
– скловолокно;
– капронове волокно;
– мінеральна вата;
– дерево-волоконні плити;
– пористий полівінілхлорид.
Звукоізоляція – це метод зниження шуму шляхом створення конструкцій, що перешкоджають поширенню шуму з одного в інше ізольоване приміщення.
Звукоізолюючі конструкції виготовляють з щільних твердих матеріалів (метал, дерево, пластмаса), що добре перешкоджають поширенню шуму. Звукоізоляція однорідної перегородки R, дБ може бути визначена за формулою:
| | (3) |
де m – маса 1 м2 перегородки, кг;
f – частота, Гц.
Шумні агрегати можна ізолювати за допомогою звукоізолюючих кожухів, які слід встановлювати без жорстких зв'язків з устаткуванням. Для збільшення ефективності звукоізоляції внутрішню поверхню кожухів облицьовують звукопоглинаючими матеріалами (рис. 5.).
Рис. 5. Звукоізоляція кожухом 1 – джерело шуму; 2 – звукопоглинаючий матеріал; 3 – глушник шуму
Ефективність (звукоізоляція) кожухів визначається за формулою:
(4)
де – коефіцієнт звукопоглинальної облицьовки;
R – звукоізоляція однорідної перегородки, дБ.
Звукоізолюючі перегородки і звукопоглинаючі кабіни ефективно знижують лише повітряний шум, але у виробництві часто зустрічається і структурний шум (при роботі вентиляторів, компресорів, ковальських молотів, насосів і ін.). Вібрація цих машин у вигляді пружних хвиль поширюється від фундаментів по конструкції будівлі в усі приміщення, де і проявляється у вигляді шуму. Ослаблення такого шуму досягається віброізоляцією і вібропоглинанням.
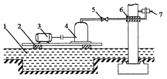
Віброізоляція усуває жорсткі зв'язки між неврівноваженими машинами і конструкцією будівлі за рахунок застосування пружних прокладок (пружин, гуми) (рис. 6.).
Рис. 6. Віброізоляція 1 – фундамент; 2 – амортизатори; 3 – електродвигун; 4 – насос-компресор; 5 – вентиль; 6 – пружна прокладка; 7 – кронштейн
Зниження вібрації, що поширюється по трубопроводах вентиляції, досягається влаштуванням розривів в окремих ділянках трубопроводів з установкою в ці ділянки м'яких вставок з брезенту (гуми).
Для захисту працюючих від прямої дії шуму використовують екрани, встановлені між джерелом шуму і робочим місцем (рис. 7.).
Рис. 7. Екранування робочого місця 1 – екран; 2 – звукопоглинаюча облицьовка; 3 – устаткування; 4 – робоче місце
Акустичний ефект екрану заснований на утворенні за ним області тіні, куди звукові хвилі проникають лише частково. Для зменшення шуму аеродинамічних установок і пристроїв застосовують в основному глушники шуму. Вони поділяються на:
– активні;
– реактивні;
– комбіновані.
Активні – поглинають шум, реактивні – відбивають енергію назад до джерела. Екранні глушники встановлюються на виході з каналу в атмосферу або на вході в канал (рис. 8.).
а) б) в)
г) д) е)
Рис. 8. Різновиди екранних глушників
На високих частотах ефект їх встановлення досягає 10-25 дБ. Велике значення має відстань від екрану до каналу і діаметр екрану; чим ближче розташований екран і чим більший його діаметр, тим ефективніша його установка. Зниження виробничого шуму може бути досягнуте раціональним плануванням цехів і підприємств. При плануванні підприємства найбільш шумні цехи мають бути сконцентровані в одному-двох місцях. Між шумними цехами і тихими приміщеннями (заводоуправління, конструкторське бюро) мають бути розміщені зелені насадження і дотримуватися необхідна відстань. Всередині будівлі тихі приміщення необхідно розміщувати далеко від шумних, щоб їх розділяло декілька інших приміщень або обгороджувань з ефективною ізоляцією.
Загальні технічні рішення не завжди дозволяють знизити шум і вібрацію до допустимих величин. У цих випадках застосовують індивідуальні захисні засоби. До них відносять:
– вкладиші;
– навушники;
– шлеми.
Вкладиші у вигляді м'яких тампонів з ультратонкого волокна, інколи просочених воском і парафіном, жорсткі вкладиші (ебонітові, гумові) вставляють в слуховий апарат і знижують шум на 5-20 дБ. Широке застосування знайшли «Беруші».
У промисловості широко застосовують навушники ВЦНІЇОТ, що знижують рівень звукового тиску від 7 до 38 дБ. При дії шумів з високими рівнями ((120 дБ) вкладиші і навушники не забезпечать необхідного захисту, оскільки шум діє безпосередньо на мозок людини. У цих випадках застосовують шлеми.
До засобів індивідуального захисту рук від дії вібрації відносяться:
– віброзахисні рукавиці;
– прокладки або пластини, забезпечені кріпленнями для рук.
Також необхідне дотримання раціонального режиму праці і виконання гігієнічних заходів: 10 хвилинна перерва після 1 години роботи, гігієнічні ванни для кистей рук, душ після роботи, ультрафіолетове опромінення.
6. Захист від дії ультразвуку, інфразвуку
У машинобудуванні основним джерелом інфразвуку є:
– ДВЗ;
– реактивні двигуни;
– вентилятори;
– поршневі компресори.
При дії інфразвуку з рівнями 100-120 дБ виникає головний біль, відчутний рух барабанних перетинок, зниження уваги і працездатності, поява почуття страху, порушення функції вестибулярного апарату.
Основні заходи щодо боротьби з інфразвуком:
– підвищення швидкохідності машин, що забезпечує переведення максимального випромінювання в області чутних частот;
– усунення низькочастотних вібрацій;
– установка глушників реактивного типу.
При інфразвуку первинною є боротьба з цим шкідливим виробничим чинником в джерелі його виникнення.
Ультразвук знаходить широке застосування в металообробній промисловості, машинобудуванні, металургії і т. д. Частота застосування ультразвуку більше 20 кГц, потужність – до декількох кіловат. Ультразвук здійснює шкідливу дію на організм людини. В робітників спостерігається порушення нервової системи, зміна тиску, складу і властивості крові. Часті скарги на головний біль, швидку стомлюваність, втрату слухової чутливості.
Відповідно до ГОСТ 12.1.001-83 норми поширюються на рівні звукового тиску, що створюються на робочому місці коливаннями повітряного середовища з частотами більш 11,2 кГц. Допустимі рівні звукового тиску нормуються в третьоктавних смугах частот і мають наступні значення:
– 12,5 кГц – 80 дБ;
– 16 кГц – 90 дБ;
– 20 кГц – 105 дБ;
– 25 і більше – 110 дБ.
Захист від дії ультразвуку забезпечується:
– використанням в устаткуванні вищих робочих частот;
– влаштуванням екранів між устаткуванням і працюючим;
– розміщенням ультразвукових установок в спеціальних приміщеннях, кабінетах;
– дистанційним керуванням, облицюванням окремих приміщень і кабінетів звукопоглинаючими матеріалами;
– організаційно-профілактичними заходами – інструктаж, вибір раціональних режимів праці і відпочинку, застосування засобів індивідуального захисту.
шум ультразвук лазерне випромінювання
7. Захист від лазерних випромінювань
У промисловості все ширше застосовується лазерна техніка. Робота оптичних квантових генераторів (ОКГ) супроводжується випромінюванням в діапазоні оптичної частини спектру особливо небезпечному для зору, тому що випромінювання видимого діапазону фокусується на поверхні сітківки. За рахунок фокусування щільність потоку потужності на сітківці може бути на декілька порядків вище, ніж на рогівці ока.
При ураженні лазерним випромінюванням можливий також опік шкіри.
В процесі роботи лазерних установок, окрім термічних опіків, мають місце наступні небезпеки:
– висока напруга;
– іонізація повітря і поява озону;
– утворення токсичних речовин при обробці деяких матеріалів;
– надвисокочастотне електромагнітне поле;
– акустичний шум.
Захист від лазерних випромінювань полягає в наступному:
– генератор і лампа накалювання поміщається в світлонепроникну камеру;
– промінь лазера огороджують екраном або передають по світлопроводу;
– лінзи, призми, мішень забезпечують блендами і діафрагмами;
– приміщення всередині і устаткування забарвлюють в темні матові тони;
– штучне освітлення влаштовують комбіноване і не менше за нормоване;
– попереджувальний сигнал про роботу лазерної установки повинен з'являтися не лише поза приміщенням, але і всередині нього.
До індивідуальних засобів захисту відносяться:
– захисні окуляри зі склом синьо-зеленого кольору;
– руки захищають чорними рукавичками, інші частини тіла – звичайним одягом.
Размещено на Allbest.ru















