5217 (643557)
Текст из файла
МИНИСТЕРСТВО ОБРАЗОВАНИЯ И НАУКИ УКРАИНИ
КРАСНОДОНСКИЙ ГОРНИЙ ТЕХНИКУМ
Реферат по предмету «БЕЗОПАСНОСТЬ
ТЕХНОЛОГИЧЕСКИХ
ПРОЦЕССОВ И ПРОИЗВОДСТВ»
на тему: «ПРОИЗВОДСТВЕННАЯ ВЕНТИЛЯЦИЯ »
Студента группы 1ЕП-06
Урюпова Олега
Проверила: Дрокина Т.М
Краснодон 2010
Вентиляцией называется комплекс взаимосвязанных устройств и процессов для создания требуемого воздухообмена в производственных помещениях. Основное назначение вентиляции — удаление из рабочей зоны загрязненного или перегретого воздуха и подача чистого воздуха, в результате чего в рабочей зоне создаются необходимые благоприятные условия воздушной среды. Одна из главных задач, возникающих при устройстве вентиляции,— определение воздухообмена, т. е. количество вентиляционного воздуха, необходимого для обеспечения оптимального санитарно-гигиенического уровня воздушной среды помещений.
В зависимости от способа перемещения воздуха в производственных помещениях вентиляция делится на естественную и искусственную (механическую).
Применение вентиляции должно быть обосновано расчетами, при которых учитываются температура, влажность воздуха, выделение вредных веществ, избыточное тепловыделение. Если в помещении нет вредных выделений, то вентиляция должна обеспечивать воздухообмен не менее 30 м3/ч на каждого работающего (для помещений с объемом до 20 м3 на одного работающего). При выделении вредных веществ в воздух рабочей зоны необходимый воздухообмен определяют исходя из условий их разбавления до ПДК, а при наличии тепловых избытков — из условий поддержания допустимой температуры в рабочей зоне.
Естественная вентиляция производственных помещений осуществляется за счет разности температур в помещении наружного воздуха (тепловой напор) или действия ветра (ветровой напор). Естественная вентиляция может быть организованной и неорганизованной.
При неорганизованной естественной вентиляции воздухообмен осуществляется за счет вытеснения внутреннего теплового воздуха наружным холодным воздухом через окна, форточки, фрамуги и двери. Организованная естественная вентиляция, или аэрация, обеспечивает воздухообмен в заранее рассчитанных объемах и регулируемый в соответствии с метеорологическими условиями. Бесканальная аэрация осуществляется при помощи проемов в стенах и потолке и рекомендуется в помещениях большого объема со значительными избытками теплоты. Для получения расчетного воздухообмена вентиляционные проемы в стенах, а также в кровле здания (аэрационные фонари) оборудуют фрамугами, которые открываются и закрываются с пола помещения. Манипулируя фрамугами, можно регулировать воздухообмен при изменении наружной температуры воздуха или скорости ветра (рис. 4.1). Площадь вентиляционных проемов и фонарей рассчитывают в зависимости от необходимого воздухообмена.
Рис. 4.1. Схема естественной вентиляции здания: а — при безветрии; б — при ветре; 1 — вытяжные и приточные отверстия; 2 — тепловыделяющий агрегат
В производственных помещениях небольшого объема, а также в помещениях, расположенных в многоэтажных производственных зданиях, применяют канальную аэрацию, при которой загрязненный воздух удаляется через вентиляционные каналы в стенах. Для усиления вытяжки на выходе из каналов на крыше здания устанавливают дефлекторы — устройства, создающие тягу при обдувании их ветром. При этом поток ветра, ударяясь о дефлектор и обтекая его, создает вокруг большей части его периметра разрежение, обеспечивающее подсос воздуха из канала. Наибольшее распространение получили дефлекторы типа ЦАГИ (рис. 4.2), которые представляют собой цилиндрическую обечайку, укрепленную над вытяжной трубой. Для улучшения подсасывания воздуха давлением ветра труба оканчивается плавным расширением — диффузором. Для предотвращения попадания дождя в дефлектор предусмотрен колпак.
Рис. 4.2. Схема дефлектора типа ЦАГИ: 1 — диффузор; 2 — конус; 3 — лапки, удерживающие колпак и обечайку; 4 — обечайка; 5 — колпак
Расчет дефлектора сводится к определению диаметра его патрубка. Ориентиро-вочно диаметр патрубка d дефлектора типа ЦАГИ можно вычислить по формуле:
,
где L — объем вентиляционного воздуха, м3/ч;
— скорость воздуха в патрубке, м/с.
Скорость воздуха (м/с) в патрубке при учете только давления, создаваемого действием ветра, находят по формуле
,
где
— скорость ветра, м/с;
— сумма коэффициентов местного сопротивле-ния вытяжного воздуховода при его отсутствии = 0,5 (при входе в патрубок); l — дли-на патрубка или вытяжного воздуховода, м.
С учетом давления, создаваемого ветром, и теплового давления скорость воздуха в патрубке вычисляют по формуле
,
где
— тепловое давление Па; здесь
— высота дефлектора, м;
— плотность, соответственно, наружного воздуха и воздуха внутри помещения, кг/м3.
Скорость движения воздуха в патрубке составляет примерно 0,2...0,4 скорости ветра, т. е.
. Если дефлектор установлен без вытяжной трубы непосредственно в перекрытии, то скорость воздуха несколько больше
.
Аэрация применяется для вентиляции производственных помещений большого объема. Естественный воздухообмен осуществляется через окна, световые фонари с использованием теплового и ветрового напоров (рис. 4.3). Тепловое давление, в результате которого воздух поступает в помещение и выходит из него, образуется за счет разности температур наружного и внутреннего воздуха и регулируется различной степенью открытия фрамуг и фонарей. Разность этих давлений на одном и том же уровне называется внутренним избыточным давлением
. Оно может быть как положительным, так и отрицательным.
Рис. 4.3. Схема аэрации здания
При отрицательном значении
(превышении наружного давления над вну-тренним) воздух поступает внутрь помещения, а при положительном значении
(превышении внутреннего давления над наружным) воздух выходит из помещения. При
= 0 движения воздуха через отверстия в наружном ограждении не будет. Ней-тральная зона в помещении (где
= 0) может быть только при действии одних те-плоизбытков; при ветре с теплоизбытками она резко смещается вверх и исчезает. Рас-стояния нейтральной зоны от середины вытяжного и приточного отверстий обратно пропорциональны квадратам площадей отверстий. При
, где
— площади, соответственно, входных и выпускных отверстий, м2;
—высоты расположения уровня равных давлений, соответственно, от входного до вы-пускного отверстий, м.
Расход воздуха G, который протекает через отверстие, имеющее площадь F, вычисляют по формуле:
,
где G — массовый секундный расход воздуха, т/с; — коэффициент расхода, зависящий от условий истечения; — плотность воздуха в исходном состоянии, кг/м3;
— разность давлений внутри и снаружи помещения в данном отверстии, Па.
Ориентировочное количество воздуха, выходящего из помещения через 1 м2 площади отверстия, с учетом только теплового давления и при условии равенства площадей отверстий в стенках и фонарях и коэффициенте расхода = 0,6 можно определить по упрощенной формуле:
,
где L — количество воздуха, м3/ч; Н — расстояние между центрами нижних и верхних отверстий, м;
— разность температур: средней (по высоте) в помещении и наружной, ° С.
Аэрация с использованием ветрового давления основана на том, что на наве-тренных поверхностях здания возникает избыточное давление, а на заветренных сторо-нах разрежение. Ветровое давление на поверхности ограждения находят по формуле:
,
где k — аэродинамический коэффициент, показывающий, какая доля динамического давления ветра преобразуется в давление на данном участке ограждения или кровли. Этот коэффициент можно принять в среднем равным для наветренной стороны + 0,6, а для подветренной — -0,3.
Естественная вентиляция дешева и проста в эксплуатации. Основной ее недостаток заключается в том, что приточный воздух вводится в помещение без предварительной очистки и подогрева, а удаляемый воздух не очищается и загрязняет атмосферу. Естественная вентиляция применима там, где нет больших выделений вредных веществ в рабочую зону.
Искусственная (механическая) вентиляция устраняет недостатки естественной вентиляции. При механической вентиляции воздухообмен осуществляется за счет напора воздуха, создаваемого вентиляторами (осевыми и центробежными); воздух в зимнее время подогревается, в летнее—охлаждается и кроме того очищается от загрязнений (пыли и вредных паров и газов). Механическая вентиляция бывает приточной, вытяжной, приточно-вытяжной, а по месту действия — общеобменной и местной.
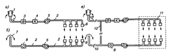
При приточной системе вентиляции (рис. 4.4, а) производится забор воздуха извне с помощью вентилятора через калорифер, где воздух нагревается и при необходимости увлажняется, а затем подается в помещение. Количество подаваемого воздуха регулируется клапанами или заслонками, устанавливаемыми в ответвлениях. Загрязненный воздух выходит через двери, окна, фонари и щели неочищенным.
При вытяжной системе вентиляции (рис. 4.4, б) загрязненный и перегретый воздух удаляется из помещения через сеть воздуховодов с помощью вентилятора. Загрязненный воздух перед выбросом в атмосферу очищается. Чистый воздух подсасывается через окна, двери, неплотности конструкций.
Приточно-вытяжная система вентиляции (рис. 4.4, в) состоит из двух отдельных систем — приточной и вытяжной, которые одновременно подают в помещение чистый воздух и удаляют из него загрязненный. Приточные системы вентиляции также возмещают воздух, удаляемый местными отсосами и расходуемый на технологические нужды: огневые процессы, компрессорные установки, пневмотранспорт и др.
Для определения требуемого воздухообмена необходимо иметь следующие исходные данные: количество вредных выделений (тепла, влаги, газов и паров) за 1 ч, предельно допустимое количество (ПДК) вредных веществ в 1 м3 воздуха, подаваемого в помещение.
Рис. 4.4. Схема приточной, вытяжной и приточно-вытяжной механической вентиляции: а — приточная; 6 — вытяжная; в — приточно-вытяжная; 1 — воздухоприемник для забора чистого воздуха; 2 — воздуховоды; 3 — фильтр для очистки воздуха от пыли; 4 — калориферы; 5 — вентиляторы; 6 — воздухораспределительные устройства (насадки); 7 — вытяжные трубы для выброса удаляемого воздуха в атмосферу; 8 — устройства для очистки удаляемого воздуха; 9 — воздухозаборные отверстия для удаляемого воздуха; 10 — клапаны для регулирования количества свежего вторичного рециркуляционного и выбрасываемого воздуха; 11 — помещение, обслуживаемое приточно-вытяжной вентиляцией; 12 — воздуховод для системы рециркуляции
Характеристики
Тип файла документ
Документы такого типа открываются такими программами, как Microsoft Office Word на компьютерах Windows, Apple Pages на компьютерах Mac, Open Office - бесплатная альтернатива на различных платформах, в том числе Linux. Наиболее простым и современным решением будут Google документы, так как открываются онлайн без скачивания прямо в браузере на любой платформе. Существуют российские качественные аналоги, например от Яндекса.
Будьте внимательны на мобильных устройствах, так как там используются упрощённый функционал даже в официальном приложении от Microsoft, поэтому для просмотра скачивайте PDF-версию. А если нужно редактировать файл, то используйте оригинальный файл.
Файлы такого типа обычно разбиты на страницы, а текст может быть форматированным (жирный, курсив, выбор шрифта, таблицы и т.п.), а также в него можно добавлять изображения. Формат идеально подходит для рефератов, докладов и РПЗ курсовых проектов, которые необходимо распечатать. Кстати перед печатью также сохраняйте файл в PDF, так как принтер может начудить со шрифтами.
















