561 (642079), страница 2
Текст из файла (страница 2)
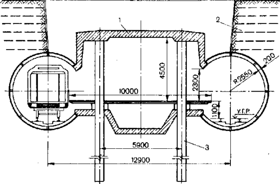
рис.2.1. Конструкция станции колонного типа с плоским консольным перекрытием:
1– обделка путевого тоннеля;
2– консольные плиты сборного перекрытия;
3 – узлы омоноличивания;
4 – стержневая крепь котлована.
Путевые тоннели станции кругового очертания с железобетонной тюбинговой обделкой (внутренний диаметр 5,1 м) предназначены только для размещения в них подвижного состава. Поэтому обделка путевых тоннелей разомкнута к оси станции в уровне верхней линии стены вагона на высоте 2,3 м от пола платформы. Кольца обделки имеют частичную перевязку швов за счет включения в обделку тюбингов, длина дуги которых в два раза меньше, чем у обычных. Это позволяет замковые тюбинги расположить по одной линии и использовать их в качестве элемента сопряжения консольной части плиты перекрытия с обделкой путевых тоннелей. В верхней части обделка опирается на консольную часть перекрытия корытообразной формы, а в нижней — в торец лотковой плиты.
Расстояние между осями путевых тоннелей, равное 12,9 м, соответствует принятой в стране ширине междупутья для станций мелкого заложения с 10-метровой платформой. Для сокращения длины консольной части плиты перекрытия колонны расположены в поперечном сечении станции на минимально допустимом расстоянии от края платформы — 1,7 м.
Консольное перекрытие станции может быть выполнено как в сборном, так и в монолитном исполнении. С учетом значительных размеров и массы сборной консольной плиты перекрытия, ее можно выполнить из двух симметричных элементов, состыкованных по оси станции. В сборном исполнении плиту перекрытия укладывают на ригели, а монолитное безбалочное перекрытие устраивают непосредственно по колоннам.
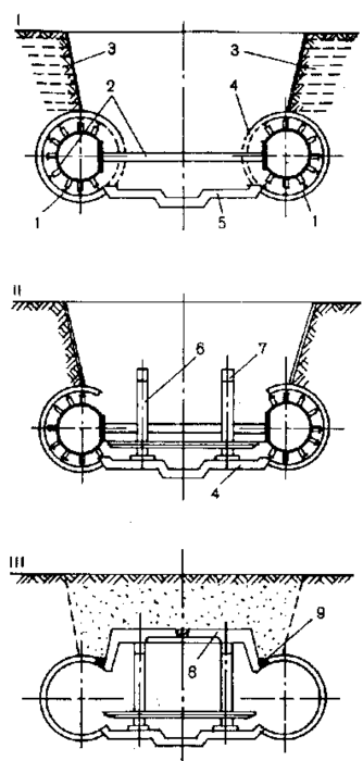
Последовательность выполнения работ по сооружению станции показана на рис. 2.2. Путевые тоннели станции сооружают проходческими щитовыми комплексами перегонных тоннелей. Затем в этих тоннелях устанавливают временное подкрепление в виде рам или специального распорного устройства, после чего приступают к сооружению платформенной части станции. Для этого между тоннелями разрабатывают котлован со стержневым креплением откоса, демонтируют тюбинги временного заполнения обделки путевых тоннелей и устраивают плиту основания.
На подготовленное основание устанавливают два ряда колонн с ригелями, на которые укладывают элементы перекрытия. Их омоноличипают между собой, сваривая выпуски арматуры и укладывая бетонную смесь в стыки. После набора бетоном омоноличивания проектной прочности бетонируют зазор между обделкой путевых тоннелей и консольными выступами плиты перекрытия. Образованные таким способом продольные распределительные балки обеспечивают плотное опирание разомкнутой обделки на плиты перекрытия и равномерную передачу нагрузки. Для обеспечения устойчивости конструкции станции распорную систему снимают после устройства гидроизоляции и обратной засыпки станции грунтом.
Полузакрытый способ работ при сооружении колонной станции обусловливает различные приемы для обеспечения ее водонепроницаемости. Гидроизоляция путевых тоннелей осуществляется в соответствии с методами, предусмотренными для сборных железобетонных обделок перегонных тоннелей Метрополитена, а по перекрытию станции и лотковой плите устраивается оклеечная гидроизоляция в соответствии с приемами, разработанными для конструкций открытого способа работ.
рис.2.2. Последовательность сооружения колонной станции полузакрытым способом
-
путевые тоннели;
-
распорные устройства;
-
стержневая крепь котлована;
-
тюбинги временного заполнения;
-
плита основания;
-
колонны;
-
ригели;
-
элементы перекрытия;
-
продольные распределительные балки;
Рассматриваемый способ сооружении станции включает специальные мероприятия, которые признаны обеспечить устойчивость откоса в верхней части котлована и исключить деформаций и его основании. Учитывая небольшую высоту откоса котлована над обделкой путевого тоннеля, для закреплении откоса рекомендуется использовать армогрунтовую конструкцию в виде стержневой крепи. Чтобы исключить деформацию обделки путевого тоннеля в слабых грунтах, необходимо предусмотрев распорную систему как внутри тоннели, так и между тоннелями.
Избежать сложной распорной системы подкрепления путевых тоннелей позволяет конструкция станции, показанная на рис.2.3. Ее конструктивная форма мало отличается от рассмотренные выше, но особенность производства работ при сооружении этой станции позволяет обойтись без сложной системы временах подкрепления путевых тоннелей. Колоннами такой станции служат буронабивные сваи, основание которых заглубляют ниже лотковой плиты. Величину заглубления определяют из расчета несущей способности буронабивной сваи в данных инженерно геологических условиях. На сваи-колонны опирается перекрытие, консольные выступы которой омоноличены с обделкой путевого тоннеля через специальные элементы, входящие кольца обделки путевых тоннелей. Таким элементом может служить замковый тюбинг железобетонной обделки, выполненный без спинки, или специально изготовленный стальной элемент, наружные размеры которого соответствуют стандартному замковому тюбингу обделки путевого тоннеля. Жесткую связь обделки с консолью плиты перекрытия обеспечивает арматура плиты, пропускаемая внутрь замкового тюбинга, который затем заполняют бетонной смесью.
Р
ис. 2. 3. Конструкции станции с буронабивными сваями-колоннами:
1 — монолитный железобетон;
2 — стержневая крепь;
3 — буронабивные сваи;
Сооружение станции ведут в следующем порядке (рис. 2.4). Сначала проходят путевые тоннели станции, в кольца обделки которых по одной линии вмонтированы замковые элементы. Затем приступают к разработке котлована между ними до отметки, соответствующей низу перекрытия станции. С этой отметки бурят скважины и бетонируют сваи-колонны. После устройства буронабивных свай по краям котлована вдоль станции разрабатывают дне траншеи до обделки путевых тоннелей и приступают к бетонированию монолитного железобетонного перекрытия.
Рис. 2. 4. Последовательность сооружения станции с буронабивными сваями-колоннами (I-III этапы):
1 — путевые тоннели; 2 — замковые элементы обделки; 3 — отметка, соответствующая низу перекрытия станции; 4 — сваи-колонны;
5 — монолитное железобетонное перекрытие; 6 — элементы временного заполнения;
После того, как бетон перекрытия достигнет проектной прочности, устраивают гидроизоляцию, производят обратную засыпку конструкции грунтом, восстанавливают дорожное покрытие над строящейся станцией и открывают движение юродскою транспорта. Дальнейшую разработку грунта в объеме платформенного чала станции, демонтаж элементов временного заполнения обделки путевых тоннелей, устройство лотковой плиты и платформы производят под защитой перекрытия заходками из открытой поперечной камеры, расположенной в торце станционного комплекса, где установлено необходимое оборудование для обеспечения проходческих и монтажных работ. Достоинство предложенных вариантов конструктивных решений заключается в том, что обделка перегонных тоннелей, возведенная на протяжении станции, является конструктивным элементом всех сооружений станционного комплекса, что позволяет не прекращать технологический процесс по сооружению перегонных тоннелей на линии. Кроме того, это существенно сокращает трудоемкость работ и сроки сооружения станции за счет уменьшения объема работ прежде всего по разработке грунта и креплению незначительных по высоте стен котлована, а также по устройству в этом котловане лишь «недостающих» частей станционных сооружений. Предварительные расчеты показывают, что сооружение станции с путевыми тоннелями кругового очертания по сравнению с типовым проектом колонной станций (ТС-109) позволит получить экономический эффект 20-25%.
Уменьшение ширины котлована до размеров посадочной плата формы станции дает возможность сооружать станцию в условий плотной городской застройки, а также осуществлять строительство станции на действующей линии метрополитена мелкого заложения. В последней случае в обделке участке перегонных тоннелей, где в перспективе намечено строительство станции, необходимо предусмотреть элементы, позволяющие разомкнуть кольца при сооружении среднего зала по указанной выше схеме.
Опыт строительства метрополитена показывает, что на строящейся линии целесообразно варьирование несколькими конструктивными схемами станций. Не изменяя принципиально приведенные выше конструкции станций, эту задачу можно решить, если придать перекрытию сводчатое очертание (рис. 2.5). Помимо улучшения архитектурных форм станции (при неизменной высоте колонн увеличивается высота среднего зала) в сводчатом консольном перекрытии достигается более удачное распределение усилий, а консольные его части работают практически исключительно на изгиб.
Примером иного конструктивного решения станции, которое позволяет сохранить принцип поточной технологии работ, основанной на транзитной проходке перегонных тоннелей, может служить полносборная железобетонная станция распорно-рамными конструкциями (рис. 2.6).
Путевые тоннели станции предназначены только для размещения подвижного состава. Обделка этих тоннелей внутренним диаметром 5,1 м включает опорные тюбинги, которые имеют на половине длины срезанные борта и образуют сверчу снизу проема продольные пазы на всем протяжении путевого тоннеля. В пазах расположены продольные балки-перемычки, которые воспринимают нагрузку от разомкнутых колец. Опорами для этих балок-перемычек служат консольные выступы жестко замкнутых рам.
Р
ис.2.5. Конструкция станции со сводчатым консольным перекрытием
-
стержневая крепь;
-
буронабивные сваи колонны;
Рис.2.6. Станция распорно-рамной конструкции
1 – обделка путевых тоннелей
2 – опорные тюбинги;
3 – продольные балки-перемычки;
4 – замкнутая рама с консольными выступами;
5 – стержневая крепь;
Распорно-рамная конструкция станции обеспечивает устойчивость обделки путевых тоннелей в процессе производства работ без каких-либо специальных вспомогательных устройств оборудования.
К разработке котлована под платформенный зал станции приступают после тога, как бетон омоноличивания сборных и монолитных железобетонных балок достигнет проектной прочности.
Котлован между тоннелями разрабатывают вдоль оси станции захватками по 20-30 м. На этих участках по мере углублен котлована демонтируют тюбинги временного заполнения кольца, в створе с которым будут расположены жесткие замкнутые рамы. Дойдя до отметки лотка станции, бетонируется обратный свод. Затем поперек станции устанавливают жесткие замкнутые рамы так, чтобы консольные части ригелей зашли в прорези, образовавшиеся при демонтаже колец, под балки-перемычки. Стыки элементов рам омоноличивают. По рамам укладывают плиты перекрытия и производят обратную засыпку. Только после обратной засыпки демонтируют оставленные между рамами тюбинги временного заполнения обделки путевых тоннелей. Новые возможности для выбора оптимальных конструктивных и технологических решений при полузакрытом способе сооружения станции открываются при использовании конструктивной схемы односводчатой станции, обделка которой представляет собой пологие верхний и обратный своды, опирающиеся на массивные опоры кругового очертания. В определенных условиях обратный свод может быть заменен лотковой плитой. Полые опоры свода выполнены из монолитного бетона в тоннелях, пройденных перегонными щитовыми комплексами. На рис. 2.7 представлены варианты такой конструкции с монолитным (а) и сборным (б) исполнением верхнего свода.
рис.2.7. Конструкция односводчатой станции
Технология сооружения такой станции чрезвычайно проста (рис. 2.8,а). После проходки опорных тоннелей и бетонирования опор разрабатывают котлован, устраивают обратный свод и платформу. На следующем этапе с помощью передвижной самоходной опалубки бетонируют свод станции монтируют его из двух железобетонных полуарок и производя обратную засыпку.
В отличие от традиционных конструкций односводчатой станций, сооружаемых из монолитного железобетона, рассмотренных вариантах значительно снижен расход арматурной стали за счет замены густоармированных стен опорами из монолитного бетона. Кроме того, массивные опоры существенно снижают степень воздействия вибрации и шума на расположенные вблизи станции здания и сооружения. Наличие полостей в опорах позволяет использовать их для эффективной вентиляции. Наиболее важными являются технологические преимущества конструкции, обеспечивающие в сжатые сроки выполнение сложных и однотипных работ на всем протяжении станционного комплекса (при размещении под единым сводом всех сооружений комплекса, включая оборотные тупики) и открывающие возможность организации работ по гибкой технологии с учетом конкретных условий строительства.
Так, при необходимости быстро восстановить проезжую часть над станцией в условиях интенсивного транспортного потока, целесообразна организация работ по схеме, показанной рис. 2.8,6. После бетонирования опор котлованы разрабатывает только до уровня опорных тоннелей, демонтируют верхнюю час их обделки, сооружают свод и производят обратную засыпку восстанавливая движение городского транспорта над строящейся станцией. Затем под прикрытием свода ведут разработку грунта в сечении станции, устраивают обратный свод и монтируют платформу. Выдачу грунта, доставку материалов и элементов конструкций производят через поперечные траншеи в торце станции, которые были разработаны ранее.
В указанной последовательности могут быть выполнены работы и на отдельных участках строительства односводчатой станции местах пересечения ее городскими транспортными магистралям где через котлован в сжатые сроки будут возведены своеобразии арочные мосты, представляющие собой своды перекрытия станции.
















