101399 (630933), страница 6
Текст из файла (страница 6)
Вопрос №29. Организационная культура. Влияние культуры на организационную эффективность
Различается два пути влияния культуры на организационную жизнь. Первый — культура и поведение взаимно влияют друг на друга. Второй — культура влияет не столько на то, что люди делают, сколько на то, как они это делают. Существуют различные подходы к выделению набора переменных, посредством которых прослеживается влияние культуры на организацию. Обычно эти переменные выступают основой анкет и вопросников, которые используются для описания культуры той или иной организации.
Модель Сате. Влияние культуры на организационную жизнь В. Сате рассматривает через семь процессов:
• кооперация между индивидами и частями организации;
• принятие решений;
• контроль;
• коммуникации;
• посвященность организации;
• восприятие организационной среды;
• оправдание своего поведения.
При этом первые три процесса корреспондируются с первым, поверхностным уровнем организационной культуры или образцами организационного поведения, а следующие четыре — со вторым, подповерхностным уровнем, имеющим «ценностную» основу. От того, как эти процессы протекают, зависит эффективность функционирования организации.
Вопрос №30. Адаптивные (Органические) структуры. Конгломеративные структуры
Органический подход к проектированию организации характеризуется слабым или умеренным использованием формальных правил и процедур, децентрализацией и участием работников в принятии решений, широко определяемой ответственностью в работе, гибкостью структуры власти и небольшим количеством уровней иерархии. Этот подход демонстрирует свою эффективность в условиях, когда используется нерутинная технология (высокая неопределенность того, когда, где и как выполнять работу) и имеется сложное и динамичное внешнее окружение. Органический подход позволяет организации лучше взаимодействовать с новым окружением, быстрее адаптироваться к изменениям, т.е. являться более гибкой. Чтобы нагляднее отобразить суть органического подхода, его можно представить как прямую противоположность «идеальной» бюрократии. Если механистический подход ориентирует организацию на высокоструктурированные роли, то описание работы при органическом подходе может состоять всего из одной фразы: «Делайте то, что Вы считаете необходимым, чтобы выполнить работу». Так же и при принятии решения: «Bы эксперт в этом деле, Вам и решать». При органическом подходе, в силу отсутствия ясных оценок и стандартов, работником больше движет самомотивация и внутреннее вознаграждение, чем четко разработанная система формального контроля.
Конгломеративная структура состоит из основной и дочерней фирмы. Основная особенность таких структур - почти полное отсутствие связи между дочерними фирмами.
Вопрос №31. Организационная культура. Соответствие культуры принятой стратегии
Перед каждой фирмой стоит вопрос о соответствии ее стратегий существующей в организации культуре.
Для того чтобы ответить на этот вопрос, необходимо разложить стратегию как единое целое на составные части (задачи), образующие широкую программу стратегических действий. Взяв эти задачи за снову анализа, можно рассмотреть их с двух позиций:
- важность каждой задачи для успеха данной стратегии;
- совместимость между задачей и тем аспектом организационной культуры, который призван ее обеспечить.
Выделяется четыре основных подхода к разрешению проблемы несовместимости стратегии и культуры в организации:
- игнорируется культура, серьезным образом препятствующая эффективному проведению в жизнь выбранной стратегии;
- система управления подстраивается под существующую в организации культуру; этот подход строится на признании имеющихся барьеров, создаваемых культурой для выполнения желаемой стратегии, и выработке альтернатив по «обходу» этих препятствий без внесения серьезных изменений в саму стратегию. Так, при переходе от механистической к органической схеме организации во многих производствах долгое время не удается изменить культуру на сборочных участках. В этом случае данный подход может помочь в решении проблемы;
- делаются попытки изменить культуру таким образом, чтобы она подходила для выбранной стратегии. Это наиболее трудный подход, занимающий много времени и требующий значительных ресурсов. Однако бывают такие ситуации, когда он может быть основным для достижения долговременного успеха фирмы;
• изменяется стратегия с целью ее подстраивания под существующую культуру.
Выводы, к-ые могут быть сделаны из этого краткого рассмотрения вопросов совместимости культуры и стратегии в организации, свидетельствуют о том, что все усилия должны быть предприняты для минимизации возникающего риска.
Вопрос №32. Национальные особенности организационной культуры
Все составляющие непосредственным образом оказывают влияние на формирование определенной национальной национальной культуры , которая чаще всего принимается во внимани при формировании культуры организации, действующей в данном обществе.
Велико влияние национального в организационной культуре. При изучении национального в организационной культуре решаются 2 вопроса: что надо знать о национальной культуре, чтобы предвидеть её влияние на культуру орг-ции; можно ли «сращивать» лучшее из разных национальных культур в рамках одной деловой орг-ции в целях повышения её эффективности?
При ответе на первый вопрос используются различрые модели, наприер, модель Дж. Миллера – системный подход.в указанных целях могуттакже изучаться группы элементов, формирующих состояние данного общества: территория, природа и климат; язык, вера, мораль и право; семья, воспитание и образование; формы социализациижизни людей; способ ведения хозяйства, экономика и бизнес; политика, история и образ правления.
Теория «Z» Оучи делает попытку ответа на второй вопрос о синергии разных культур.
Таблица 10.8. Модель организации типа «Z» У. Оучи
| «Культурные» переменные | Характеристики в японских компаниях | Характеристики в американских компаниях типа «Z» | Характеристики в типичных американских компаниях |
| Наем | Пожизненный | Долговременный | Кратковременный |
| Оценка и продвижение | Качественное и медленное | Качественное и медленное | Количественное и быстрое |
| Карьера | Широкоспециализированная | Умеренноспециали-зированная | Узкоспециализиро ванная |
| Механизм контроля | Неясный и неформальный | Неясный и неформальный | Ясный и формальный |
| Принятие решения | Групповое и консенсусное | Групповое и консенсусное | Индивидуальное |
| Ответственность | Групповая | Индивидуальная | Индивидуальная |
| Интерес к человеку | Широкий | Широкий | Узкий |
В модели используется сравнительный анализ семи организационных переменных в преломлении к национальным особенностям и по его результатам формируется культура типа «Z». Данный подход интересен в условиях интернациолизации и глобализации бизнеса.
Вопрос №33. Коммуникации в управлении. Общее понятие. Процесс коммуникации
Управление в организации осуществляется через людей. Одним и важнейших инструментов управления в руках менеджера является находящаяся в его распоряжении информация. Используя и передавая эту информацию, а также получая обратные сигналы, он организует, руководит и мотивирует подчиненных. Многое зависит от его способности передавать информацию таким образом, чтобы достигалось наиболее адекватное восприятие данной информации теми, кому она предназначена.
В процессе коммуникации информация передается от однс субъекта другому. Субъектами могут выступать отдельные личност группы и даже целые организации. В первом случае коммуникация носит межличностный характер и осуществляется путем передачи идей, фактов, мнений, намеков, ощущений или восприятий, чувств и отношений от одного лица другому в устной или какой-либо другой форме (письменно, жесты, поза, тон голоса и т.п.) с целью получения в ответ желаемой реакции.
Коммуникация и информация различные, но связанные между собой понятия. Коммуникация включает в себя и то, что передается и то, как это «что» передается. Для того чтобы коммуникация состялась, необходимо, как минимум, наличие двух людей.
Коммуникация предъявляет требования к каждому из участников управленческого взаимодействия. Так, каждый из участников должен обладать всеми или некоторыми способностями: видеть, слшать, осязать, воспринимать запах и вкус. Эффективная коммуникация требует от каждой из сторон определенных навыков и умений также наличия определенной степени взаимного понимания.
Термин «коммуникация» происходит от латинского «communis», означающего «общее»: передающий информацию пытается установить «общность» с получающим информацию. Отсюда коммуникация может быть определена как передача не просто информации, а значения или смысла с помощью символов.
Эффективная межличностная коммуникация очень важна для успеха в управлении. Во-первых, решение многих управленческих задач строится на непосредственном взаимодействии людей.
Во-вторых, межличностная коммуникация является лучшим способом обсуждения и решения вопросов.
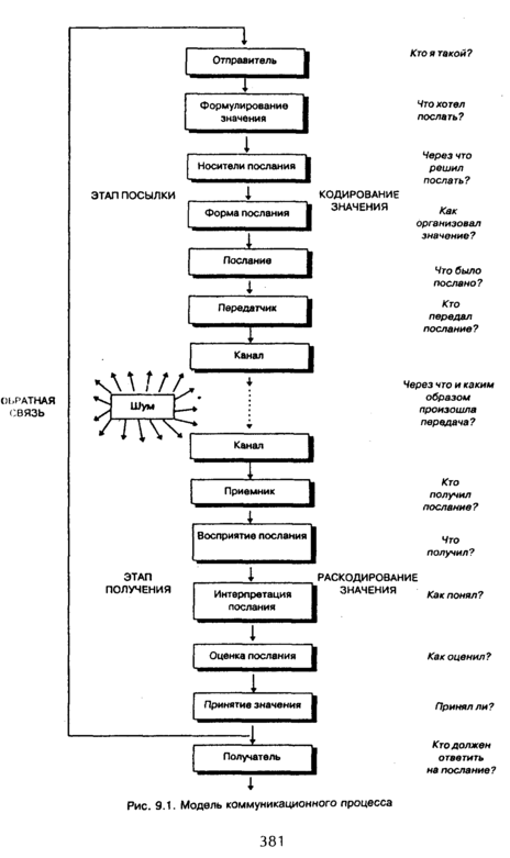
Процесс коммуникации
Углубленное изучение межличностной коммуникации предполагает рассмотрение ее как процесса, состоящего из этапов и стадий.
Этап отправления включает в себя следующее шаги.
Тот, кто передает информацию, называется отправителем.Это ключевая роль, заключающаяся в проектировании и кодировании информации. Выполнение данной роли начинается с индентификации индивидом себя (кто я такой) в рамках коммуникационного процес и формулирования значения или смысла того, почему и что он хочет передать другому участнику. За этим следует кодирование идеи.
Кодирование — это трансформирование предназначенного для передачи значения в послание или сигнал, который может быть передан. Кодирование в коммуникационном процессе начинается с выбора системы кодовых знаков — носителей информации. Носителям могут быть звук, свет, температура, запах, вкус, атмосферное давление и физические действия. Далее носители организуются в опрделенную форму, которой могут быть речь, текст, рисунок, поступок т.д. Умение говорить, писать, жестикулировать, позировать играют важную роль в способности отправителя кодировать передаваемое значение.
Чем больше различие между тем, что было передано и что было получено, тем беднее межличностная коммуникация. Полное различие в переданном и полученном значениях означает отсутствие участников процесса чего-то общего.
Послание посредством передатчика поступает в передаюг. канал, доводящий его до заданного адресата. Передатчиком может быть как сам человек (его тело и голос), так и техническое средство (телефон, радио, телекс, телефакс, телевизор, компьютер и т.п.). Как только передача послания или сигна началась, коммуникационный процесс выходит из под контроля средства или человека, его пославшего. Отправленное послание обратно вернуть уже нельзя. В этот момент заканчивается этап отправления и начинается этап получения.















