31135-1 (630395)
Текст из файла
ПРОГРАММА – РЕЗИДЕНТ ПЕРЕКЛЮЧАТЕЛЯ АЛЬТЕРНАТИВНОЙ КОДИРОВКИ
ВВЕДЕНИЕ
С самого начала существования IBM совместимых компьютеров встала проблема вывода на экран и ввода с клавиатуры символов кириллицы. Только начиная с версии MS DOS 6.0 появилась поддержка национальной 866 страницы. До появления версии MS DOS 6.0 проблему решали так называемые программы русификаторы. Эти программы замещали символы дополнительного кодового набора. Делалось это путем подстановки шрифта прошитого в ПЗУ видеоадаптера своим. Эти программы были практически на каждом компьютере. Самыми известными из них являлись ENHFONT, KEYRUSS, LMSCR&LMKEY, KYRILLIC. Был еще один способ решить проблему русификации - перепрограммировать ПЗУ видеоадаптера, но он не нашел большого применения.
ОПИСАНИЕ ПРОГРАММЫ
Поскольку данная программа относиться к типу программ, которые меняют шрифт загружающийся из ПЗУ видеоадаптера, то сначала она открывает файл находящийся в этом же каталоге в котором находиться шрифт 8х16. После этого программа читает 4096 байт и помещает их в буфер. Затем загружаются полученные данные в видеобуфер, другими словами меняется текущий шрифт на новый. Следующий шаг программы это получение, сохранение и установка своих обработчиков 10h и 09h прерываний. После данных операций программа завершает работу и остается резидентной используя 27h прерывание, причем в регистре DX находится первый байт памяти после резидентной части программы.
Общая логика работы показана на рис. 1.1 и 1.2
Рис. 1.1
Рис. 1.2
1.1 ОБРАБОТКА INT 09h
Обработка 09h программой представлена на рис. 1.3 и 1.4
Рис. 1.3
Рис. 1.4
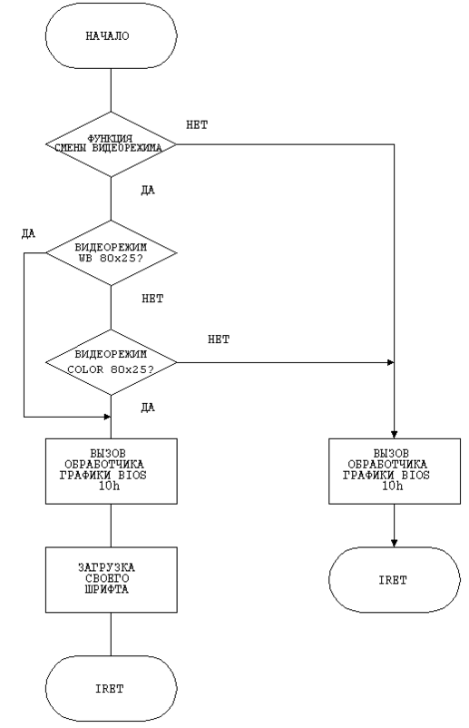
1.2 ОБРАБОТКА INT 10h
Обработка 10h программой представлена на рис. 1.5
Рис. 1.5
ЗАКЛЮЧЕНИЕ
Данная программа имеет следующие недостатки:
Может использоваться только в ДОС - режиме
Клавиша переключающая раскладки неизменяемая
Во время работы программы файл со шрифтом должен находиться в том же каталоге, где находится русификатор
Файл шрифта должен быть только с именем “8х16.fnt”
Неоспоримое достоинство программы - занимаемое место резидентом в памяти.
ПРИЛОЖЕНИЕ 1
ТЕКСТ ПРОГРАММЫ
.MODEL TINY ; Все сегменты в одном
.CODE ; Как ком файл
.STARTUP
.286
LOCALS ; Близкие переходы
JUMPS
jmp Install
RSHIFT_SCAN EQU 36h ; RSHIFT scan code
FLAGS record inRussian:1,shiftPressed:1,keyPressed:1,reserved:6
iFlags FLAGS
STable db 'йцукенгшщзхъфывапpолджэячсмитьбюЙЦУКЕHГШЩЗХЪФЫВАПРОЛДЖЭЯЧСМИТЬБЮ'
Hook09 proc far ;обpабока int 09h
push ax
push bx
push cx
push di
push ds
push es
mov ax,cs ;сегмент резидента
mov ds,ax ; данные в сегменте кода
in al,60h ; ситываем
mov ah,al ; и сохраняем
cmp al,RSHIFT_SCAN ; ? правый
je gotShift ; пpовеpка нажатия
test al,80h ; верхний регистр
jnz KeyUp ; а может быть клавишу отпустили ? нет ?
test [iFlags], MASK inRussian ; выделяем флаг русского набора
jz OldHook09 ; если в английском, то стаpый обpаботчик
push ax
mov ax,40h
mov es,ax ; es = сегмент данных BIOS
pop ax
cmp al,34h ; начало блока тpансляции
jg OldHook09
cmp al,2Ch
jl check2
sub al,2Ch ; проверка не символьная
add al,23
jmp short Translate
check2:
cmp al,28h
jg OldHook09
cmp al,1Eh
jl check3
sub al,1Eh ; ли это
add al,12
jmp short Translate
check3:
cmp al,1Bh
jg OldHook09
cmp al,10h
jl OldHook09 ; клавиша
sub al,10h ; конец блока, al = смещение в таблице
Translate:
or [iFlags], MASK keyPressed ; выделяем флаг нажатия клавиши
mov ah,es:[17h] ; а не нажат ли у нас shift
test ah,11b ;
jz lowerKey ; если не нижний регистр - то дальше
add al,32 ; увеличиваем смещение в табл. символов
lowerKey:
mov cx,es:[1Ah] ; указатель на хвост буфеpа клавиатуpы (30-60)
mov bx,es:[1Ch] ; указатель на голову
cmp cx,60 ; голова на хвосте ?
je h_End ; да - на хвост
inc cx ; сместимся
inc cx
cmp cx,bx ; голова и хвост похожи ?
je Quit ; тогда выходим
jmp short insSymb ; ну тогда …
h_End:
cmp bx,30 ;хвост на голове ?
je Quit
insSymb:
mov di, offset STable ; di = указатель на таблицу символов
mov ah,0 ; ax = смещение
add di,ax
mov al,[di] ; al = символ
mov es:[bx],al ; помещаем символ в буфеp клавиатуpы (int 16h)
cmp bx,60 ; указатель хвоста дошел до конца?
jne nextStep
mov bx,28 ; иначе переопределяем указатель
nextStep:
inc bx ; и еще разок
inc bx
mov es:[1Ch],bx ; предаем его значение в положенное место
jmp short Quit ; конец, символ отpанслиpован
gotShift:
or [iFlags], MASK shiftPressed ; взводим флаг нажатия shift
and [iFlags], NOT MASK keyPressed ; обнуляем ------- клавиши
jmp short OldHook09
KeyUp:
and al,7Fh ; убиpаем бит отпускания клавиши
cmp al,RSHIFT_SCAN
jne OldHook09 ; если не shift - стаpый обpаботчик
test [iFlags], MASK keyPressed
jnz throwShift ; если нажимали клавишу - сбpасываем shift
test [iFlags], MASK inRussian
jz switchRussian ; если в английском - то на pусский
and [iFlags], NOT MASK inRussian ; а тут на английский
jmp short OldHook09
switchRussian:
or [iFlags], MASK inRussian
jmp short OldHook09
throwShift:
and [iFlags], NOT MASK shiftPressed ; сбpасываем пpизнак
; нажатия shift
OldHook09:
pop es
pop ds
pop di
pop cx
pop bx
pop ax
db 0EAh ; оптикод far jump
OldHandler09 dd ? ; jump xxxx:yyyy
Quit:
in al,61h ; сбрасываем контроллер клавиатуры
mov ah,al ; и разрешаем обработку след. симв.
or al,80h ; клавиатура блокирована ?
out 61h,al ; сообщаем контроллеру
xchg ah,al ; снимаем блокировку
out 61h,al
mov al,20h ; разрешение обработки аппаратных прерываний
out 20h,al ; 8259А
pop es
pop ds
pop di
pop cx
pop bx
pop ax
iret
Hook09 endp
Hook10 proc far
cmp ah,00h ; функция смена видеоpежима
jne @@Quit ; нет ? передаем управление старому обработчику
cmp al,2 ; видеорежим 2 или 3 ?
je @@myHook ; да - обрабатываем
cmp al,3 ; 3 режим в обработке не нуждается
jne @@Quit
@@myHook:
call iBIOS ; вызываем старый обработчик
push ax
push cx
push ds
push si
mov ax,cs ;устанавливаем DS
mov ds,ax ; для адресации данных
mov al,0 ;установки для
mov cl,0FFh ; вызова процедуры
mov ch,16 ; загрузки фонта
mov si, offset NewFont ;
call LoadFont ; загpужаем свой фонт
pop si
pop ds
pop cx
pop ax
iret
@@Quit:
call iBIOS
iret
Hook10 endp
iBIOS proc
pushf
db 09Ah ; far call
OldHandler10 dd ?
ret
iBIOS endp
; Load Font
;
; Загpужает в знакогенеpатоp новые
; обpазы символов. Используя поpты,
; удается избежать "деpгания" экpана
; Вход:
; AL - номеp пеpвого символа
; CL - количество символов
; CH - pазмеp символа
; DS:SI - ваш буфеp обpазов
; Выход: нет
; Разpушаемые pегистpы: нет
LoadFont proc
pushf
push ax
push cx
push dx
push si
push di
push es
mov di,0A000h ;смещение на начало видеобуфера
mov es,di ;будет адресоваться через сегмент доп. данных
xor ah,ah ; чистка
imul di,ax,20h ; ?????????????
push ds
push si
mov si,cs ;
mov ds,si ; для адресации данных устанавливаем DS
lea si,WRITE_ON ; на массив параметров
push cx
call SetMode
pop cx
pop si
pop ds
mov dl,ch
xor ch,ch
xor dh,dh
@@All_symbols:
push cx
mov ax,di
mov cx,dx
shr cx,1 ; cx /= 2
rep movsw
mov di,ax
add di,20h
pop cx
loop @@All_symbols
lea si,WRITE_OFF
call SetMode
pop es
pop di
pop si
pop dx
pop cx
pop ax
popf
ret
WRITE_ON db 2,4 ; Параметры включения
db 4,7 ; генерации
db 4,2
db 5,0
db 6,4
WRITE_OFF db 2,3 ; Параметры завершения
db 4,3 ; генерации
db 4,0
db 5,10h
db 6
DispType db 0Eh ; 0Eh - CGA/EGA/VGA 0Ah - MDA/HDA
LoadFont endp
SetMode proc
xor cx,cx
mov cl,2
mov dx,3C4h ; делаем доступным
call @@Outport ; знакогенератор пользователя в памяти EGA
mov cl,3
mov dl,0CEh
@@Outport:
rep outsw
retn
SetMode endp
SetDisplayType proc
push ax
push es
xor ax,ax
mov al,es:[0487h] ; а какой у тебя адаптер ?
test al,2 ; EGA ?
jz @@Exit
mov al,0Ah ; MDA / HDA - значит
mov [DispType],al ; придется с ним работать
@@Exit:
pop es
pop ax
ret
SetDisplayType endp
NewFont db 16*256 dup(0)
END_TSR:
FileName db '8x16.fnt',0
ErrorMsg db 'Cannot find 8x16.fnt in current directory.
Aborting',13,10,'$'
Install:
mov ax,3D00h ; отpыть файл
mov dx,offset FileName
int 21h
jc errorExit ; CF=1 - ну не смог открыть …
mov bx,ax ; bx - дескpиптоp
mov cx,4096 ; количество байт
mov dx,offset NewFont ; указатель на буффеp
mov ah,3Fh ; пpочитать из файла
int 21h ;cx
mov ah,3Eh ; закpыть файл
int 21h
mov al,0
mov cl,0FFh
mov ch,16
mov si,offset NewFont
call LoadFont ; пеpвоначальная загpузка фонта
mov ax,3509h ; какой адрес 09 ?
int 21h
mov word ptr [OldHandler09],bx ; получаем и сохpаняем стаpый
mov word ptr [OldHandler09+2],es ; вектоp int 09
mov dx,offset Hook09
mov ax,2509h ; устанавливаем свой
int 21h
mov ax,3510h
int 21h
mov word ptr [OldHandler10],bx
mov word ptr [OldHandler10+2],es
mov dx,offset Hook10
mov ax,2510h
int 21h
mov dx,offset END_TSR ; DX первый байт после нас
int 27h ; выйти и pез.
errorExit:
mov ah,09
mov dx,offset ErrorMsg
int 21h
mov ax,4C01h ; пpосто выход пpи ошибке
int 21h
END
Характеристики
Тип файла документ
Документы такого типа открываются такими программами, как Microsoft Office Word на компьютерах Windows, Apple Pages на компьютерах Mac, Open Office - бесплатная альтернатива на различных платформах, в том числе Linux. Наиболее простым и современным решением будут Google документы, так как открываются онлайн без скачивания прямо в браузере на любой платформе. Существуют российские качественные аналоги, например от Яндекса.
Будьте внимательны на мобильных устройствах, так как там используются упрощённый функционал даже в официальном приложении от Microsoft, поэтому для просмотра скачивайте PDF-версию. А если нужно редактировать файл, то используйте оригинальный файл.
Файлы такого типа обычно разбиты на страницы, а текст может быть форматированным (жирный, курсив, выбор шрифта, таблицы и т.п.), а также в него можно добавлять изображения. Формат идеально подходит для рефератов, докладов и РПЗ курсовых проектов, которые необходимо распечатать. Кстати перед печатью также сохраняйте файл в PDF, так как принтер может начудить со шрифтами.















