168694 (625177), страница 2
Текст из файла (страница 2)
Размер пробы. Размер введенной пробы анализируемой смеси должен быть таким, чтобы не вызывать перегрузку колонки. При введении пробы больше максимально допустимой изменяются времена удерживания. Особенно важно не перегружать капиллярную колонку, так как ее эффективность сильно падает с перегрузкой.
Способ дозирования. Пробу можно ввести быстро, в виде узкой полосы или медленно, в виде разбавленной полосы. Первый способ введения — «метод поршня» — идеальный, второй — «способ экспоненциального разбавления» может приводить к дополнительному размыванию полосы. Способ дозирования в реальных случаях занимает промежуточное состояние между этими крайними случаями. В общем случае ширина дозируемой пробы должна быть значительно меньше ширины полосы вещества, получаемого на выходе из колонки.
Чувствительность, линейность, инерционность и стабильность детектора. Назначение детектора — регистрация выходных кривых в виде сигналов (пиков) достаточной амплитуды, необходимых для количественных измерений. Для точных количественных измерений необходимо, чтобы
-
детектор не искажал истинную форму полосы, образующейся на слое сорбента, другими словами, детектор должен быть малоинерционен, постоянная времени — небольшой;
-
показания детектора были пропорциональны концентрации или количеству дозируемых веществ, т.е. детектор должен обладать достаточно широкой областью линейности;
-
запись сигнала была устойчивой, не должно быть флуктуации нулевой линии или же монотонного смещения нулевой линии в течение длительного времени (дрейфа нулевой линии).
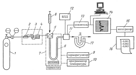
1. 2. Аппаратура для газовой хроматографии. Функциональная схема газового хроматографа
В аналитических хроматографах используют проявительный вариант хроматографии, в этом случае газ-носитель непрерывно продувается через хроматографическую колонку. Расход газа-носителя создается за счет перепада давления на входе и выходе колонки.
Рис. 3. Функциональная схема газового хроматографа
Схема современного газового хроматографа изображена на рис. 3. Для создания перепада давления через колонку хроматограф подсоединяют к источнику со сжатым газом 1 (баллонная или лабораторная линия со сжатым газом). Через колонку поток газа-носителя должен проходить с постоянной и определенной скоростью, поэтому на входе в колонку на линии газа-носителя устанавливают регулятор и стабилизатор расхода газа-носителя 2 и измеритель расхода газа 3. Если газ-носитель загрязнен нежелательными примесями, то в этом случае устанавливается еще фильтр 4. Таким образом, на входе в колонку подключается ряд устройств, часто объединяемых в один блок (блок подготовки газа), назначение которого — установка, стабилизация, измерение и очистка потока газа-носителя. Перед входом в колонку устанавливается устройство для ввода анализируемой пробы в колонку — дозатор-испаритель 5. Обычно анализируемую пробу вводят микрошприцем 8 через самозатекающее термостойкое резиновое уплотнение в дозаторе, газовые пробы вводят дозирующим шестиходовым краном.
Анализируемая проба, введенная в дозатор, захватывается потоком газа-носителя (если анализируемая проба — жидкость, то она предварительно переходит в дозаторе-испарителе в парообразное состояние) и направляется в хроматографическую колонку 6. За счет различной сорбируемости компоненты смеси будут с разной скоростью продвигаться по колонке. Вещества, которые сорбируются слабо, будут продвигаться по колонке с большей скоростью и выходить первыми. Сильносорбируемые вещества будут продвигаться по колонке медленнее.
Если выбран достаточно селективный сорбент и подобраны оптимальные условия, то на выходе колонки компоненты смеси будут полностью разделены. Детектор 11 зарегистрирует присутствие разделенных компонентов в газе-носителе. Эти сигналы в случае необходимости усиливаются (усилитель 13) и регистрируются на шкале вторичного самопишущего прибора 14 или дисплея ПЭВМ в виде выходных кривых (или пиков). Для обеспечения стабильного режима работы детектора используется блок питания детектора 12.
Сорбируемость веществ зависит от температуры. Для исключения влияния колебания температуры на результаты разделения, колонку помещают в специальную камеру-термостат, температура которой устанавливается и поддерживается терморегулятором 9. В случае необходимости температура колонки в процессе разделения может изменяться по определенной программе с помощью блока программирования температуры 10.
Высота или площадь пика пропорциональны количеству или концентрации компонента в смеси. Площадь пика может быть измерена с помощью электронного интегратора 15 или ПЭВМ. Значения площадей пиков могут быть отпечатаны на бумажном носителе.
Таким образом, перед хроматографическим анализом необходимо провести следующие операции на приборе:
-
открыть вентиль баллона со сжатым газом и установить по манометру или специальному измерителю определенный расход газа-носителя;
-
включить питание детектора;
-
установить необходимую температуру в термостате колонок;
-
включить самопишущий прибор, интегратор или ПЭВМ, после выхода прибора на устойчивый режим (через 30–60 мин.) микрошприцем отобрать и ввести в дозатор-испаритель анализируемую пробу.
Все дальнейшие операции проходят без участия оператора: компоненты пробы разделяются на колонке, регистрируются в детекторе, записываются на диаграммной ленте вторичного прибора, интегратор или ПЭВМ определяет площадь пика, а в случае применения ПЭВМ с принтером можно сразу получить полный протокол — хроматограмму с распечатанной рядом таблицей концентраций разделенных компонентов.
Элементы блока подготовки газов
Как было указано выше, назначение блока подготовки газов (БПГ) или системы подготовки газов — очистка, установка, регулировка стабилизация и измерение газовых потоков: газа-носителя, воздуха, водорода и других дополнительных газовых потоков. Поддержание стабильного потока газа-носителя важно для получения воспроизводимых значений параметров удерживания и параметров пиков. Колебания расходов газа-носителя влияют на шумы (флуктуации) детектирующих систем.
Основные элементы БПГ: дроссель, регулятор давления и регулятор расхода.
Дроссель изменяет расход газа путем изменения сопротивления канала, по которому проходит газ.
Регулятор давления стабилизирует давление на входе в колонку при возможных внешних колебаниях давления газа. Специальная мембрана в регуляторе давления воспринимает изменение давления газа и передает соответствующее смещение исполнительному механизму.
В режиме программирования температуры термостата сопротивление колонки повышается, а расход падает. В этом случае для сохранения постоянного расхода в колонке используется регулятор расхода. При падении расхода в связи с увеличением сопротивления в колонке регулятор расхода повышает входное давление настолько, чтобы восстановился первоначальный расход газа-носителя. Расход газов измеряют мыльно-пенным измерителем, реометром, ротаметром или специальным электронным измерителем расхода на принципе теплового расходомера. Фильтры для очистки газа-носителя заполняют адсорбентами (активированный уголь, силикагель, цеолит).
В современных хроматографах используются БПГ с электронным заданием и управлением расходов газов.
Дозирующие устройства (дозаторы)
Дозаторы предназначены для ввода в хроматографическую колонку точно выбранного количества анализируемой пробы. Общие требования к дозаторам: воспроизводимость ввода пробы (желательно ниже 1–2%), сохранение состава исходной анализируемой пробы. Кроме того, ввод пробы должен происходить быстро, без сильного размывания исходной смеси. Различают дозаторы для ввода газообразных, жидких и твердых проб. Для быстрого ввода газообразных проб используют микрошприцы, мембранные краны (чаще всего в автоматических промышленных хроматографах), золотниковые, поршневые и вращающиеся поворотные краны. В современных лабораторных хроматографах чаще всего применяются поворотные краны. Такой кран состоит из неподвижного корпуса со штуцерами для подвода газа-носителя и анализируемого газа и сверху движущейся поворотной втулки с каналами, соединяющими линии газа-носителя и анализируемого газа. На корпусе устанавливается трубка-доза для точного ввода пробы. Корпус и вращающаяся втулка сильно прижаты друг к другу, их контактирующие поверхности тщательно отполированы и при повороте должны плавно скользить относительно друг друга. Такие краны могут быть 6, 8, 10 и даже 14-ходовые (или портовые). Чаще всего для дозирования применяются 6-ходовые краны. Схема ввода газовой пробы таким краном показана на рис. 4. Поворот крана может проводиться вручную или автоматически, электрическим или пневматическим приводом. При изготовлении крана используются следующие материалы: нержавеющая сталь, хостеллой, тефлон, наполненный тефлон, веспел и др.
Рис. 4. Ввод краном: а — заполнение пробоотборной петли крана пробой S; б — ввод пробы в потоке газа-носителя G
Рис. 5. Шприц
Жидкие пробы вводятся в газовые хроматографы микрошприцами на 1, 5, 10, 50 мкл через термостойкое резиновое уплотнение испарителя. Величина дозируемой пробы легко регулируется в широких диапазонах. Общий вид таких микрошприцев изображен на рис. 5. Эти шприцы сравнительно недороги и удобны для очистки.
Для автоматического ввода жидких проб применяют специальные поршневые, вращающиеся и золотниковые дозирующие краны. В поршневом кране движущийся поршень имеет сбоку кольцевую канавку, глубина которой определяет объем введенной пробы. Поршень двигается между полостью, промываемой непрерывным потоком анализируемого вещества, и нагретым испарителем.
Твердые пробы в основном вводят в пиролизных устройствах через специальные шлюзы.
1. 3 Детекторы для газовой хроматографии
Всего для газовой хроматографии предложено более 60 типов детектирующих систем. По общепринятой классификации детекторы подразделяются на дифференциальные и интегральные по форме зарегистрированного сигнала. Дифференциальные детекторы измеряют мгновенное различие в концентрации вещества в потоке газа-носителя. Хроматограмма, зарегистрированная таким детектором, представляет собой ряд пиков, площадь которых пропорциональна количеству разделенных соединений. Интегральные детекторы измеряют суммарные количества соединений, выходящих из колонки. Хроматограмма в этом случае ступенчатая, высота ступеней пропорциональна количеству соответствующих соединений.
В зависимости от однократной или многократной регистрации молекул анализируемых соединений выделяют концентрационные и потоковые детекторы. В концентрационных детекторах сигнал пропорционален концентрации соединения в подвижной фазе (элюенте). Здесь имеет место многократная регистрация молекул анализируемых соединений. В потоковых (или массовых) детекторах сигнал пропорционален количеству пробы компонента, достигаемому ячейки детектора в единицу времени. В этом случае происходит только однократная регистрация.
По селективности детекторы классифицируются на универсальные, селективные и специфические. В универсальных детекторах регистрируются все компоненты смеси, выходящие из колонки, за исключением подвижной фазы. Селективные детекторы регистрируют определенные группы соединений на выходе из колонки. Специфические детекторы регистрируют только один компонент или ограниченное число компонентов с подобными химическими характеристиками.
Основные технические характеристики детекторов:
-
чувствительность или предел детектирования;
-
линейность (динамический диапазон);
-
инерционность (постоянная времени, быстродействие);
-
стабильность (уровень шума и дрейфа);
-
величина эффективного объема чувствительной ячейки.
Чувствительность концентрационных детекторов Ак определяется следующим выражением:
,
где Sп — площадь пика, см2; V — шкала самописца, мВ × cм–1; Fr — скорость газа-носителя, мл × с–1; q — масса соединения, мг; F — скорость движения ленты самописца, см × с.
Размерность чувствительности в этом случае мВ · мг × мл –1.
Чувствительность потоковых детекторов (мВ · мг × с-1) равна:
.
В последние годы чаще всего определяют предел детектирования. Для оценки минимально обнаруживаемой концентрации необходимо, кроме чувствительности, знать уровень флуктуаций (шума) нулевой линии. Минимальным сигналом, поддающимся измерению, обычно принято считать сигнал, высота которого в несколько раз (2–5) превышает уровень шумов d :
.
Величина сmin — предел детектирования — определяет предельные возможности прибора.















