168684 (625172)
Текст из файла
ВВЕДЕНИЕ
Процесс газификации угля включает высокотемпературные реакции угля с кислородсодержащим газом и водяным паром, в результате чего образуется газ, состоящий в основном из СО и Н2, который может быть использован в качестве топлива. Побочным продуктом газификации является зольный шлак, который необходимо удалять из системы. Проблема удаления связана с тем, что шлак имеет ограниченное применение в качестве строительного материала, а количества образующегося шлака очень велики. В зависимости от типа и происхождения угля количество зольного шлака может составлять 5— 50 %. Такие концентрации шлака становятся значительными для установок газификации производительностью =±45 т/ч.
Глава 1. ПОРТЛАНД-ЦЕМЕНТ
Портландцемент — гидравлическое вяжущее, получаемое тонким измельчением портландцементного клинкера и небольшого количества гипса (1,5...3 %). Клинкер получают обжигом до спекания сырьевой смеси, обеспечивающей в портландцементе преобладание силикатов кальция. К клинкеру для замедления схватывания цемента добавляют гипс. Для улучшения некоторых свойств и снижения стоимости портландцемента допускается введение минеральных добавок.
Кроме портландцемента на основе портландцементного клинкера выпускают много других видов цементов.
Производство. Основные операции при получении портландцемента: приготовление сырьевой смеси, обжиг ее до получения цементного клинкера и помол клинкера совместно с добавками.
Соотношение компонентов сырьевой смеси выбирают с таким расчетом, чтобы полученный при обжиге клинкер имел следующий химический состав (%): СаО — 62...68, SiO2 — 18..26, А12О3 — 4...9, Fe2O3 — 2...6. В природе есть горная порода, обеспечивающая получение клинкера такого состава,— мергель, который представляет собой тесную смесь известняка с глиной. Но чаще используют известняк и глину (добываемые отдельно) в соотношении 3 : 1 (по массе). Кроме основных компонентов в сырьевую смесь вводят корректирующие добавки и промышленные отходы, обеспечивающие требуемый состав клинкера.
Тщательно подготовленную сырьевую смесь подают на обжиг во вращающуюся печь, которая представляет собой стальную трубу диаметром до 7 м и длиной до 185 м. Изнутри труба выложена огнеупорным кирпичом. Печь установлена под небольшим (3...4о) углом к горизонту и вращается (0,8... 1,3 мин-1), благодаря чему сырьевая смесь перемещается в ней от верхнего конца к нижнему, куда подается топливо. Максимальная температура обжига 1450°С. При таких высоких температурах оксид кальция СаО, образовавшийся в результате разложения известняка, взаимодействует с кислотными оксидами SiO2, А12О3 и Fe2O3, образующимися при разложении глины. Продукты взаимодействия, частично плавясь и спекаясь друг с другом, образуют так называемый портландцементный клинкер — плотные твердые куски серого цвета. В состав портландцементного клинкера входят четыре основных минерала и небольшое количество стеклообразного вещества.
Как видно из таблицы, портландцементный клинкер в основном (на 60...80%) состоит из силикатов кальция, из-за чего портландцемент также называют силикатным цементом.
Для получения портландцемента клинкер размалывают в трубных или шаровых мельницах с гипсом и другими добавками. Свойства портландцемента зависят от его минерального состава и тонкости помола клинкера.
При взаимодействии с влагой воздуха активность портландцемента падает, поэтому его предохраняют от действия влаги. Портландцемент хранят в силосах (высоких цилиндрических емкостях из бетона или металла). На строительство его доставляют в специальных вагонах, автомобилях-цементовозах или упакованным в многослойные бумажные или полиэтиленовые мешки.
Твердение. При смешивании с водой частицы портландцемента
начинают растворяться, причем одновременно может происходить гидролиз (разложение водой) и гидратация (присоединение воды) продуктов растворения с образованием гидратных соединений.
По этой схеме (гидролиз и гидратация) взаимодействуют с водой главные компоненты клинкера алит C3S и белит C2S:
2(ЗСаО • SiO2) + 6Н2О → ЗСаО • SiO2 • ЗН2О + ЗСа(ОН)2
2(2СаО• SiO2) + 4Н2О→ ЗСаО • SiO2 • ЗН2О + Са(ОН)2
Необходимо подчеркнуть особенности этих реакций:
•C3S взаимодействует с водой намного активнее, чем C2S;
•при взаимодействии силикатов кальция с водой выделяется
растворимый в воде компонент Са(ОН)2 — воздушная известь, создающая щелочную реакцию в твердеющем цементе;
•C3S выделяет Са(ОН)2 в 3 раза больше, чем C2S; общее количество Са(ОН)2 достигает 15 % от массы цементного камня.
Алюминат кальция С3А подвергается только гидратации, причем этот процесс идет очень быстро с образованием крупных кристаллов
ЗСаО • А12О3 + 6Н2О → ЗСаО • А12О3 • 6Н2О
Добавка гипса, вводимая при помоле клинкера, изменяет характер начального периода твердения С3А и замедляет схватывание цемента на несколько часов из-за образования эттрингита ЗСаО • А12О3 • 3CaSO4 • (31 - 33)Н2О.
Четырехкальциевый алюмоферрит C4AF взаимодействует с водой медленнее, чем С3А, образуя гидроалюминат и гидроферрит кальция.
Основной продукт твердения портландцемента — гидросиликаты кальция — практически нерастворимы в воде. Они выпадают из раствора сначала в виде геля (жесткого студня). Этот гель пронизывают, укрепляя его, кристаллы Са(ОН)2. Гель гидросиликатов кальция со временем кристаллизуется. Остальные продукты взаимодействия клинкера с водой также участвуют в формировании структуры цементного камня и, естественно, влияют на его свойства.
Процесс гидратации зерен портландцемента из-за малой их растворимости растягивается на длительное время (месяцы и годы). Чтобы этот процесс мог протекать, необходимо постоянное присутствие воды в твердеющем материале. Однако нарастание прочности со временем замедляется. Поэтому качество цемента принято оценивать по прочности, набираемой им в первые 28 суток твердения.
Технические характеристики портландцемента. К основным характеристикам портландцемента относятся истинная и насыпная плотность, тонкость помола, сроки схватывания, равномерность изменения объема при твердении и прочность затвердевшего цементного камня.
Плотность портландцемента в зависимости от вида и количества добавок составляет 2900...3200 кг/м3, насыпная плотность в рыхлом состоянии 1000... 1100 кг/м3, в уплотненном — до 1700 кг/м3.
Тонкость помола характеризуется количеством цемента, проходящим через сито с сеткой № 008 (размер отверстий 0,08 мм) и его удельной поверхностью. Согласно ГОСТу через сито с сеткой № 008 должно проходить не менее 95 % цемента, при этом удельная поверхность у обычного портландцемента должна быть в пределах 2900...3000 см2/г и у быстротвердеющего портландцемента 3500...5000 см2/г.
Сроки схватывания портландцемента, рассчитываемые от момента затворения, должны быть: начало — не ранее 45 мин; конец — не позднее 10 ч. Эти показатели определяют при температуре 20°С. Если цемент затворяют горячей водой (более 40°С), может произойти очень быстрое схватывание.
Прочность портландцемента характеризуется его маркой. Марку портландцемента определяют по пределу прочности при сжатии и изгибе образцов-балочек 40х40х160 мм, изготовленных из цементно-песчаного раствора (состава 1 : 3) стандартной консистенции и твердевших 28 суток (первые сутки в формах на влажном воздухе и 27 сут. в воде при 20°С).
Промышленность выпускает портландцемент четырех марок: 400; 500; 550 и 600 (цифра соответствует округленной в сторону уменьшения средней прочности образцов при сжатии выраженной в кгс/см2).
Тепловыделение при твердении. Твердение портландцемента сопровождается выделением большого количества теплоты. Так как эта теплота выделяется в течение длительного времени (дни, недели), заметного разогрева цементного бетона или раствора не происходит. Однако если объем бетона велик (например, при бетонировании плотин, массивных фундаментов), то потери теплоты в окружающее пространство будут незначительны по сравнению с общим количеством выделяющейся теплоты и возможен разогрев бетона до температуры 70...80° С, что приведет к его растрескиванию.
Равномерность изменения объема. При твердении цементное тесто уменьшается в объеме. Усадка на воздухе составляет около 0,5... 1 мм/м. При твердении в воде цемент немного набухает (до 0,5 мм/м). Однако изменение объема при твердении должно быть равномерным. Это свойство проверяют на лепешках из цементного теста, которые не должны растрескиваться после пропаривания в течение 3 ч (до пропаривания лепешки 24 ч твердеют на воздухе). Неравномерность изменения объема возникает из-за присутствия в цементе свободных СаО и MgO, находящихся в виде пережога.
Глава 2. ПОЛУЧЕНИЕ ПОРТЛАНД-ЦЕМЕНТА ИЗ ЗОЛЬНОГО ШЛАКА
Процесс газификации угля включает высокотемпературные реакции угля с кислородсодержащим газом и водяным паром, в результате чего образуется газ, состоящий в основном из СО и Н2, который может быть использован в качестве топлива. Побочным продуктом газификации является зольный шлак, который необходимо удалять из системы. Проблема удаления связана с тем, что шлак имеет ограниченное применение в качестве строительного материала, а количества образующегося шлака очень велики. В зависимости от типа и происхождения угля количество зольного шлака может составлять 5— 50 %. Такие концентрации шлака становятся значительными для установок газификации производительностью =±45 т/ч.
Ранее шлак главным образом сбрасывался в отвалы и не находил никакого полезного применения. Однако необходимость использования больших количеств шлака является очевидной. Процесс, разработанный Ф. Ф. Фондристом предназначен для производства портланд-цемента из зольного шлака процесса газификации угля. Он предусматривает перенос расплавленного шлака из установки для газификации в реактор, в котором происходит взаимодействие с минералом, содержащим известь, например оксидом, гидроксидом или карбонатом кальция; в результате образуется гомогенная цементная масса. Последнюю охлаждают в специальной камере, где она затвердевает с образованием клинкера, который затем превращают в порошкообразный цемент.
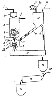
Этот процесс производства портландцемента обладает низкой энергоемкостью и обеспечивает эффективную и экономичную переработку отходов процесса газификации угля, что повышает экономичность этого процесса. Процесс производства представлен на рис. 129; уголь подается в реактор газификации 3 через питатель /. На установках для получения синтез-газа обычно производят сжигание или пиролиз некоксующихся жирных и бурых углей. Причина этого состоит в том, что коксующиеся угли, например такие, которые используются в качестве восстановителя при производстве железа, дорого стоят, обладают низкой летучестью, а запасы их ограничены. Как правило для газификации используют угли такого же качества как для производства водяного пара и электроэнергии на тепловых электростанциях.
Уголь, подаваемый на газификацию, сначала очищают и промывают для того, чтобы снизить содержание золы, уменьшить коксуемость и удалить загрязнения и примеси, такие например как пирит. Подготовленный уголь, подаваемый питателем 1, накапливается в закрывающемся загрузочном бункере 2, находящемся под давлением. По мере необходимости уголь подается в реактор 3, где происходит его сгорание или пиролиз под давлением и образуется синтез-газ. В ходе этого процесса тяжелые углеводороды, в которых атомное содержание С/Н равно 1 : 2 или выше, превращаются в метан, в котором соотношение С/Н равно 1 : 4.
Получаемый синтез-газ содержит водород, оксид углерода и диоксид углерода и процесс проводят таким образом, чтобы достичь соотношения Н2СО требуемого для данного конкретного синтеза. Газ, который выводится из реактора через вентиль 5, используется для производства аммиака, метанола, оксоспиртов и (или) синтетических углеводородов.
Характеристики
Тип файла документ
Документы такого типа открываются такими программами, как Microsoft Office Word на компьютерах Windows, Apple Pages на компьютерах Mac, Open Office - бесплатная альтернатива на различных платформах, в том числе Linux. Наиболее простым и современным решением будут Google документы, так как открываются онлайн без скачивания прямо в браузере на любой платформе. Существуют российские качественные аналоги, например от Яндекса.
Будьте внимательны на мобильных устройствах, так как там используются упрощённый функционал даже в официальном приложении от Microsoft, поэтому для просмотра скачивайте PDF-версию. А если нужно редактировать файл, то используйте оригинальный файл.
Файлы такого типа обычно разбиты на страницы, а текст может быть форматированным (жирный, курсив, выбор шрифта, таблицы и т.п.), а также в него можно добавлять изображения. Формат идеально подходит для рефератов, докладов и РПЗ курсовых проектов, которые необходимо распечатать. Кстати перед печатью также сохраняйте файл в PDF, так как принтер может начудить со шрифтами.















