166287 (624977), страница 3
Текст из файла (страница 3)
3 ХАРАКТЕРИСТИКА ОБЪЕКТОВ И МЕТОДОВ ИССЛЕДОВАНИЯ
3.1 Характеристика объектов
Объектами исследований являются образцы амидо-аммониевой соли малеопимаровой кислоты, полученные на основе малеинизированной живичной и талловой канифолей для сравнения; также объектами исследований являются образцы бумаги приготовленные на основе бумажной массы путем последовательного введения в водно-волокнистую суспензию расчетных количеств эмульсии, приготовленной на основе клеевой канифольной композиции при ее расходе 2,5% от массы абсолютно сухого волокна и затем коагулянта до содержания рН массы в пределах 6,5-7,2.
При выполнении данной работы были использованы следующие вещества и реагенты:
Канифоль живичная ГОСТ 19113-84.
Канифоль талловая ГОСТ 14201-83.
Малеиновый ангидрид ГОСТ 11153-75
Аммиак водный ГОСТ 24147-80
Едкий натр ГОСТ 11078-78, ч.д.а.
Спирт этиловый ГОСТ 18300-72.
Эфир петролейный ГОСТ 11992-66.
После очистки растворители имели температуры кипения и показатели преломления, соответствующие их литературным данным.
Контроль за чистотой других используемых веществ проводили также путем определения их основных физико-химических характеристик (Тпл., Ткип.,nD20, d420) на соответствие их литературным данным.
При необходимости дополнительно проводили очистку используемых веществ по общеизвестным методикам.
3.2 Методы исследований
Физико-химические характеристики полученных соединений определяли следующим образом.
Кислотное число определяли по известной методике /18/.
Определение температуры плавления синтезированных соединений осуществляли по методике, изложенной в /19/.
Определение массовой доли неомыляемых веществ проводили по методике, изложенной в /18/.
Определение массовой доли сухих веществ проводили согласно ТУ РБ 00280198-029-97 /20/.
Определение массовой доли свободных смоляных кислот проводили по ТУ РБ 00280198-029-97 /20/.
Исследование растворимости в воде полученных образцов солей осуществляли по ТУ РБ 00280198-029-97 /20/.
Бумажная масса приготовлена на основе сульфатной хвойной целлюлозы, которая имела степень помола 35 ˚ШР /21/.
Образцы бумаги с введением новых проклеивающих материалов получали на листоотливном аппарате марки «Rapid-Ketten» (фирма «Ernst Haage», Германия) в соответствии со стандартом ISO 5269-2.
Исследование полученных образцов бумаги проводили следующим образом.
Определение поверхностной впитываемости воды при одностороннем смачивании (метод Кобба) осуществляли согласно ГОСТ 12605-97 /22/.
Степень проклейки бумаги определяли чернильно-штриховым методом согласно ГОСТ 8049-62 /23, 24/.
Определение разрывной длины осуществляли с помощью горизонтальной разрывной машины Lorerzen and Wetre.
4 РЕЗУЛЬТАТЫ ИССЛЕДОВАНИЯ, ИХ АНАЛИЗ И ОБСУЖДЕНИЕ
4.1 Получение и исследование физико-химических свойств синтезированных образцов солей
В основе получения амидо-аммониевой соли малеопимаровой кислоты в качестве клеевой канифольной композиции лежит модификация канифоли малеиновым ангидридом, реакция аммонолиза малеинизированной канифоли и последующая реакция частичной нейтрализации свободных смоляных кислот канифоли раствором едкого натра (21% конц.).
Химизм процесса представлен следующими реакциями /25/.
Реакция модификации канифоли малеиновым ангидридом:
Реакция аммонолиза:
Реакция частичной нейтрализации:
Для выполнения поставленной цели исследований необходимо было получить образцы амидо-аммониевой соли с определенными заданными свойствами:
- содержание свободных смоляных кислот в образцах солей должно быть 30 – 40%;
- содержание сухих веществ – 60±5%;
- полная растворимость полученной эмульсии в воде.
Клеевые канифольные эмульсии, с содержанием свободных смоляных кислот более 30 % относят к высокосмоляным клеям, которые обладают хорошими проклеивающими свойствами и дают проклейку в нейтральной среде.
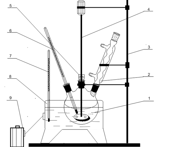
Все опыты проводились с помощью лабораторной установки, которая представлена на рисунке 4.1.
Прежде чем проводить эксперимент, необходимо было исследовать физико-химические характеристики начального сырья – живичной и талловой канифоли: кислотное число, температуру плавления, массовую долю неомыляемых веществ. Полученные данные представлены в таблице 4.1.
Таблица 4.1 - Физико-химические характеристики исходных видов канифоли
| Сырье | Кислотное число, мг КОН/г | Температура плавления, ˚С | Массовая доля неомыляемых веществ, % |
| Живичная канифоль | 167,5 | 68-69 | 5,3 |
| Талловая канифоль | 168 | 67-68 | 6,4 |
1 – трехгорлая колба; 2 – обратный холодильник; 3 – штатив; 4 – механическая мешалка; 5 – гидрозатвор; 6,7 – термометр; 8 – масляная баня; 9 – ЛАТР.
Рисунок 4.1 – Лабораторная установка для получения амидо-аммониевой соли на основе малеинизированной канифоли
Малеинизированную канифоль получали по известной реакции Дильса и Альдера взаимодействием канифоли с малеиновым ангидридом при температуре 195-200 ˚С в течение 2 ч. Малеиновый ангидрид брали в количестве 4% по отношению к массе исходной канифоли.
Были получены образцы малеинизированной канифоли на основе живичной и талловой канифолей. Определены физико-химические характеристики полученных образцов малеинизированной канифоли, которые представлены в таблице 4.2.
Таблица 4.2 - Физико-химические характеристики образцов малеинизированной канифоли
| Вид канифоли | Количество канифоли, г | Количество малеинового ангидрида, г | Кислотное число, мг КОН/г | Температура плавления, ˚С |
| Живичная | 500 | 20 | 196 | 73-74 |
| Талловая | 500 | 20 | 200 | 70-72 |
Для получения амидо-аммониевой соли проводили аммонолиз малеинизированной канифоли раствором аммиачной воды при температуре 95-98 ˚С в течение 1,5 ч.
Реакцию частичной нейтрализации свободных смоляных кислот проводили раствором едкого натра 21 %-ной концентрации при температуре 78-80 ˚С в течение 30 мин.
С данными образцами малеинизированной канифоли были поставлены опыты, учитывающие количество израсходованной аммиачной воды, ее концентрацию и количество раствора едкого натра, с учетом дальнейшего проведения оптимизации процесса получения соли согласно плану Бокса – Хартли.
Кроме этого, определялись физико-химические характеристики полученных образцов солей:
-
кислотное число;
-
рН 5%-ного раствора полученной соли;
-
растворимость полученной эмульсии в воде;
-
содержание свободных смоляных кислот;
-
содержание сухого вещества в продукте реакции.
Все полученные экспериментальные данные исследуемых образцов солей на основе малеинизированной живичной и талловой канифоли представлены в таблице 4.3 и 4.4.
Таблица 4.3 – Физико-химические свойства полученных образцов солей на основе малеинизированной живичной канифоли
| Номер образца | Концентрация аммиачной воды, % | Коэффициент избытка аммиачной воды, %, мл. | Количество раствора едкого натра, мл. | |||||
| Кислотное число, мг КОН/г | Массовая доля сухих в-в, % | Массовая доля свободных смоляных кислот, % | рН 5%-ного раствора | Растворимость в воде | ||||
| 1 | 2 | 3 | 4 | 5 | 6 | 7 | 8 | 9 |
| 1 | 25 | 0,5 | 12 | 45,3 | 69,6 | 19,0 | 9,8 | полная |
| 2 | 25 | 0,5 | 10 | 75,4 | 81,8 | 34,1 | 9,5 | частичн. |
| 3 | 25 | 1,0 | 8 | 84,7 | 69,7 | 37,8 | 9,4 | частичн. |
| 4 | 25 | 1,0 | 12 | 45,3 | 69,6 | 19,0 | 9,8 | полная |
| 5 | 25 | 1,5 | 10 | 58,5 | 63,1 | 22,5 | 9,8 | полная |
| 6 | 25 | 1,5 | 8 | 94,9 | 59,7 | 32,0 | 9,5 | полная |
| 7 | 20 | 0,5 | 10 | 70,0 | 64,3 | 30,7 | 9,8 | полная |
| 8 | 20 | 0,5 | 10 | 72,7 | 68,2 | 24,4 | 9,6 | частичн. |
| 9 | 20 | 1,0 | 12 | 50,7 | 64,5 | 22,0 | 9,8 | полная |
| 10 | 20 | 1,0 | 8 | 89,1 | 65,1 | 32,7 | 9,7 | полная |
| 11 | 20 | 1,5 | 10 | 70,5 | 59,2 | 32,4 | 9,7 | полная |
| 12 | 20 | 1,5 | 10 | 67,4 | 49,98 | 38,1 | 9,9 | полная |
| 13 | 15 | 0,5 | 12 | 41,0 | 36,05 | 22,9 | 9,8 | полная |
| 14 | 15 | 0,5 | 10 | 68,8 | 61,0 | 31,2 | 9,8 | полная |
| 15 | 15 | 1,0 | 12 | 57,4 | 62,5 | 24,7 | 9,7 | полная |
| 16 | 15 | 1,5 | 10 | 72,1 | 54,3 | 31,0 | 10,2 | полная |
Таблица 4.4 – Физико-химические свойства полученных образцов солей на основе малеинизированной талловой канифоли
| Номер образца | Концентрация аммиачной воды, % | Коэффициент избытка аммиачной воды, %, мл. | Количество раствора едкого натра, мл. | |||||
| Кислотное число, мг КОН/г | Массовая доля сухих веществ, % | Массовая доля свободных смоляных кислот, % | рН 5%-ного раствора | Растворимость в воде | ||||
| 1 | 25 | 0,5 | 12 | 55,2 | 68,2 | 26,0 | 9,7 | полная |
| 2 | 25 | 0,5 | 10 | 73,7 | 70,2 | 21,9 | 9,8 | плохая |
| 3 | 25 | 1,0 | 8 | 81,5 | 66,2 | 34,0 | 9,5 | частичн. |
| 4 | 25 | 1,0 | 12 | 61,6 | 62,3 | 22,9 | 9,7 | полная |
| 5 | 25 | 1,5 | 10 | 82,7 | 59,5 | 30,0 | 9,5 | полная |
| 6 | 25 | 1,5 | 8 | 71,0 | 62,5 | 28,3 | 9,8 | полная |
| 7 | 20 | 0,5 | 10 | 70,5 | 69,0 | 26,0 | 9,6 | частичн. |
| 8 | 20 | 0,5 | 10 | 56,3 | 64,4 | 24,0 | 9,8 | полная |
| 9 | 20 | 1,0 | 12 | 79,0 | 61,5 | 31,1 | 9,6 | полная |
| 10 | 20 | 1,0 | 8 | 72,6 | 57,4 | 35,0 | 9,8 | полная |
| 11 | 20 | 1,5 | 10 | 78,6 | 51,9 | 29,8 | 9,9 | полная |
| 12 | 20 | 1,5 | 10 | 46,0 | 49,8 | 19,1 | 9,6 | полная |
| 13 | 15 | 0,5 | 12 | 74,1 | 61,6 | 31,6 | 9,6 | полная |
| 14 | 15 | 0,5 | 10 | 53,2 | 60,1 | 21,6 | 9,8 | полная |
| 15 | 15 | 1,0 | 12 | 72,4 | 51,2 | 34,6 | 10,1 | полная |
| 16 | 15 | 1,5 | 10 | 98,6 | 44,9 | 44,6 | 9,7 | частичн. |
Анализируя полученные данные можно сказать, что не только количество аммиачной воды, её концентрация, но и количество раствора едкого натра влияют на содержание сухих веществ и свободных смоляных кислот, а также и на значение кислотного числа. Данные показатели являются важными при определении проклеивающих свойств бумаги и картона, полученных при введении образцов клеев в бумажную массу. Одним из недостатков полученной клеевой эмульсии является наличие запаха в некоторых образцах.















