159753 (622855), страница 2
Текст из файла (страница 2)
2.3. Растущая интенсивность применяемых процессов. Например, давления, температуры, скорости, напряжения, скорости и интенсивности применяемых процессов, увеличение скорости и количества принимаемой и перерабатываемой информации и т.д.
2.4. Постоянное возрастание степени целенаправленности используемых энергетических и других процессов. «Смысл и назначение техники и состоит в том, чтобы не просто осуществить какой-то процесс, а максимально направить его в нужную сторону, сделать его наиболее полезным и рациональным». Это осуществляется двумя путями:
2.4.1. Усовершенствование выбранного принципа действия
2.4.2. Переход к принципиально новой технике.
3. Закономерности, связанные с изменением ее элементов, структуры и функций.
3.1. Процесс дифференциации и специализации технических систем, их элементов. «Объективные предпосылки к этому коренятся в росте и развитии общественных потребностей, которые вызывают к жизни все новые и новые формы деятельности, а вместе с ними и соответствующие средства труда. Эти процессы обусловлены также внутренней логикой развития техники».
3.2. Функциональная специализация. Средства труда или сложные технические системы предназначены для обслуживания определенной функции или достаточно общей операции.
3.3. Предметная специализация. Технические устройства или их элементы предназначаются для выполнения узкой операции, имеют ограниченную и жестко закрепленную программу действий.
Интересно отметить так же, что понимает Ю.С. Мелещенко под дифференциацией и специализацией. Он пишет: «Характерно также усиление дифференциации и специализации элементов технических устройств и систем. Примером тому служит классическая система машин трехзвенного состава, включающая в себя рабочую машину, передаточных механизм и двигатель. На ступени автоматизации она дополняется таким специализированным элементом, как управляющее устройство».
4. Процесс усложнения и интеграции техники.
4.1. Движение к автоматизации. «Можно выделить три основных этапа исторически развивающегося взаимодействия, людей и техники в процессе трудовой, целесообразной деятельности: 1) этап использования орудий техники; 2) этап машинной техники; 3) этап автоматизации». «Таким образом, закономерным для развития машинной техники является последовательное и все более полное замещение человека в выполнении материальных функций». «Автоматизация проходит рад ступеней в своем развитии. Различают частичную, комплексную и полную автоматизацию».
Все эти закономерности имеют в своей основе фундаментальные законы развития техники.
3. Основные законы развития технических систем
3.1 Закон прогрессивной эволюции техники
Действие закона прогрессивной эволюции в мире техники аналогично действию закона естественного отбора Дарвина в живой природе. Он отвечает на вопросы, почему происходит переход от предшествующего поколения технического объекта (далее ТО) к следующему улучшенному поколению; при каких условиях, когда и какие структурные изменения происходят при переходе от поколения к поколению.
Формулировка закона: В ТО с одинаковой функцией переход от поколения к поколению вызван устранением выявленного главного дефекта (дефектов), связанного, как правило, с улучшением критериев, развития, и происходит при наличии необходимого научно-технического уровня и социально-экономической целесообразности следующими наиболее вероятными путями иерархического исчерпания возможностей конструкции:
а) при неизменном физическом принципе действия и техническом решении улучшаются параметры ТО до приближения к глобальному экстремуму по значениям параметров;
б) после исчерпания возможностей цикла а) происходит переход к более рациональному техническому решению (структуре), после чего развитие опять идет по циклу а). Циклы а) и б) повторяются до приближения к глобальному экстремуму по структуре для данного принципа действия. При этом значения критериев развития, как правило, изменяются в соответствии функцией вида:
В формуле приняты следующие обозначения: L, a, b, b-коэффициенты определяемые по статическим данным; t – время. Вид функции, называемой S – функцией, показан на рисунке 1.
Рисунок 1. Закономерность изменения значений критерия развития при неизменном принципе действия
В) после исчерпания возможностей циклов а) и б) происходит переход к более рациональному физическому действия, после чего развитие опять идет по циклам а) и б). Циклы а) – в) повторяется до приближения к глобальному экстремуму по принципу действия для множества известных физических эффектов.
При этом в каждом случае перехода от поколения к поколению в соответствии с частными закономерностями происходят изменения конструкции, корреляционно связанные с характером дефекта у предшествующего поколения, а из всех возможных изменений конструкции реализуется в первую очередь то, которое дает необходимое или существенное устранение дефекта при минимальных интеллектуальных и производственных затратах. Циклы, описанные выше, представлены в таблице 1.
Таблица 1 Иерархическое исчерпание возможностей конструкторско-технологических решений
Таким образом, суть закона состоит в том, что в ТО с одинаковой функцией каждый переход от поколения к поколению вызван устранением возникшего главного дефекта (дефектов), связанного с улучшением какого-либо критерия (показателя) развития при наличии определенных технико-экономических условий. Таким образом, сначала на 1-м уровне улучшаются параметры используемого технического решения. Когда изменение параметров мало что дает, изменения осуществляют на 2-м уровне путем перехода к более эффективному техническому решению без изменения физического принципа действия. Затем, при исчерпании параметров, переходят на новое более прогрессивное техническое решение. Указанные циклы на 1-м и 2-м уровнях происходят до тех пор, пока в рамках используемого принципа действия уже не находят новых технических решений, обеспечивающих улучшение интересующих показателей. После этого наступает революционное изменение на 3-м уровне – переход на новый, более прогрессивный принцип действия и т.д. При этом в каждом случае перехода от поколения к поколению действуют весьма определенные частные закономерности изменения конструкции, которые с большой вероятностью конкретизируют направление и характер изменения ТО в следующем поколении.
Следует иметь в виду, что в законе прогрессивной эволюции иерархическое исчерпание конструкции не действует формально: «пока не будут достигнуты глобально оптимальные параметры, не может произойти переход к новому техническому решению, или пока не будут исчерпаны возможности наилучшего технического объекта (в рамках определенного принципа действия), не может произойти переход к новому принципу действия». Закономерность иерархического исчерпания конструкции действует, как указанно в формулировке закона, при соблюдении следующего условия: если при наличии необходимого научно-технического потенциала переход к новому техническому решению или принципу действия обеспечивает получение дополнительной эффективности, существенно превышающей дополнительные интеллектуальные и производственные затраты, то может произойти скачок к новому техническому решению или принципу действия без исчерпания возможностей предыдущего технического решения или принципа действия.
3.2 Закон полноты частей системы
Закон полноты частей системы был разработан автором ТРИЗ Г.С. Альтшуллером. Он выглядела так:
-
Отдельные элементы машины, механизма, процесса всегда находятся в тесной взаимосвязи.
-
Развитие происходит неравномерно: одни элементы обгоняют в своем развитии другие, отстающие.
-
Планомерное развитие системы (машины, механизма, процесса) оказывается возможным до тех пор, пока не возникнут и не обострятся противоречия между более совершенными элементами системы и отстающими ее частями.
-
Это противоречие является тормозом общего развития всей системы. Устранение возникшего противоречия и есть изобретение.
-
Коренное изменение одной части системы вызывает необходимость для функционально обусловленных изменений в других ее частях.
«Между главными составными частями машины – рабочим органом, передаточным механизмом (трансмиссией) и двигателем – имеется определенное соотношение, ибо все эти части находятся в тесной взаимосвязи и взаимообусловленности. Наличие взаимосвязи между главными составными частями машины приводит к тому, что развитие той или иной части оказывается возможным только до определенного предела – пока не возникнут противоречия между измененной частью машины и оставшимися без изменений другими ее частями». И далее «Противоречия, возникающие между отдельными частями машины, являются тормозом общего развития, ибо дальнейшее усовершенствование машины невозможно без внесения изменений в соответствующие ее части, без коренного улучшения их свойств».
Это закон объясняет причину, того что даже революционное изменения одно элемента, как это описано в 1 законе не приводит к аналогичному улучшению всей машины в целом.
3.3 Закон расширения множества потребностей-функций
Этот закон имеет отношение к развитию техники в целом отдельной страны или всего мира. В политэкономии уже давно известен закон возвышения потребностей, которые сформулирован на качественном уровне. Формулировка закона основывается на предшествующих работах и относится только к потребностям, реализуемым с помощью ТО:
При наличии необходимого потенциала и социально-экономической целесообразности возникшая новая потребность удовлетворяется с помощью впервые созданных технических средств (объектов); при этом возникает новая функция, которая затем существует как угодно долго, пока ее реализация будет обеспечивать и сохранение и улучшение жизни людей. Число таких качественно и количественно различающихся потребностей-функций, относящихся к техносфере страны или мира, со временем монотонно и ускоренно возрастает по экспоненциальному закону
где
– число потребностей-функций до момента t=0:
– эмпирический коэффициент;
t – время в годах.
3.4 Закон соответствия между функцией и структурой
Закон между функцией и структурой на протяжении многих веков изучали и обсуждали на философском уровне. При этом отмечали и анализировали многочисленные факты удивительных соответствий между выполненными функциями любого органа живого организма и его структурой (строением, конструкцией, конструктивными признаками). Такие же соответствия отмечались в деталях узлах машин, сооружений и других технических объектов.
Главная суть закона заключается в том, что в правильно спроектированном техническом объектом каждый элемент от сложных узлов до простых деталей и каждый конструктивный признак имеют вполне определенную функцию (назначение) по обеспечению работы технического объекта. И если лишить такой ТО какого-либо элемента или признака, то он либо перестанет работать (выполнять свою функцию), либо ухудшит показатели своей работы. В связи с этим у правильных ТО нет «лишних деталей». Эта главная суть соответствия между функцией и структурой лежит в основе всей познавательной деятельности, связанной с анализом и изучением существующих ТО и всей проектно-конструкторской деятельности по созданию новых ТО.
Каждый элемент ТО или его конструктивный признак имеют хотя бы одну функцию по обеспечению реализации функции ТО, т.е. исключение элемента или признака приводит к ухудшению какого-либо показателя ТО или прекращению выполнения им своей функции. Совокупность всех таких соответствий в ТО представляет собой функциональную структуру в виде ориентированного графа, который отражает системную целостность ТО и соответствие между его функцией и структурой (конструкцией).
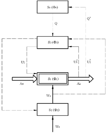
Рассмотрим этот закон на примере функционального строения обрабатывающих (технологических) машин.
ТО или соответствующие человеко-машинные системы, предназначены для обработки материального предмета труда, состоят из четырех подсистем (элементов)
, реализующих соответственно четыре фундаментальные функции, показанные на рисунке 2
Рисунок 2. Обобщенная функциональная структура обрабатываемых машин: => поток вещества,
поток энергии,
поток управляющих сигналов и воздействий
Ф1 – технологическая функция – обеспечивает превращение исходного материала (сырья)
в конечный продукт
;
Ф2 – энергетическая функция – превращает вещество или извне полученную энергию
в конечный вид энергии
, необходимы для реализации функции Ф1;
Ф3 – функция управления – осуществляет управляющие воздействия
,
на подсистемы
,
в соответствии с заданной программой
и полученной информацией
,
о количестве и качестве выбранного конечного продукта
и конечной энергии
;
















