151789 (621946)
Текст из файла
Вакуумная плазменная технология высоких энергий
Содержание
Введение
1. Вакуумная плазменная технология высоких энергий
2. Time and spatially resolved studies of an kHz-excited atmospheric pressure plasma jet for industrial applications
2.1 Основные положения
2.2 Общие наблюдения
2.2 .1 Динамический реактивный поток
2.2.2 Процессы распространения в реактивной зоне
2.3 ICCD наблюдения
2.4 Электрические исследования
2.5 Реактивный поток в атмосфере гелия
2.6 APPJ для смещения
Заключение
Список использованных источнико
Введение
В настоящее время вакуумная плазменная технология высоких энергий (ВПТВЭ) модифицирования поверхности изделий и получения специальных покрытий из высокоионизированных потоков "металлической" плазмы в атмосфере реакционных газов нашла достаточно широкое применение во всех экономически развитых странах мира благодаря пионерским работам ученых СССР, выполненных в середине 70-х годов в области создания электродуговых генераторов и ускорителей таких потоков [1].
Работа этих устройств основана на использовании так называемой "вакуумной" дуги катодной формы, горящей в продуктах эрозии интегрально холодного катода и формирующей плазменные потоки, состоящие из атомов, ионов и микрокапель материала катода [2]. При этом принципиально новым было то, что в компактном низковольтном вакуумном устройстве удалось получить интенсивные плазменные потоки металла с расходом массы dm/dt=/iJ ((/х=0,4 ... 1,5)-10"7 кг/К - коэффициент электроэрозии катода, J -ток дуги), содержащие (30 ... 80)% ионов различной кратности ионизации со средней кинетической энергией (30 ... 150) эВ. Поэтому технические характеристики первых же образцов электродуговых ускорителей, получивших название "Пуск" по первым буквам словосочетания "плазменный ускоритель" (разработчик МВТУ им. Баумана), и электродуговых генераторов, получивших название "Булат" (разработчик Харьковский физико-технический институт), были принципиально не достижимы на разрабатываемых в тот период на западе устройствах, работающих на газовых разрядах.
Разработка плазменных генераторов и плазменных ускорителей для технологии обработки поверхности изделий машиностроения базировалось на использовании результатов, полученных при создании электрореактивных ускорителей двигателей космических аппаратов, электродуговых аппаратов разделения изотопов и получения особо чистых материалов для атомной промышленности, электродуговых гетерных вакуумных насосов и вакуумных электродуговых переключателей электрических токов большой величины [1-3].
Достигнутые к концу 70-х годов технические показатели оборудования для вакуумной плазменной технологии высоких энергий, а также высокая адгезионная прочность покрытий и открытый эффект получения покрытия из нитрида титана при температурах существенно более низких (300 ... 400 °С), чем температуры, вытекающие из законов равновесной химической термодинамики (800 ... 1000 °С) и предопределили интенсивное развитие этой технологии.
1. Вакуумная плазменная технология высоких энергий
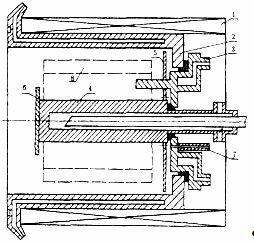
Известная установка для вакуумного ионно-плазменного нанесения покрытий, собранная на базе вакуумного поста установки распыления материалов (УРМ 3.279.029) с электродуговым принципом генерации плазмы металлов в вакуумной дуге катодной формы и холловским ускорением плазменных потоков (так называемый холловский торцевой ускоритель металлической плазмы) была модернизирована. И на основании этой модернизации был создан торцевой холловский ускоритель с названием "Пуск-КуАИ" (рисунок 1.1) По сравнению с известными схемами торцевого холловского ускорителя изменено геометрическое взаимоположение торцевой поверхности катода, соленоида и анода ускорителя. Профиль внутренней поверхности выходного сечения анода (сопла) максимально приближен к профилю эквипотенциальной поверхности силовых линий магнитного поля в этом месте при величине индукции магнитного поля (3,0 ... 4,5) мТл на оси соленоида около катода. Изменены геометрические параметры катода и условия его охлаждения в соответствии с расчетами по минимизации микрокапельной фазы. Введен дополнительный анод, создающий эффект электростатической линзы для ионного потока, что позволило реализовать три различных режима работы ускорителя. С целью снижения температуры нитридообразования и повышения стабильности горения вакуумной дуги на малых токах подача реакционного газа осуществлена через зону генерации и ускорения металлической плазмы. Выходное сечение ускорителя укомплектовано жалюзями и кольцевой заслонкой для улавливания микрокапельной фазы. Для повышения эффективности и скорости ионного травления регулируемое напряжение смещения доведено до 2,5 кВ и существенно улучшена система защиты высоковольтного выпрямителя от возникновения или развития микродуговых привязок на детали. Созданный ускоритель обеспечивает уменьшение микрокапельной фазы, по сравнению с известными схемами более чем 2-4 раза и на (20 - 30 %) увеличивает степень ионизации плазменного потока.
Рисунок 1.1 - Схема плазменного ускорителя "Пуск-КуАИ": 1 - катод; 2 - анод; 3 - соленоид; 4 - фланец крепления генератора к вакуумной камере; 5 -электрод поджига дуги; б - система защиты от сброса дуги на боковую поверхность катода; 7 - канал подачи реакционных газов; 8 - дополнительный анод; 9 - съемный кольцевой экран. Пунктиром проведены силовые линии электрического и магнитного поля
В работах[4-6] приведены результаты теоретических и экспериментальных исследований и выбраны диапазоны технологических режимов, при которых образования соединений происходит на поверхности конденсации в условиях эффективной динамической очистки поверхности роста покрытия; приведен механизм образования нитридов переходных металлов в результате диссоциативной хемосорбции азота путем образования ковалентных связей с металлом по схеме
N N
N2(газ) → N2(адс.) →І + І
Ме Ме
И приведены энергетические условия протекания такой реакции, обеспечивающие достаточные условия образования соединения стехиометрического состава; приведены условия обеспечения высокой адгезионной прочности покрытия; приведены аналитическое соотношение связывающие параметр шероховатости Ra с толщиной наращиваемого покрытия в рамках теории флуктуации термодинамических величин в адсорбционном слое.
В работе [7] приведены результаты исследования свойств покрытий из титана, циркония, хрома, алюминия, молибдена и их нитридов и карбидов, а также покрытий из никеля и алмазоподобного углерода, исследованы их микроструктура, триботехнические характеристики, микротвердость, модули упругости, адгезионная и когезионная прочность покрытий, а также остаточные напряжения в них. Предложена гипотеза о механизмах самопроизвольного разрушения покрытий как на стадии роста, так и последующего остывания системы покрытие-основа, которая была доказана экспериментально и созданной математической моделью расчета остаточных и временных напряжений, возникающих при наращивании покрытий [8,9]. В работе [10] приведены математические модели расчета температур в телах с изменяемой геометрией применительно к наращиванию покрытий и аналитические методы решения таких краевых задач для двухслойных систем с подвижными границами. На основании результатов испытаний на схватывание материалов в вакууме выдвинута и на рассмотренном классе соединений подтверждена гипотеза о том, что соединения, имеющие конденсатный характер диссоциации в твердой фазе и, следовательно, обогащающие поверхность трения металлической компонентой, обладают большими коэффициентами адгезионного схватывания по сравнению с соединениями, имеющими газообразный характер диссоциации. Показано, что недефицитными и недорогими соединениями с газообразным характером диссоциации и перспективными для износостойких покрытий в вакууме являются нитриды и карбонитриды титана и циркония. В то время как моно- и двойные окислы, нитриды, карбиды, оксинитриды и карбонитриды других металлов имеют конденсатный характер диссоциации, либо дороги и дефицитны, либо нетехнологичны для получения износостойких покрытий. Установлено, что коэффициент адгезионного схватывания в выбранных перспективных покрытиях возрастает при их нестехиометрическом составе и наличии в них микрокапельной фазы металла, а износостойкость зависит от микрогеометрии поверхности основы, режимов ионного травления и остаточных напряжений в них. Показано, что во многом этими же причинами определяется износостойкость этих систем при их трении и в условиях ограниченной смазки (режущий инструмент, высоконагруженные пары трения).
В работах установлено, что оптимальные покрытия из нитридов и карбонитридов титана и циркония обладают высокой износостойкостью (первый-второй класс износостойкости) при сухом трении в вакууме, высокой стойкостью к общей и контактной коррозии и стабильным значением коэффициента трения, который технологическим путем может быть изменен от 0,08...0,12 (антифрикционные системы) до 0,18...0,26 (фрикционные системы). При использовании таких покрытий в парах трения с твердыми смазочными покрытиями слоистой структуры (типа дисульфида молибдена) и твердыми смазочными покрытиями со связующими (типа смазок ВНИИ НП) коэффициент трения уменьшается до 0,04...0,06 при незначительном изменении интенсивности изнашивания. Исследование влияния покрытий на статическую и длительную прочность материала основы показало, что основными факторами, влияющими на эти параметры, являются температура конденсации и время ионного травления поверхности, при выборе которых меньше характерных для данного материала основы значений, предел текучести, прочность на растяжение и предел выносливости материала основы с покрытием не уменьшаются и лежат в пределах допусков на эти материалы. В то же время, величина дисперсии этих показателей уменьшается до 3,5 раз по сравнению с образцами без покрытий, что существенно повышает вероятность безотказной работы узлов трения с такими покрытиями [2].
Для нанесения покрытий на внутреннюю поверхность малоразмерной цилиндрической полости необходимо применять цилиндрический магнетрон, обладающий широкими функциональными возможностями (рисунок 1.2).
Рисунок 1.2 - Схема магнетронной цилиндрической системы. 1- соленоид, 2 - водоохлаждаемый корпус камеры, 3 — анод, 4 — катод, 5 - защитный экран, б — отражатель электронов разряда, 7 — канал подачи газа
Цилиндрический магнетрон (рисунок 1.2) с диапазоном регулирования напряжения анод-катод +1,5кВ и током разряда до 20А и возможностью работы в режиме прямого и обращенного магнетрона может быть использован не только для нанесения покрытий, но и как широкоапертурный источник высокоинтенсивного потока газовой плазмы при работе в режиме аномального тлеющего разряда для процессов газового ионного травления поверхностей и интенсификации процессов получения покрытий сложного состава при работе совместно с плазменным ускорителем.
В работах [2,12] приведен проект нового электродугового ускорителя совмещенной металлической и газовой плазмы с магнитоэлектростатической ловушкой для электронов плазменного потока. Физическая суть такого ускорителя определяется следующими обстоятельствами. Замагниченные электроны плазменного потока проводят его доионизацию и сепарацию микрокапельной фазы. Однако в существующих генераторах возможности по увеличению плотности замагниченных электродов около катода ограничены допустимым увеличением индукции магнитного поля, приводящим при значениях В > 4,5 мТл к перегреву центральной области катода и росту микрокапельной фазы из-за локализации катодного пятна вакуумной дуги в этой области. Однако, увеличить плотность этих замагниченных электронов можно за счет создания специальной магни-тоэлектростатической ловушки электронов, которая реализована следующим образом (рисунок 1.3). Внутренняя поверхность охлаждаемого анода выполнена таким образом, чтобы копировать поверхность силовых линий магнитного поля, у которого величина индукции магнитного поля на оси около катода составлял 3 - 3,5 мТл, а на оси около критического сечения сопла анода составляла 10-14 мТл. При таком магнитном поле ионы плазменного потока являются по-прежнему не замагниченными, а замагниченные электроны начинают совершать осциллирующие движения отражаясь от сечения с максимальной величиной магнитного поля (вероятность отражения в этих условиях достигает 0,5) и от отрицательного катода. Уход же электронов на анод ограничен параллельностью поверхности анода силовым линиям магнитного поля.
В этих условиях повышение плотности электронов в зоне магнитной ловушки стало таким, что при подаче через нее реакционного газа происходило зажигание интенсивного несамостоятельного разряда в этой области, горящего в смеси газа и металлической плазмы. Это в свою очередь приводило к дальнейшему росту плотности электронов. В результате через критическое сечение анода истекал смешанный поток газовой и металлической плазмы, который дополнительно ускорялся в зоне холловского ускорения (расходящаяся часть сопла анода). В таком ускорителе было получено уменьшение микрокапельной фазы более, чем в 20 раз даже по сравнению с ускорителем "Пуск-КуАИ" при существенном росте степени ионизации потока и кинетической энергии ионов.
Рисунок 1.3 - Схема плазменного генератора с магнитной ловушкой электронов "Пуск-Мэл": 1 - катод; 2 - профилированный анод; 3.1 и 3.2 - соленоиды; 4 - фланец крепления генератора к вакуумной камере; 5 - электрод поджига дуги; 7 - канал подачи реакционных газов. Пунктиром проведены силовые линии электрического и магнитного поля.
2. Time and spatially resolved studies of an kHz-excited atmospheric pressure plasma jet for industrial applications
Характеристики
Тип файла документ
Документы такого типа открываются такими программами, как Microsoft Office Word на компьютерах Windows, Apple Pages на компьютерах Mac, Open Office - бесплатная альтернатива на различных платформах, в том числе Linux. Наиболее простым и современным решением будут Google документы, так как открываются онлайн без скачивания прямо в браузере на любой платформе. Существуют российские качественные аналоги, например от Яндекса.
Будьте внимательны на мобильных устройствах, так как там используются упрощённый функционал даже в официальном приложении от Microsoft, поэтому для просмотра скачивайте PDF-версию. А если нужно редактировать файл, то используйте оригинальный файл.
Файлы такого типа обычно разбиты на страницы, а текст может быть форматированным (жирный, курсив, выбор шрифта, таблицы и т.п.), а также в него можно добавлять изображения. Формат идеально подходит для рефератов, докладов и РПЗ курсовых проектов, которые необходимо распечатать. Кстати перед печатью также сохраняйте файл в PDF, так как принтер может начудить со шрифтами.
















