151755 (621919)
Текст из файла
Введение
Автоматизация – это процесс замены труда людей на работу автоматических систем.
Автоматизация технологических процессов характеризуется частичной или полной заменой человека оператора специальными техническими средствами контроля и управления. Механизация, электрификация и автоматизация технологических процессов обеспечивают доли тяжелого и слабо квалифицированного физического труда в с/х, что ведет к повышению ее производительности, непременному экономическому росту.
Внедрение автоматических систем позволяет решать следующие задачи:
-
Выполнение таких функций управления, в которых человек не может обеспечить, в силу своих человеческих возможностей
-
Замена действий человека связанных с опасными, вредными условиями труда, а также при выполнении простых однотипных операций.
-
Выполнение функций человека с боль шей производительностью.
При выполнении этих задач повышается надежность и продлевается срок службы технологического оборудования, облегчаются и оздоравливаются условия труда, повышается безопасность. Сельскохозяйственное производство становится более престижным, при этом сокращается текучесть рабочей силы и снижаются затраты на единицу продукции, увеличивается ее количество и повышается качество, ускоряется процесс стирания разницы между трудом умственным и физическим, промышленным и сельскохозяйственным.
Так как автоматизация является развивающей отраслью, она имеет несколько направлений развития:
-
Создание автоматических поточных линий с набором электрифицированных машин для выполнения всей совокупности технологических процессов.
-
Разработка методов и средств по созданию оптимальных параметров микроклимата
-
Проектирование и внедрение компьютерных систем способных вырабатывать и осуществлять программу управления всех производственных процессов.
Выполнив всё выше изложенное, возможно будет достигнута максимальная точка развития сельского хозяйства.
1. Обоснование выбора объекта автоматизации
Широко распространенными технологическими операциями, составляющими технологический процесс приготовления концентрированных кормов, являются измельчение фуражного зерна, зелёной массы, мойка и измельчение корнеклубнеплодов.
На животноводческих фермах концентрированные корма растительного происхождения, отходы пищевой промышленности, кормовые жиры, витаминные и другие добавки перед скармливанием скоту подвергают механической и (или) тепловой обработкам.
В основном концентрированные корма готовят по следующим схемам:
-
Очистка – измельчение – дрожжевание – дозирование – смешивание
-
Очистка – измельчение – дозирование – смешивание - брикетирование
-
Очистка - проращивание
Для измельчения фуражного зерна и грубых кормов используют дробилки различной конструкции. К таковым и относится и дробилка ДБ-5
Процесс измельчения зерна является одним из наиболее важных процессов приготовления кормов, именно поэтому эта тема является темой моего курсового проекта.
2. Технологическая характеристика объекта автоматизации
Технологическую характеристику объекта автоматизации можно давать по его технологической схеме.
Технологическая схема – это графическое изображение агрегатов и элементов автоматизации, участвующих в технологических процессах.
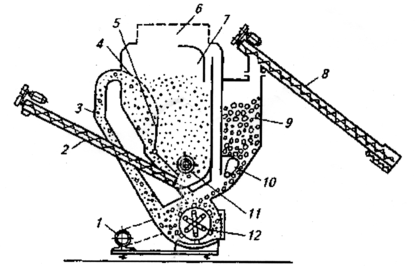
По рисунку 1 можно проследить весь процесс нагрева воды с помощью электродного котла КЭВ-0,4.
Вода подлежащая нагреву шнеком 8 загружается в бункер 9, уровень в котором автоматически поддерживается двух датчиков уровня (верхний отключает загрузочный шнек, а нижний – включает). Подачу зерна на измельчение регулируют заслонкой 10 и осуществляют за один не полный оборот ротора 12.Открытие заслонки регулирует АРЗ. При увеличении нагрузки заслонка прикрывается, и подача зерна уменьшается.
Рис 1. Дробилки ДБ-5
Если зерно не поступает в дробильную камеру, то автоматически включается звуковой сигнал при помощи конечного выключателя, установленного на крышке электропривода заслонки.
В дробильной камере зерно измельчается ударами молотков о деку, а также ударами зерна друг о друга и о другую деку.
Далее продукт дробления по кормопроводу воздушным потоком перемещается в фильтр 6. Достаточно измельчённое зерно, прошедшее решетчатый сепаратор 4, представляет собой готовый продукт и выгружается при помощи ворошилки 11 и выгрузного шнека 2. Оставшаяся часть возвращается в дробильную камеру, причем количество продукта устанавливает оператор с помощью регулирующей заслонки 5 (в крайнем правом положении заслонки весь материал идет на выгрузку без деления на фракции). Одна часть запыленного воздуха возвращается в дробильную камеру, а другая часть, пройдя фильтр 6, выбрасывается в атмосферу.
3. Разработка принципиальной электрической схемы управления
На принципиальной схеме все элементы системы изображают в соответствии с условным обозначением во взаимосвязи между собой. Из принципиальной схемы должен быть ясен принцип ее действия и физическая природа происходящих в ней процессов. Принципиальные схемы могут быть:
-
Электрические
-
Гидравлические
-
Пневматические
-
Комбинированные
Элементы на принципиальной схеме следует обозначать в соответствии со стандартами. Изображение элементов должно соответствовать выключенному состоянию (обесточенному, при отсутствии избыточного давления и так далее) всех цепей схемы и отсутствию внешних воздействий. Схема должна быть логически последовательной и читаться с лева на право или с верху в низ. Каждому элементу принципиальной схемы присваивается буквенно-цифровое позиционное обозначение. Буквенное обозначение обычно представляет собой сокращённое наименование элемента, а цифровое в порядке возрастания и в определенной последовательности условно показывает нумерацию элемента, считая с лева на право или с верху в низ. Для сложных схем, как правило, расшифровывают сокращенные буквенные и цифровые обозначения.
Работа принципиальной схемы:
Включаем рубильник QS и автоматы QF1 и QF2. Напряжение поступает в цепь управления, о чем сигнализирует HL1. При включении автомата QF1 его независимый контакт замыкается и подготавливает к включению двигатель дробилки.
Переключателем SA1 выбираем режим работы схемы – рабочий или наладочный. В наладочном режиме оборудование включается в любом порядке, проверяется направление вращения валов, работу датчиков уровня и блокировки. В рабочем в порядке обратному технологической схеме.
Рабочий режим:
Нажимаем SB2 и запитываем катушку магнитного пускателя КМ1. Контакт КМ 1.1 замыкается, запускается двигатель М1 – включается выгрузной шнек. Контакт КМ 1.2 замыкается, ставя катушку на самоподпидку, а контакт КМ 1.3 замыкая, подготавливает к включению дробилку. Двигатель дробилки включится в том случае, если закрыт защитный кожух и замкнут контакт конечного выключателя SQ 1.Затем нажимаем SB4, и запитываем катушку реле времени КТ и катушку магнитного пускателя КМ 2. Контакт КТ 1.3 замыкается, ставя катушку на самоподпидку. Контакт КМ 2.1 замыкается – запускается двигатель дробилки по схеме «звезда». Через 10 секунд реле времени перезамыкает свои контакты, обесточивая катушку КМ 2 и запитывая катушку магнитного пускателя КМ3. Двигатель дробилки включается по схеме «треугольник».
Подаётся напряжение на трансформатор TV. Кнопкой SB6 запитываем катушки магнитного пускателя КМ 4 и промежуточного реле KV 1. Контакты КМ 4.1 замыкаются и запитывается двигатель М3, контакт KV 1.1 замыкается ставя на самоподпитку и обеспечивает повторное автоматическое включение пускателя КМ 4.
При поступлении зерна в бункер сначала срабатывает датчик уровня SL1, а затем и SL2. При замыкании SL1 цепь управления семистора VS шунтируется. На управляющий электрод приходит нулевой сигнал, семистор закрывается, а катушка магнитного пускателя КМ 4 обесточивается. Повторное включение происходит после размыкания контактов датчиков уровня SL 1 и SL2. В этом случае на семистор VS поступает единичный сигнал, семистор открывается и запитывает катушку КМ 4, которая в свою очередь, замыкая контакты запитывает двигатель М3.
Включаем переключатель SA2 и запитываем АРЗ (автоматическое регулирование загрузки). Контакт АРЗ замыкается, напряжение подается на электромагнитную муфту УС, связанную с двигателем М 4. АРЗ получая сигнал с трансформатора тока ТА, установленного на одной из фаз, в силовой цепи двигателя М2. Подача зерна регулируется автоматически, в зависимости от силы тока потребляемого двигателем дробилки. При увеличении нагрузки (а следовательно и силы тока) АРЗ подает команду на двигатель М 4 который прикрывает заслонку, или на оборот при снижении силы тока (а следовательно и нагрузки) АРЗ подает команду на двигатель М 4 для открытия заслонки.
При значительных перегрузках АРЗ запитывает катушку промежуточного реле KV 2, контакт KV 2.1 размыкается и обесточивает электромагнитную муфту УС, при этом заслонка под действием пружины закрывается и перекрывает подачу зерна.
При значительном снижении нагрузки заслонка полностью открывается, при этом замыкается контакт конечного выключателя SQ 2 и включается звонок НА (при включенном переключателе SA3).
Отключается оборудование в обратном порядке.
4. Составление временной диаграммы работы схемы
Временная диаграмма нужна для показа последовательности включения и отключения оборудования.
Р
исунок 2. Временная диаграмма
В начальный момент времени включается сигнальная лампа HL, при замыкании рубильника SQ. Далее при нажатии кнопки SB 2 включается магнитный пускатель KM 1. Вслед за ним включается тепловое реле КК 1 и двигатель М 1, а также происходит подготовка к включению реле времени КТ. Далее при нажатии кнопки SB 4 включается реле времени КТ. Одновременно с ним включается магнитный пускатель КМ 2. Через 5-10 секунд реле времени перезамыкает свои контакты. В следствии этого выключается магнитный пускатель КМ 2 и включается магнитный пускатель КМ 3.
При включении магнитного пускателя КМ 2 запускается двигатель М2. А при перезамыкании контактов переключаются схемы включения со «звезды» на «треугольник».
Далее при нажатии кнопки SB 6 одновременно включаются промежуточное реле KV 1 и магнитный пускатель КМ 4. При включении магнитного пускателя КМ 4. Запускается двигатель М 3.
Спустя какой-то момент времени срабатывает датчик SL 1 и семистор VS закрывается. Отключая таким образом магнитный пускатель КМ 4 и двигатель М 3.
Через некоторое время датчик SL 2 открывает семистор VS и таким образом включаются магнитный пускатель КМ 4 и, следовательно, двигатель М 3.
В это время переключателем SA2 включаем АРЗ. При включении АРЗ включается электромагнитная муфта УС и двигатель М 4.
Через некоторое время на АРЗ приходит сигнал с трансформатора тока ТА и АРЗ включает промежуточное реле KV 2, которое включившись отключает муфту УС. Ещё через некоторое время на АРЗ снова приходит сигнал на основе которого отключается промежуточное реле KV 2 и включается электромагнитная муфта УС.
Некоторое время назад включаем переключатель SA 3, тем самым подготавливая в включению звонок НА. Через некоторое время на звонок НА приходит сигнал с конечного выключателя SQ 2. Включается звонок НА. Затем переключателем SA 3 выключаем звонок НА.
При закачивании работы выполняем действия в следующей последовательности:
Сначала переключателем SA 2 отключаем АРЗ, отключившись АРЗ отключает электромагнитную муфту УС и двигатель М 4.
Затем кнопкой SB 5 отключаем реле времени KV 1. Отключившись оно отключит магнитный пускатель КМ 4, который в свою очередь отключит двигатель М 3.
Затем кнопкой SB 3 одновременно отключаем реле времени КТ и магнитный пускатель КМ 3, который отключившись отключит двигатель М 2.
Затем кнопкой SB 1 отключаем пускатель КМ 1, который отключит одновременно тепловое реле КК 1 и двигатель М 1.
В конце рубильником QS одновременно отключаем сигнальную лампу HL, поножающий трансформатор TV и семистор VS.
5. Разработка функциональной схемы автоматизации
Функциональные структурные схемы отражают взаимодействие устройств, блоков, узлов и элементов автоматики в процессе их работы. Графически отдельные устройства автоматики изображаются прямоугольниками, соответствующими направлению прохождению сигнала. Внутренне содержание каждого блока не конкретизируют. Функциональное блоков обозначают буквенными символами. На пример: КЭ – командный элемент, ИЭ – исполнительный элемент и так далее.
Рис 3. Функциональная схема
Из рисунка 3 прослеживается логическая связь между всеми элементами схемы. А именно:
Сигнал с командного элемента QS идет на Защитные элементы QF1, QF2, FU1.
С защитного элемента QF2 сигнал разделяется и идет на объекты управления М1 и М3.
С защитного элемента QF1 сигнал разделяется и идет на объект управления М2, на командный элемент ТА и сигнальный элемент РА. На сигнальный элемент РА также воздействует командный элемент ТА. С командного элемента ТА сигнал идет на управляющий элемент АРЗ.
Характеристики
Тип файла документ
Документы такого типа открываются такими программами, как Microsoft Office Word на компьютерах Windows, Apple Pages на компьютерах Mac, Open Office - бесплатная альтернатива на различных платформах, в том числе Linux. Наиболее простым и современным решением будут Google документы, так как открываются онлайн без скачивания прямо в браузере на любой платформе. Существуют российские качественные аналоги, например от Яндекса.
Будьте внимательны на мобильных устройствах, так как там используются упрощённый функционал даже в официальном приложении от Microsoft, поэтому для просмотра скачивайте PDF-версию. А если нужно редактировать файл, то используйте оригинальный файл.
Файлы такого типа обычно разбиты на страницы, а текст может быть форматированным (жирный, курсив, выбор шрифта, таблицы и т.п.), а также в него можно добавлять изображения. Формат идеально подходит для рефератов, докладов и РПЗ курсовых проектов, которые необходимо распечатать. Кстати перед печатью также сохраняйте файл в PDF, так как принтер может начудить со шрифтами.














