151408 (621694), страница 3
Текст из файла (страница 3)
Для замедления нежелательных процессов диспергирования и коррозии сплавов, определяющих срок службы Ni-MH аккумуляторов, применяются (помимо оптимизации состава и режима производства сплава) два основных метода. Первый метод заключается в микрокапсулировании частиц сплава, т.е. в покрытии их поверхности тонким пористым слоем (5-10 %) - по массе никеля или меди. Второй метод, нашедший наиболее широкое применение в настоящее время, заключается в обработке поверхности частиц сплава в щелочных растворах с формированием защитных пленок, проницаемых для водорода.
Оксидно-никелевый электрод.
Оксидно-никелевые электроды в массовом производстве изготавливаются в следующих конструктивных модификациях: ламельные, безламельные спеченные (металлокерамические) и прессованные, включая таблеточные. В последние годы начинают использоваться безламельные войлочные и пенополимерные электроды.
Ламельные электроды представляют собой набор объединенных между собой перфорированных коробочек (ламелей), произведенных из тонкой (толщиной 0,1 мм) никелированной стальной ленты.
Спеченные (металлокерамические) электроды состоят из пористой (с пористостью не менее 70%) металлокерамической основы, в порах которой располагается активная масса. Основу изготовляют из карбонильного никелевого мелкодисперсного порошка, который в смеси с карбонатом аммония или карбамидом (60-65% никеля, остальное – наполнитель) напрессовывают, накатывают или напыляют на стальную или никелевую сетку. Затем сетку с порошком подвергают термообработке в восстановительной атмосфере (обычно в атмосфере водорода) при температуре 800–960°С, при этом карбонат аммония или карбамид разлагается и улетучивается, а никель спекается. Полученные таким образом основы имеют толщину 1-2,3 мм, пористость 80 – 85% и радиус пор 5 – 20 мкм. Основу поочередно пропитывают концентрированным раствором нитрата никеля или сульфата никеля и нагретым до 60–90°С раствором щелочи, которая побуждает осаждение оксидов и гидроксидов никеля.
В настоящее время используется также электрохимический метод пропитки, при котором электрод подвергается катодной обработке в растворе нитрата никеля. Из-за образования водорода раствор в порах пластины подщелачивается, что приводит к осаждению оксидов и гидроксидов никеля в порах пластины.
К разновидностям спеченных электродов причисляют фольговые электроды. Электроды производят нанесением на тонкую (0,05 мм) перфорированную никелевую ленту с двух сторон методом пульверизации, спиртовой эмульсии никелевого карбонильного порошка, содержащей связующие вещества, спеканием и дальнейшей химической или электрохимической пропиткой реагентами. Толщина электрода составляет 0,4-0,6 мм.
Прессованные электроды изготавливают методом напрессовки под давлением 35-60 МПа активной массы на сетку или стальную перфорированную ленту. Активная масса состоит из гидроксида никеля, гидроксида кобальта, графита и связующего вещества.
Металловойлочные электроды имеют высокопористую основу, сделанную из никелевых или углеродных волокон. Пористость этих основ - 95 % и более. Войлочный электрод выполнен на базе никелированного полимерного или углеграфитового фетра. Толщина электрода в зависимости от его предназначения находится в диапазоне 0,8 – 10 мм. Активная масса вносится в войлок разными методами в зависимости от его плотности.
Вместо войлока может использоваться пеноникель, получаемый никелированием пенополиуретана с последующим отжигом в восстановительной среде. В высокопористую среду вносятся обычно методом намазки паста, содержащая гидроксид никеля, и связующее. После этого основа с пастой сушится и вальцуется. Войлочные и пенополимерные электроды характеризуются высокой удельной емкостью и большим ресурсом.
6. Конструкция Ni-MH аккумуляторов
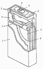
Ni-MH аккумуляторы цилиндрической формы. Положительный и отрицательный электроды, разделенные сепаратором, свернуты в виде рулона, который вставлен в корпус и закрыт герметизирующей крышкой с прокладкой (рисунок 5). Крышка имеет предохранительный клапан, срабатывающий при давлении 2-4 МПа в случае сбоя при эксплуатации аккумулятора.
Рисунок 5 - Конструкция никель-металлогидридного (Ni-MH) аккумулятора: 1-корпус; 2-крышка; 3-калпачок клапана; 4-клапан; 5-колектор положительного электрода; 6-изоляционное кольцо; 7-отрицательный электрод; 8-сепаротор; 9-положительный электрод; 10-изолятор.
В призматических Ni-MH аккумуляторах положительные и отрицательные электроды размещены поочередно, а между ними размещается сепаратор. Блок электродов вставлен в металлический или пластмассовый корпус и закрыт герметизирующей крышкой. На крышке, как правило, устанавливается клапан или датчик давления (рисунок 6).
Рисунок 6 - Конструкция Ni-MH аккумулятора: 1-корпус; 2-крышка; 3-калпачок клапана; 4-клапан; 5-изоляционная прокладка; 6-изолятор; 7-отрецательный электрод;, 8-сепаротор; 9-положительный электрод
В Ni-MH аккумуляторах используется щелочной электролит, состоящий из КОН с добавкой LiOH. В качестве сепаратора в Ni-MH аккумуляторах применяются нетканые полипропилен и полиамид толщиной 0,12-0,25 мм, обработанные смачивателем.
Положительный электрод. В Ni-MH аккумуляторах применяются положительные оксидно-никелевые электроды, аналогичные используемым в Ni-Cd аккумуляторах. В Ni-MH аккумуляторах в основном применяются металлокерамические, а в последние годы - войлочные и пенополимерные электроды.
Отрицательный электрод. Практическое применение в Ni-MH аккумуляторах нашли пять конструкций отрицательного металлогидридного электрода:
- ламельная, когда порошок водородабсорбирующего сплава со связующим веществом или без связующего, запрессован в никелевую сетку;
- пеноникелевая, когда паста со сплавом и связующим веществом вводится в поры пеноникелевой основы, а потом сушится и прессуется (вальцуется);
- фольговая, когда паста со сплавом и связующим веществом наносится на перфорированную никелевую или стальную никелированную фольгу, а потом сушится и прессуется;
- вальцованная, когда порошок активной массы, состоящей из сплава и связующего вещества, наносится вальцеванием (прокаткой) на растяжную никелевую решетку или медную сетку;
- спеченная, когда порошок сплава напрессовывается на никелевую сетку и после этого спекается в атмосфере водорода.
Удельные емкости металлогидридных электродов разных конструкций близки по значению и определяются, в основном, емкостью применяемого сплава.
7. Характеристики Ni-MH аккумуляторов
Электрические характеристики
Удельная емкость металлогидридных электродов составляет 0,24-0,3 А∙ч/г или 1,2-1,5 А∙ч/см3, что до 3 раз превышает удельную емкость кадмиевого электрода. В качестве водородабсорбирующего сплава используются титано-никелевые или сплавы с лантаном (LaNi5).
Удельная энергия НМ-аккумуляторов находится в пределах 50-60 Вт∙ч/кг или 100-200 Вт∙ч/л. Наработка большинства НМ-аккумуляторов при циклировании по стандартам МЭК (глубина разряда 60%) составляет 500-1000 циклов. Некоторыми фирмами достигнуты 2000-2500 циклов и срок службы 3-5 лет. Большинство НМ-аккумуляторов может эксплуатироваться в буферном режиме при заряде нормированным током 0,01–0,03С без ограничения времени.
Напряжение разомкнутой цепи. Значение напряжения разомкнутой цепи Uр.ц. Ni-MH-системы точно определить тяжело вследствие зависимости равновесного потенциала оксидно-никелевого электрода от степени окисленности никеля, а также зависимости равновесного потенциала металлогидридного электрода от степени насыщения его водородом. Тем не менее, при приблизительном значении потенциала 0,49 В для электрода Ni(OH)2 | NiOOH и при значении потенциала – 0,828 В для металлогидридного электрода, имеющего равновесное значение давления водорода 0,1 МПа, значение Uр.ц. составит 1,318 В. Снижение равновесного давления водорода в 10 раз приведет к увеличению теоретического потенциала электрода (и, таким образом, к снижению Uр.ц) только на 29 мВ. Для НМ-электрохимической системы принято номинальное напряжение 1,2 В. Через 24 часа после заряда аккумулятора, напряжение разомкнутой цепи заряженного Ni-MH аккумулятора находится в интервале 1,30-1,35 В.
Номинальное разрядное напряжение Uр при нормированном токе разряда Iр = 0,1-0,2
С (С - номинальная емкость аккумулятора) при 25°С составляет 1,2-1,25В, обычное конечное напряжение - 1В. Напряжение уменьшается с ростом нагрузки (рисунок 7)
Рисунок 7 - Разрядные характеристики Ni-MH аккумулятора при температуре 20°С и разных нормированных токах нагрузки: 1 - 0,2
С; 2 - 1
С; 3 - 2
С; 4 - 3
С
Емкость аккумуляторов. С повышением нагрузки (уменьшение времени разряда) и при понижении температуры емкость Ni-MH аккумулятора уменьшается (рисунок 8). Особенно заметно действие снижения температуры на емкость при больших скоростях разряда и при температурах ниже 0°С.
Рисунок 8 - Зависимость разрядной емкости Ni-MH аккумулятора от температуры при разных токах разряда: 1-0,2
С; 2-1
С; 3-3
С
Сохранность и срок службы Ni-MH аккумуляторов. При хранении происходит саморазряд Ni-MH аккумулятора. По прошествии месяца при комнатной температуре потеря емкости составляет 20 – 30%, а при дальнейшем хранении потери уменьшаются до 3 – 7% в месяц. Скорость саморазряда повышается при увеличении температуры (рисунок 9).
Рисунок 9 - Зависимость разрядной емкости Ni-MH аккумулятора от времени хранения при разных температурах: 1 – 0°С; 2 – 20°С; 3 – 40°С
КПД НМ-аккумуляторов. Для НМ-аккумуляторов КПД по напряжению
составляет 83 – 87%. КПД (отдача) по емкости
и по энергии
НМ-аккумуляторов зависит от скоростей протекания основной и побочной (выделения кислорода) реакций на оксидно-никелевом электроде. При зарядной емкости СЗ до 0,8 Сном скорость побочной реакции очень мала и
. При
и
.
Значения
,
,
для НМ-аккумуляторов близки, так как эти аккумуляторы имеют близкие напряжения
,
и в качестве положительного электрода в них используется оксидно-никелевый электрод (с одинаковой зависимостью скоростей протекания основной и побочной реакций от степени заряженности).
В последние годы ряд фирм начали выпуск мощных НМ-аккумуляторов цилиндрической и призматической форм емкостью 3,6 – 14 А∙ч для гибридных автомобилей. Эти аккумуляторы способны разряжаться нормированными токами более 20С. Батареи из таких аккумуляторов (до 240 аккумуляторов в батарее) имеют удельную мощность 0,9 – 1,1 кВт/кг. Характерные примеры: батарея фирмы Panasonic из 240 призматических аккумуляторов емкостью 6,5 А∙ч имеет мощность 1080 Вт/кг , батарея фирмы Makevell из цилиндрических аккумуляторов емкостью 3,4 А∙ч – 870 Вт/кг, батарея фирмы Varta 1100 Вт/кг при 20°С и 500 Вт/кг при -25°С. Срок службы батареи фирмы Varta составляет 2400 циклов при 100% глубине разряда, 5000 циклов – при 80%-ной, 78000 циклов – при 12%-ной, 255000 циклов – при 5%-ной и 360 000 циклов – при 4%-ной глубине разряда.















