151161 (621593), страница 4
Текст из файла (страница 4)
Итак, ваттметр показывает активную мощность, потребляемую из сети.
Ваттметр реактивной мощности. В этом ваттметре последовательно с подвижной катушкой специально включается индуктивное добавочное сопротивление хL такое, что
Пусть в цепи действует приложенное напряжение
и нагрузка z создаёт ток
.
Тогда мгновенное значение вращающего момента mвр равно
где ток
в подвижной катушке можно считать пропорциональным приложенному напряжению u, но отстающим от него по фазе на
:
.
После подстановки и преобразований получим:
Средне за период значение вращающего момента равно
.
Отсюда и следует, что ваттметр с индуктивным сопротивлением в цепи подвижной катушки показывает реактивную мощность цепи переменного тока. Такой вывод объясняется просто: в случае, например, чисто индуктивной нагрузки, когда из сети безвозвратно не потребляется энергия, такая схема искусственно сдвигает фазу тока в подвижной катушке до совпадения с фазой тока в неподвижной, поэтому ваттметр показывает значение реактивной мощности. Итак, у электродинамического ваттметра две катушки: одна — токовая, включаемая последовательно нагрузке, другая— катушка напряжения, включаемая параллельно нагрузке, потребляемую мощность которой необходимо измерить. Для правильного включения прибора (чтобы стрелка отклонялась в нужную сторону) один из зажимов его обмотки помечают звездочкой (*); эти зажимы ваттметра называют генераторными. Их следует подключать к тому зажиму нагрузки, который соединен с генератором (сетью).
ФЕРРОДИНАМИЧЕСКИЕ ПРИБОРЫ
Малое значение вращающего момента электродинамического прибора может быть значительно увеличено введением магнитной цепи из ферромагнитных материалов. Такие приборы получили 1азвание ферродинамических.
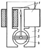
Ферродинамический прибор состоит из стального сердечника 2, т который насажена неподвижная катушка 7, состоящая из двух секций. В воздушном зазоре между сердечником и сталь-шм цилиндром 4 может вращаться подвижная катушка 3. Такой фибор очень похож на магнитоэлектрический, в котором роль по-:тоянного магнита выполняет катушка с током.Введение стального сердечника приводит к значительному повышению чувствительности и ослаблению влияния внешних магнитных полей, но вместе с этим появляются потери на гистерезис и вихревые токи, снижающие точность приборов. Ферродинамические приборы изготовляют классов точности 1,0 и 1,5.
К достоинствам ферродинамических приборов относятся:простота конструкции; способность выдерживать большие перегрузки; пригодность для постоянных и переменных токов. К недостаткам ферродинамических приборов относятся: малая чувствительность; неравномерная шкала. Приборы такого типа системы обозначаются следующим образом:
.
Логометры
Логометры — электроизмерительные приборы, у которых положение подвижной системы определяется отношением токов, протекающих по двум отдельным обмоткам.
Логометры могут быть разных систем. Наибольшее распространение получили логометры магнитоэлектрической, электродинамической и электромагнитной систем.
В отличие от обычных приборов, у логометров нет устройства для создания противодействующего момента. При отключенном приборе положение его подвижной системы безразлично, а при включенном приборе на подвижную систему действуют два противоположно направленных вращающих момента. Подвижная система поворачивается в сторону большого момента до тех пор, пока оба момента не сравняются.
В магнитоэлектрическом логометре (рис. 2-31) неподвижная часть состоит из постоянного магнита со стальными полюсными наконечниками и цилиндра из мягкой стали. Вокруг цилиндра могут поворачиваться две жестко связанные между собой рамки, укрепленные на оси со стрелкой. Токи в рамках создают два противоположно направленных вращающих момента. Магнитное поле в воздушном зазоре специально делают неоднородным (нерадиальным). Это можно достигнуть если полюсным наконечникам придать специальную форму. В этом случае вращающие моменты оказываются зависимыми от положения подвижной системы. При повороте подвижной системы в сторону большого момента момент одной рамки возрастает, в то время как момент другой рамки уменьшается. Поэтому поворот происходит до тех пор, пока моменты не окажутся равными при данном соотношении токов в рамках. Причем при одновременном и одинаковом изменении токов в рамках точно так же изменяются и вращающие моменты, оставаясь по-прежнему равными. Следовательно, положение подвижной системы логометра не зависит от абсолютных значений токов в рамках, а определяется отношением токов в них.
Магнитоэлектрические логометры часто используют как омметры и мегомметры для непосредственного измерения сопротивлений. В логометрах электродинамической и ферродинамической систем происходит взаимодействие токов в рамках с полем неподвижной катушки. Если логометры работают в цепях переменного тока, то положение подвижной системы определяется не только отношением токов в подвижных катушках, но и отношением сдвигов фаз между этими токами и током неподвижной катушки. Это позволяет использовать логометры электродинамической и ферродинамической систем в качестве фазометров, частотометров и т. д. Логометры получили широкое практическое применение как щитовые, переносные и регистрирующие приборы.
ТЕРМОЭЛЕКТРИЧЕСКИЕ ПРИБОРЫ
Термоэлектрический прибор — это совокупность термопары с подогревателем и магнитоэлектрического измерителя (индикатора). Такие приборы предназначены для измерения слабых переменных токов. Измеряемый ток проходит через подогреватель П и нагревает его. К подогревателю прикреплен или находится вблизи него спай термопары Т. ЭДС термопары создает ток, проходящий через магнитоэлектрический измеритель (прибор). Таким образом, показания термоэлектрического прибора пропорциональны мощности, расходуемой на нагревание подогревателя (т. е. действующему значению квадрата тока в нем). Стало быть, шкала такого прибора почти квадратична. Условное обозначение прибора:
. В наиболее точных приборах (до 100 — 150 мА) для ограничения потерь тепла подогреватель вместе с термопарой помещают в вакуумный стеклянный баллон. Это значительно повышает чувствительность термоэлемента.
ДЕТЕКТОРНЫЕ ПРИБОРЫ
Детекторные приборы — это совокупность выпрямителя, называемого детектором, и магнитоэлектрического измерителя. Такое сочетание вызвано необходимостью измерений малых токов и напряжений переменного тока. Приборами наиболее высокой чувствительности и точности являются магнитоэлектрические приборы, но они непригодны для переменных токов, поэтому измеряемые переменные ток или напряжение выпрямляются с помощью специального выпрямителя, а затем измеряются магнитоэлектрическим прибором. Возможные схемы измерителей совместно с детекторами приведены на следующих рисунках:
Схему с однополупериодным выпрямлением (рис. а) применяют только для вольтметров, так как последовательное включение детектора с нагрузкой значительно изменяет сопротивление цепи и проводит ток только в одну сторону. Схема, изображенная на рисунке б, не нарушает режима цепи, так как ток при обоих направлениях проходит равные сопротивления измерителя и резистора, поэтому по такой схеме можно включать и вольтметры, и амперметры. Однако применение однополупериод-ных схем снижает значение вращающего момента. Наибольшее распространение получила мостовая схема с двухполупериодным выпрямителем (рис. в). Если подобрать здесь все четыре детектора одинаковыми, то сопротивления переменному току по обоим направлениям будут также одинаковыми. Через прибор проходит ток в обе половины периода в одном направлении, вдвое увеличивая значение вращающего момента. Детекторные приборы широко применяют для измерений переменных токов и напряжений и часто используют в комбинированных приборах — авометрах (ампервольтомметрах). В отличие от приборов переменного тока всех других систем детекторные приборы измеряют среднее, а не действующее значение переменного тока и напряжения. Градуируют шкалы этих приборов в действующих значениях, поэтому детекторные приборы не пригодны для измерений в цепях несинусоидальных токов.
















